首页 > 器件类别 > 存储 > 存储
 PDF数据手册

MD51V64405-50TA

描述:
EDO DRAM, 16MX4, 50ns, CMOS, PDSO32
分类:
存储    存储   
文件大小:
619KB,共15页
制造商:
概述
EDO DRAM, 16MX4, 50ns, CMOS, PDSO32
器件参数
参数名称
属性值
是否Rohs认证
不符合
厂商名称
LAPIS Semiconductor Co Ltd
包装说明
TSOP, TSOP32,.46
Reach Compliance Code
unknown
最长访问时间
50 ns
I/O 类型
COMMON
JESD-30 代码
R-PDSO-G32
JESD-609代码
e0
内存密度
67108864 bit
内存集成电路类型
EDO DRAM
内存宽度
4
端子数量
32
字数
16777216 words
字数代码
16000000
最高工作温度
70 °C
最低工作温度
组织
16MX4
输出特性
3-STATE
封装主体材料
PLASTIC/EPOXY
封装代码
TSOP
封装等效代码
TSOP32,.46
封装形状
RECTANGULAR
封装形式
SMALL OUTLINE, THIN PROFILE
电源
3.3 V
认证状态
Not Qualified
刷新周期
8192
自我刷新
NO
最大待机电流
0.0005 A
最大压摆率
0.14 mA
标称供电电压 (Vsup)
3.3 V
表面贴装
YES
技术
CMOS
温度等级
COMMERCIAL
端子面层
Tin/Lead (Sn/Pb)
端子形式
GULL WING
端子节距
1.27 mm
端子位置
DUAL
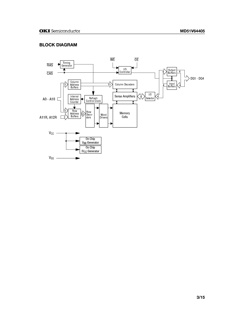
文档预览
参数对比
与MD51V64405-50TA相近的元器件有:MD51V64405-50JA、MD51V64405-60TA。描述及对比如下:
型号 MD51V64405-50TA MD51V64405-50JA MD51V64405-60TA
描述 EDO DRAM, 16MX4, 50ns, CMOS, PDSO32 EDO DRAM, 16MX4, 50ns, CMOS, PDSO32 EDO DRAM, 16MX4, 60ns, CMOS, PDSO32
是否Rohs认证 不符合 不符合 不符合
包装说明 TSOP, TSOP32,.46 SOJ, SOJ32,.44 TSOP, TSOP32,.46
Reach Compliance Code unknown unknown unknow
最长访问时间 50 ns 50 ns 60 ns
I/O 类型 COMMON COMMON COMMON
JESD-30 代码 R-PDSO-G32 R-PDSO-J32 R-PDSO-G32
JESD-609代码 e0 e0 e0
内存密度 67108864 bit 67108864 bit 67108864 bi
内存集成电路类型 EDO DRAM EDO DRAM EDO DRAM
内存宽度 4 4 4
端子数量 32 32 32
字数 16777216 words 16777216 words 16777216 words
字数代码 16000000 16000000 16000000
最高工作温度 70 °C 70 °C 70 °C
组织 16MX4 16MX4 16MX4
输出特性 3-STATE 3-STATE 3-STATE
封装主体材料 PLASTIC/EPOXY PLASTIC/EPOXY PLASTIC/EPOXY
封装代码 TSOP SOJ TSOP
封装等效代码 TSOP32,.46 SOJ32,.44 TSOP32,.46
封装形状 RECTANGULAR RECTANGULAR RECTANGULAR
封装形式 SMALL OUTLINE, THIN PROFILE SMALL OUTLINE SMALL OUTLINE, THIN PROFILE
电源 3.3 V 3.3 V 3.3 V
认证状态 Not Qualified Not Qualified Not Qualified
刷新周期 8192 8192 8192
自我刷新 NO NO NO
最大待机电流 0.0005 A 0.0005 A 0.0005 A
最大压摆率 0.14 mA 0.14 mA 0.12 mA
标称供电电压 (Vsup) 3.3 V 3.3 V 3.3 V
表面贴装 YES YES YES
技术 CMOS CMOS CMOS
温度等级 COMMERCIAL COMMERCIAL COMMERCIAL
端子面层 Tin/Lead (Sn/Pb) Tin/Lead (Sn/Pb) Tin/Lead (Sn/Pb)
端子形式 GULL WING J BEND GULL WING
端子节距 1.27 mm 1.27 mm 1.27 mm
端子位置 DUAL DUAL DUAL
厂商名称 LAPIS Semiconductor Co Ltd - LAPIS Semiconductor Co Ltd
热门器件
热门资源推荐
器件捷径:
L0 L1 L2 L3 L4 L5 L6 L7 L8 L9 LA LB LC LD LE LF LG LH LI LJ LK LL LM LN LO LP LQ LR LS LT LU LV LW LX LY LZ M0 M1 M2 M3 M4 M5 M6 M7 M8 M9 MA MB MC MD ME MF MG MH MI MJ MK ML MM MN MO MP MQ MR MS MT MU MV MW MX MY MZ N0 N1 N2 N3 N4 N5 N6 N7 N8 NA NB NC ND NE NF NG NH NI NJ NK NL NM NN NO NP NQ NR NS NT NU NV NX NZ O0 O1 O2 O3 OA OB OC OD OE OF OG OH OI OJ OK OL OM ON OP OQ OR OS OT OV OX OY OZ P0 P1 P2 P3 P4 P5 P6 P7 P8 P9 PA PB PC PD PE PF PG PH PI PJ PK PL PM PN PO PP PQ PR PS PT PU PV PW PX PY PZ Q1 Q2 Q3 Q4 Q5 Q6 Q8 Q9 QA QB QC QE QF QG QH QK QL QM QP QR QS QT QV QW QX QY R0 R1 R2 R3 R4 R5 R6 R7 R8 R9 RA RB RC RD RE RF RG RH RI RJ RK RL RM RN RO RP RQ RR RS RT RU RV RW RX RY RZ
索引文件:
1527  400  2851  1361  2458  31  9  58  28  50 
需要登录后才可以下载。
登录取消
下载 PDF 文件