首页 > 器件类别 > 存储 > 存储

MSC23V46407TD-60BS16

描述:
Fast Page DRAM Module, 4MX64, 60ns, CMOS, PDMA168
分类:
存储    存储   
文件大小:
57KB,共10页
制造商:
概述
Fast Page DRAM Module, 4MX64, 60ns, CMOS, PDMA168
器件参数
参数名称
属性值
厂商名称
LAPIS Semiconductor Co Ltd
包装说明
DIMM, DIMM168
Reach Compliance Code
unknown
最长访问时间
60 ns
I/O 类型
COMMON
JESD-30 代码
R-PDMA-N168
内存密度
268435456 bit
内存集成电路类型
FAST PAGE DRAM MODULE
内存宽度
64
端子数量
168
字数
4194304 words
字数代码
4000000
最高工作温度
70 °C
最低工作温度
组织
4MX64
输出特性
3-STATE
封装主体材料
PLASTIC/EPOXY
封装代码
DIMM
封装等效代码
DIMM168
封装形状
RECTANGULAR
封装形式
MICROELECTRONIC ASSEMBLY
电源
3.3 V
认证状态
Not Qualified
刷新周期
2048
最大待机电流
0.008 A
最大压摆率
1.6 mA
标称供电电压 (Vsup)
3.3 V
表面贴装
NO
技术
CMOS
温度等级
COMMERCIAL
端子形式
NO LEAD
端子节距
1.27 mm
端子位置
DUAL
文档预览
This version: Apr.26. 1999
Semiconductor
MSC23V46407TD-xxBS16
4,194,304-Word x 64-Bit DYNAMIC RAM MODULE : FAST PAGE MODE TYPE
DESCRIPTION
The MSC23V46407TD-xxBS16 is a 4,194,304-word x 64-bit CMOS dynamic random access memory module which
is composed of sixteen 16Mb(4Mx4) DRAMs in TSOP packages mounted with sixteen decoupling capacitors. This
is an 168-pin dual in-line memory module. This module supports any application where high density and large
capacity of storage memory are required.
FEATURES
· 4,194,304-word x 64-bit organization
· 168-pin Dual In-line Memory Module
· Gold tab
· Single 3.3V power supply, ±0.3V tolerance
· Input
: LVTTL compatible
· Output
: LVTTL compatible, 3-state
· Refresh : 2048cycles/ 32ms
· /CAS before /RAS refresh, hidden refresh, /RAS only refresh capability
· Fast page mode, read modify write capability
· Multi-bit test mode capability
· Serial Presence Detect
PRODUCT FAMILY
Access Time (Max.)
t
RAC
MSC23V46407TD-50BS16
MSC23V46407TD-60BS16
MSC23V46407TD-70BS16
50ns
60ns
70ns
t
AA
25ns
30ns
35ns
t
CAC
13ns
15ns
20ns
t
OEA
13ns
15ns
20ns
Cycle
Time
(Min.)
90ns
110ns
130ns
Power Dissipation (Max.)
Operating
5760mW
5184mW
4608mW
28.8mW
Standby
Family
Semiconductor
MSC23V46407TD
MODULE OUTLINE
MSC23V46407TD-xxBS16
(Unit : mm)
133.35±0.7
*1
131.35 TYP
2 - R2.0
25.40±0.12
17.78±0.1
3.0±0.1
4.00Max.
2 -
φ3.0±0.1
A
1
11.43±0.05
36.83±0.05
127.35±0.1
133.35±0.12
54.61±0.05
B
C
84
4.0Min.
1.27±0.1
R1.0
4.175±0.13
3.175±0.13
R1.0
1.0±0.03
0.25 MAX
1.27±0.03
Detail C
3.12±0.1
3.12±0.1
2.0±0.1
6.35±0.05
Detail A
2.0±0.1
6.35±0.05
Detail B
Note:
1. Tolerance over 19.78mm from bottom edge is ±0.7.
2.54 MIN
Semiconductor
MSC23V46407TD
PIN CONFIGURATION
Front Side
Pin No.
1
2
3
4
5
6
7
8
9
10
11
12
13
14
15
16
17
18
19
20
21
22
23
24
25
26
27
28
29
30
31
32
33
34
35
36
37
38
39
40
41
42
Pin Name
V
SS
DQ0
DQ1
DQ2
DQ3
V
CC
DQ4
DQ5
DQ6
DQ7
DQ8
V
SS
DQ9
DQ10
DQ11
DQ12
DQ13
V
CC
DQ14
DQ15
NC
NC
V
SS
NC
NC
V
CC
/WE0
/CAS0
/CAS1
/RAS0
/OE0
V
SS
A0
A2
A4
A6
A8
A10
NC
V
CC
V
CC
NC
Back Side
Pin No.
85
86
87
88
89
90
91
92
93
94
95
96
97
98
99
100
101
102
103
104
105
106
107
108
109
110
111
112
113
114
115
116
117
118
119
120
121
122
123
124
125
126
Pin Name
V
SS
DQ32
DQ33
DQ34
DQ35
V
CC
DQ36
DQ37
DQ38
DQ39
DQ40
V
SS
DQ41
DQ42
DQ43
DQ44
DQ45
V
CC
DQ46
DQ47
NC
NC
V
SS
NC
NC
V
CC
NC
/CAS4
/CAS5
NC
NC
V
SS
A1
A3
A5
A7
A9
NC
NC
V
CC
NC
NC
Front Side
Pin No.
43
44
45
46
47
48
49
50
51
52
53
54
55
56
57
58
59
60
61
62
63
64
65
66
67
68
69
70
71
72
73
74
75
76
77
78
79
80
81
82
83
84
Pin Name
V
SS
/OE2
/RAS2
/CAS2
/CAS3
/WE2
V
CC
NC
NC
NC
NC
V
SS
DQ16
DQ17
DQ18
DQ19
V
CC
DQ20
NC
NC
NC
V
SS
DQ21
DQ22
DQ23
V
SS
DQ24
DQ25
DQ26
DQ27
V
CC
DQ28
DQ29
DQ30
DQ31
V
SS
NC
NC
NC
SDA
SCL
V
CC
Back Side
Pin No.
127
128
129
130
131
132
133
134
135
136
137
138
139
140
141
142
143
144
145
146
147
148
149
150
151
152
153
154
155
156
157
158
159
160
161
162
163
164
165
166
167
168
Pin Name
V
SS
NC
NC
/CAS6
/CAS7
NC
V
CC
NC
NC
NC
NC
V
SS
DQ48
DQ49
DQ50
DQ51
V
CC
DQ52
NC
NC
NC
V
SS
DQ53
DQ54
DQ55
V
SS
DQ56
DQ57
DQ58
DQ59
V
CC
DQ60
DQ61
DQ62
DQ63
V
SS
NC
NC
SA0
SA1
SA2
V
CC
Semiconductor
MSC23V46407TD
Serial PD Matrix
SPD Value
(Hex)
80
08
01
0B
0B
01
40
00
01
32
/RAS Access Time
3C
46
0D
/CAS Access Time
0F
14
DIMM Configuration type
Refresh Rate/Type
Primary DRAM Width
Error Checking DRAM Width
Superset Information
SPD Data Revision Code
-50
63
-60
-70
64-127
128-255
Reserved
Unused Storage Location (Reserved)
Checksum for Byte 0-62
00
00
04
00
00
01
25
31
40
00
FF
Reserved
1
128 Bytes
256 Bytes
Fast Page
11
11
1
64
0
LVTTL
50ns
60ns
70ns
13ns
15ns
20ns
Non-Parity
Normal Refresh
x4
Byte No.
0
1
2
3
4
5
6
7
8
-50
9
-60
-70
-50
10
-60
-70
11
12
13
14
15-61
62
Function described
Number of Byte used
Total SPD Memory size
Memory type
Number of Rows
Number of Columns
Number of Banks
Module Data Width
Module Data Width Continued
Supply Voltage
Note
Semiconductor
MSC23V46407TD
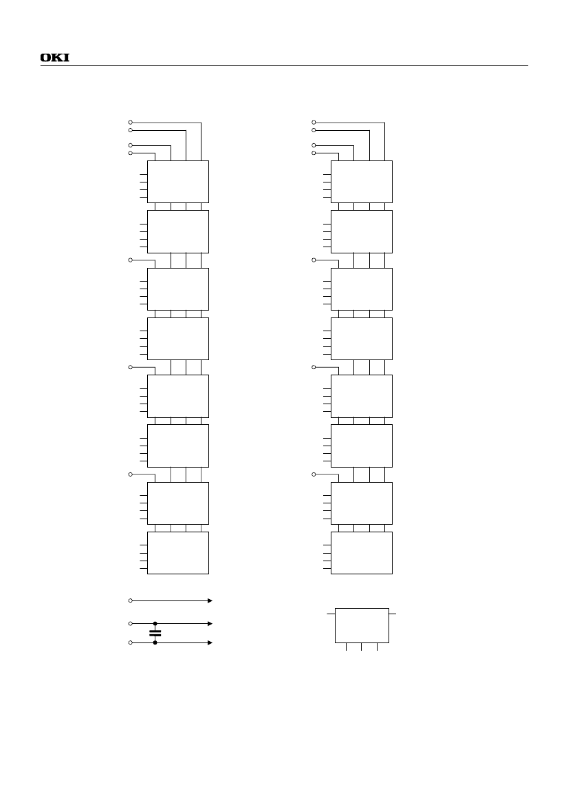
BLOCK DIAGRAM
/OE0
/WE0
/RAS0
/CAS0
DQ0
DQ1
DQ2
DQ3
DQ4
DQ5
DQ6
DQ7
/CAS1
DQ8
DQ9
DQ10
DQ11
/CAS /RAS /WE /OE
DQ
DQ
D2
DQ
DQ
/CAS /RAS /WE /OE
DQ
DQ
D3
DQ
DQ
/CAS /RAS /WE /OE
DQ
DQ
D0
DQ
DQ
/CAS /RAS /WE /OE
DQ
DQ
D1
DQ
DQ
/OE2
/WE2
/RAS2
/CAS4
DQ32
DQ33
DQ34
DQ35
DQ36
DQ37
DQ38
DQ39
/CAS5
DQ40
DQ41
DQ42
DQ43
/CAS /RAS /WE /OE
DQ
DQ
D10
DQ
DQ
/CAS /RAS /WE /OE
DQ
DQ
D11
DQ
DQ
/CAS /RAS /WE /OE
DQ
DQ
D8
DQ
DQ
/CAS /RAS /WE /OE
DQ
DQ
D9
DQ
DQ
DQ12
DQ13
DQ14
DQ15
/CAS2
DQ16
DQ17
DQ18
DQ19
DQ44
DQ45
DQ46
DQ47
/CAS6
/CAS /RAS /WE /OE
DQ
DQ
D4
DQ
DQ
/CAS /RAS /WE /OE
DQ
DQ
D5
DQ
DQ
/CAS /RAS /WE /OE
DQ
DQ
D6
DQ
DQ
/CAS /RAS /WE /OE
DQ
DQ
D7
DQ
DQ
DQ48
DQ49
DQ50
DQ51
/CAS /RAS /WE /OE
DQ
DQ
D12
DQ
DQ
/CAS /RAS /WE /OE
DQ
DQ
D13
DQ
DQ
/CAS /RAS /WE /OE
DQ
DQ
D14
DQ
DQ
/CAS /RAS /WE /OE
DQ
DQ
D15
DQ
DQ
DQ20
DQ21
DQ22
DQ23
/CAS3
DQ24
DQ25
DQ26
DQ27
DQ28
DQ29
DQ30
DQ31
DQ52
DQ53
DQ54
DQ55
/CAS7
DQ56
DQ57
DQ58
DQ59
DQ60
DQ61
DQ62
DQ63
A0-A10
V
CC
V
SS
C1-C16
A0-A10 : D0-D15
SCL
D0-D15
D0-D15
Serial PD
SCL
SDA
A0 A1 A2
SA0 SA1 SA2
SDA
参数对比
与MSC23V46407TD-60BS16相近的元器件有:MSC23V46407TD-50BS16、MSC23V46407TD-70BS16。描述及对比如下:
型号 MSC23V46407TD-60BS16 MSC23V46407TD-50BS16 MSC23V46407TD-70BS16
描述 Fast Page DRAM Module, 4MX64, 60ns, CMOS, PDMA168 Fast Page DRAM Module, 4MX64, 50ns, CMOS, PDMA168 Fast Page DRAM Module, 4MX64, 70ns, CMOS, PDMA168
厂商名称 LAPIS Semiconductor Co Ltd LAPIS Semiconductor Co Ltd LAPIS Semiconductor Co Ltd
包装说明 DIMM, DIMM168 DIMM, DIMM168 DIMM, DIMM168
Reach Compliance Code unknown unknown unknown
最长访问时间 60 ns 50 ns 70 ns
I/O 类型 COMMON COMMON COMMON
JESD-30 代码 R-PDMA-N168 R-PDMA-N168 R-PDMA-N168
内存密度 268435456 bit 268435456 bit 268435456 bit
内存集成电路类型 FAST PAGE DRAM MODULE FAST PAGE DRAM MODULE FAST PAGE DRAM MODULE
内存宽度 64 64 64
端子数量 168 168 168
字数 4194304 words 4194304 words 4194304 words
字数代码 4000000 4000000 4000000
最高工作温度 70 °C 70 °C 70 °C
组织 4MX64 4MX64 4MX64
输出特性 3-STATE 3-STATE 3-STATE
封装主体材料 PLASTIC/EPOXY PLASTIC/EPOXY PLASTIC/EPOXY
封装代码 DIMM DIMM DIMM
封装等效代码 DIMM168 DIMM168 DIMM168
封装形状 RECTANGULAR RECTANGULAR RECTANGULAR
封装形式 MICROELECTRONIC ASSEMBLY MICROELECTRONIC ASSEMBLY MICROELECTRONIC ASSEMBLY
电源 3.3 V 3.3 V 3.3 V
认证状态 Not Qualified Not Qualified Not Qualified
刷新周期 2048 2048 2048
最大待机电流 0.008 A 0.008 A 0.008 A
最大压摆率 1.6 mA 1.6 mA 1.6 mA
标称供电电压 (Vsup) 3.3 V 3.3 V 3.3 V
表面贴装 NO NO NO
技术 CMOS CMOS CMOS
温度等级 COMMERCIAL COMMERCIAL COMMERCIAL
端子形式 NO LEAD NO LEAD NO LEAD
端子节距 1.27 mm 1.27 mm 1.27 mm
端子位置 DUAL DUAL DUAL
各种视频信号格式及端子介绍
本刊读者都是有一定电子基础的,视频信号是我们接触最多的显示信号,但您并不一定对各种视频信号有所了解...
fighting 嵌入式系统
普源DS1102Z-E双通道示波器全拆解,看一看里面使用了哪些芯片
今天拆解一下我去年买的普源DS1102Z-E示波器,双通道,100Mhz带宽,1G采样率。 当...
Wendydeee 以拆会友
【2024 DigiKey 创意大赛】物料开箱
等了很久快递终于到了。 东西是真的很精致,使用塑料盒装着。 openmv排针没焊,我把它焊上了...
奇迹12 DigiKey得捷技术专区
一次实现Matter、Wi-Fi 7和UWB自由
新年伊始,无线通信界已经大动作不断。三星官宣要实现 Matter自由 ;CES2024,亚马逊将M...
okhxyyo 无线连接
PCB电路中的电源完整性设计
本帖最后由 x2233445566 于 2024-7-4 13:53 编辑 楼主收集了些电源...
x2233445566 电源技术
「星闪体验教程」1、如何添加自己的应用工程
前言 我也是第一次接触海思这种SDK,并不熟悉对应的构建系统,只是照着其他例子的配置,借鉴一下小...
walker2048 无线连接
热门器件
热门资源推荐
器件捷径:
A0 A1 A2 A3 A4 A5 A6 A7 A8 A9 AA AB AC AD AE AF AG AH AI AJ AK AL AM AN AO AP AQ AR AS AT AU AV AW AX AY AZ B0 B1 B2 B3 B4 B5 B6 B7 B8 B9 BA BB BC BD BE BF BG BH BI BJ BK BL BM BN BO BP BQ BR BS BT BU BV BW BX BY BZ C0 C1 C2 C3 C4 C5 C6 C7 C8 C9 CA CB CC CD CE CF CG CH CI CJ CK CL CM CN CO CP CQ CR CS CT CU CV CW CX CY CZ D0 D1 D2 D3 D4 D5 D6 D7 D8 D9 DA DB DC DD DE DF DG DH DI DJ DK DL DM DN DO DP DQ DR DS DT DU DV DW DX DZ
索引文件:
480  2749  2285  294  913  10  56  46  6  19 
需要登录后才可以下载。
登录取消
下载 PDF 文件