首页 > 器件类别 > 存储 > 存储
 PDF数据手册

MSC23V46457TD-60BS16

描述:
EDO DRAM Module, 4MX64, 60ns, CMOS, PDMA168
分类:
存储    存储   
文件大小:
58KB,共10页
制造商:
概述
EDO DRAM Module, 4MX64, 60ns, CMOS, PDMA168
器件参数
参数名称
属性值
厂商名称
LAPIS Semiconductor Co Ltd
包装说明
DIMM, DIMM168
Reach Compliance Code
unknow
ECCN代码
EAR99
最长访问时间
60 ns
I/O 类型
COMMON
JESD-30 代码
R-PDMA-N168
内存密度
268435456 bi
内存集成电路类型
EDO DRAM MODULE
内存宽度
64
端子数量
168
字数
4194304 words
字数代码
4000000
最高工作温度
70 °C
最低工作温度
组织
4MX64
输出特性
3-STATE
封装主体材料
PLASTIC/EPOXY
封装代码
DIMM
封装等效代码
DIMM168
封装形状
RECTANGULAR
封装形式
MICROELECTRONIC ASSEMBLY
电源
3.3 V
认证状态
Not Qualified
刷新周期
2048
座面最大高度
25.4 mm
自我刷新
NO
最大待机电流
0.008 A
最大压摆率
1.44 mA
标称供电电压 (Vsup)
3.3 V
表面贴装
NO
技术
CMOS
温度等级
COMMERCIAL
端子形式
NO LEAD
端子节距
1.27 mm
端子位置
DUAL
文档预览
This version: Apr.22. 1999
Semiconductor
MSC23V46457TD-xxBS16
4,194,304-Word x 64-Bit DYNAMIC RAM MODULE : FAST PAGE MODE TYPE WITH EDO
DESCRIPTION
The MSC23V46457TD-xxBS16 is a 4,194,304-word x 64-bit CMOS dynamic random access memory module which
is composed of sixteen 16Mb(4Mx4) DRAMs in TSOP packages mounted with sixteen decoupling capacitors. This
is an 168-pin dual in-line memory module. This module supports any application where high density and large
capacity of storage memory are required.
FEATURES
· 4,194,304-word x 64-bit organization
· 168-pin Dual In-line Memory Module
· Gold tab
· Single 3.3V power supply, ±0.3V tolerance
· Input
: LVTTL compatible
· Output
: LVTTL compatible, 3-state
· Refresh : 2048cycles/ 32ms
· /CAS before /RAS refresh, hidden refresh, /RAS only refresh capability
· Fast page mode with EDO, read modify write capability
· Multi-bit test mode capability
· Serial Presence Detect
PRODUCT FAMILY
Access Time (Max.)
t
RAC
MSC23V46457TD-50BS16
MSC23V46457TD-60BS16
MSC23V46457TD-70BS16
50ns
60ns
70ns
t
AA
25ns
30ns
35ns
t
CAC
13ns
15ns
20ns
t
OEA
13ns
15ns
20ns
Cycle
Time
(Min.)
84ns
104ns
124ns
Power Dissipation (Max.)
Operating
5760mW
5184mW
4608mW
28.8mW
Standby
Family
Semiconductor
MSC23V46457TD
MODULE OUTLINE
MSC23V46457TD-xxBS16
(Unit : mm)
133.35±0.7
*1
131.35 TYP
2 - R2.0
25.40±0.12
17.78±0.1
3.0±0.1
4.00Max.
2 -
φ3.0±0.1
A
1
11.43±0.05
36.83±0.05
127.35±0.1
133.35±0.12
54.61±0.05
B
C
84
4.0Min.
1.27±0.1
R1.0
4.175±0.13
3.175±0.13
R1.0
1.0±0.03
0.25 MAX
1.27±0.03
Detail C
3.12±0.1
3.12±0.1
2.0±0.1
6.35±0.05
Detail A
2.0±0.1
6.35±0.05
Detail B
Note:
1. Tolerance over 19.78mm from bottom edge is ±0.7.
2.54 MIN
Semiconductor
MSC23V46457TD
PIN CONFIGURATION
Front Side
Pin No.
1
2
3
4
5
6
7
8
9
10
11
12
13
14
15
16
17
18
19
20
21
22
23
24
25
26
27
28
29
30
31
32
33
34
35
36
37
38
39
40
41
42
Pin Name
V
SS
DQ0
DQ1
DQ2
DQ3
V
CC
DQ4
DQ5
DQ6
DQ7
DQ8
V
SS
DQ9
DQ10
DQ11
DQ12
DQ13
V
CC
DQ14
DQ15
NC
NC
V
SS
NC
NC
V
CC
/WE0
/CAS0
/CAS1
/RAS0
/OE0
V
SS
A0
A2
A4
A6
A8
A10
NC
V
CC
V
CC
NC
Back Side
Pin No.
85
86
87
88
89
90
91
92
93
94
95
96
97
98
99
100
101
102
103
104
105
106
107
108
109
110
111
112
113
114
115
116
117
118
119
120
121
122
123
124
125
126
Pin Name
V
SS
DQ32
DQ33
DQ34
DQ35
V
CC
DQ36
DQ37
DQ38
DQ39
DQ40
V
SS
DQ41
DQ42
DQ43
DQ44
DQ45
V
CC
DQ46
DQ47
NC
NC
V
SS
NC
NC
V
CC
NC
/CAS4
/CAS5
NC
NC
V
SS
A1
A3
A5
A7
A9
NC
NC
V
CC
NC
NC
Front Side
Pin No.
43
44
45
46
47
48
49
50
51
52
53
54
55
56
57
58
59
60
61
62
63
64
65
66
67
68
69
70
71
72
73
74
75
76
77
78
79
80
81
82
83
84
Pin Name
V
SS
/OE2
/RAS2
/CAS2
/CAS3
/WE2
V
CC
NC
NC
NC
NC
V
SS
DQ16
DQ17
DQ18
DQ19
V
CC
DQ20
NC
NC
NC
V
SS
DQ21
DQ22
DQ23
V
SS
DQ24
DQ25
DQ26
DQ27
V
CC
DQ28
DQ29
DQ30
DQ31
V
SS
NC
NC
NC
SDA
SCL
V
CC
Back Side
Pin No.
127
128
129
130
131
132
133
134
135
136
137
138
139
140
141
142
143
144
145
146
147
148
149
150
151
152
153
154
155
156
157
158
159
160
161
162
163
164
165
166
167
168
Pin Name
V
SS
NC
NC
/CAS6
/CAS7
NC
V
CC
NC
NC
NC
NC
V
SS
DQ48
DQ49
DQ50
DQ51
V
CC
DQ52
NC
NC
NC
V
SS
DQ53
DQ54
DQ55
V
SS
DQ56
DQ57
DQ58
DQ59
V
CC
DQ60
DQ61
DQ62
DQ63
V
SS
NC
NC
SA0
SA1
SA2
V
CC
Semiconductor
MSC23V46457TD
Serial PD Matrix
SPD Value
(Hex)
80
08
02
0B
0B
01
40
00
01
32
/RAS Access Time
3C
46
0D
/CAS Access Time
0F
14
DIMM Configuration type
Refresh Rate/Type
Primary DRAM Width
Error Checking DRAM Width
Superset Information
SPD Data Revision Code
-50
63
-60
-70
64-127
128-255
Reserved
Unused Storage Location (Reserved)
Checksum for Byte 0-62
00
00
04
00
00
01
26
32
41
00
FF
Reserved
1
128 Bytes
256 Bytes
EDO
11
11
1
64
0
LVTTL
50ns
60ns
70ns
13ns
15ns
20ns
Non-Parity
Normal Refresh
x4
Byte No.
0
1
2
3
4
5
6
7
8
-50
9
-60
-70
-50
10
-60
-70
11
12
13
14
15-61
62
Function described
Number of Byte used
Total SPD Memory size
Memory type
Number of Rows
Number of Columns
Number of Banks
Module Data Width
Module Data Width Continued
Supply Voltage
Note
Semiconductor
MSC23V46457TD
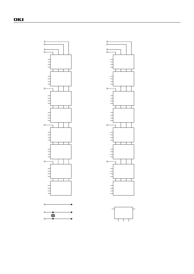
BLOCK DIAGRAM
/OE0
/WE0
/RAS0
/CAS0
DQ0
DQ1
DQ2
DQ3
DQ4
DQ5
DQ6
DQ7
/CAS1
DQ8
DQ9
DQ10
DQ11
/CAS /RAS /WE /OE
DQ
DQ
D2
DQ
DQ
/CAS /RAS /WE /OE
DQ
DQ
D3
DQ
DQ
/CAS /RAS /WE /OE
DQ
DQ
D0
DQ
DQ
/CAS /RAS /WE /OE
DQ
DQ
D1
DQ
DQ
/OE2
/WE2
/RAS2
/CAS4
DQ32
DQ33
DQ34
DQ35
DQ36
DQ37
DQ38
DQ39
/CAS5
DQ40
DQ41
DQ42
DQ43
/CAS /RAS /WE /OE
DQ
DQ
D10
DQ
DQ
/CAS /RAS /WE /OE
DQ
DQ
D11
DQ
DQ
/CAS /RAS /WE /OE
DQ
DQ
D8
DQ
DQ
/CAS /RAS /WE /OE
DQ
DQ
D9
DQ
DQ
DQ12
DQ13
DQ14
DQ15
/CAS2
DQ16
DQ17
DQ18
DQ19
DQ44
DQ45
DQ46
DQ47
/CAS6
/CAS /RAS /WE /OE
DQ
DQ
D4
DQ
DQ
/CAS /RAS /WE /OE
DQ
DQ
D5
DQ
DQ
/CAS /RAS /WE /OE
DQ
DQ
D6
DQ
DQ
/CAS /RAS /WE /OE
DQ
DQ
D7
DQ
DQ
DQ48
DQ49
DQ50
DQ51
/CAS /RAS /WE /OE
DQ
DQ
D12
DQ
DQ
/CAS /RAS /WE /OE
DQ
DQ
D13
DQ
DQ
/CAS /RAS /WE /OE
DQ
DQ
D14
DQ
DQ
/CAS /RAS /WE /OE
DQ
DQ
D15
DQ
DQ
DQ20
DQ21
DQ22
DQ23
/CAS3
DQ24
DQ25
DQ26
DQ27
DQ28
DQ29
DQ30
DQ31
DQ52
DQ53
DQ54
DQ55
/CAS7
DQ56
DQ57
DQ58
DQ59
DQ60
DQ61
DQ62
DQ63
A0-A10
V
CC
V
SS
C1-C16
A0-A10 : D0-D15
SCL
D0-D15
D0-D15
Serial PD
SCL
SDA
A0 A1 A2
SA0 SA1 SA2
SDA
标准数字电路 4000 CMOS 全系列数据手册(中文)
标准数字电路 4000 CMOS 全系列数据手册(中文) 全系列数据手册,原书扫描,共32...
fighting 模拟电子
【STM32H5 NUCLEO H533RE测评】07 Labview上位机控制LED亮灭
本帖最后由 Maker_kun 于 2024-8-18 17:40 编辑 上位机程序设计:...
Maker_kun stm32/stm8
速度性能的应用示例方案——传统的GPIB配置与经过优化的开关-源表配置
吉时利 707B 型开关主机和 2636A 型源表的优化配置时获得的速度性能的应用实例方...
Jack_ma 测试/测量
智能硬件大模型语音交互流程自定义编排(进阶篇)
前言 上一篇讲了基础节点和常规调试方法,在实际应用开发的过程中,除了大模型相关的基础节...
胡黎明 DIY/开源硬件专区
《嵌入式软件的时间分析》书友问答接龙 第八集:软件运行时间优化
读到了这里,小伙伴们是不是已经get如何优化软件运行时间? 《嵌入式软件的时间分析》的书友们...
nmg 汽车电子
《机器学习算法与实现》8、目标检测
一、说明 本次来学习目标检测的相关内容,上一篇学习的是神经网络,这一篇直接就是目标检测,中间跨度...
xinmeng_wit 嵌入式系统
热门器件
热门资源推荐
器件捷径:
00 01 02 03 04 05 06 07 08 09 0A 0C 0F 0J 0L 0M 0R 0S 0T 0Z 10 11 12 13 14 15 16 17 18 19 1A 1B 1C 1D 1E 1F 1H 1K 1M 1N 1P 1S 1T 1V 1X 1Z 20 21 22 23 24 25 26 27 28 29 2A 2B 2C 2D 2E 2F 2G 2K 2M 2N 2P 2Q 2R 2S 2T 2W 2Z 30 31 32 33 34 35 36 37 38 39 3A 3B 3C 3D 3E 3F 3G 3H 3J 3K 3L 3M 3N 3P 3R 3S 3T 3V 40 41 42 43 44 45 46 47 48 49 4A 4B 4C 4D 4M 4N 4P 4S 4T 50 51 52 53 54 55 56 57 58 59 5A 5B 5C 5E 5G 5H 5K 5M 5N 5P 5S 5T 5V 60 61 62 63 64 65 66 67 68 69 6A 6C 6E 6F 6M 6N 6P 6R 6S 6T 70 71 72 73 74 75 76 77 78 79 7A 7B 7C 7M 7N 7P 7Q 7V 7W 7X 80 81 82 83 84 85 86 87 88 89 8A 8D 8E 8L 8N 8P 8S 8T 8W 8Y 8Z 90 91 92 93 94 95 96 97 98 99 9A 9B 9C 9D 9F 9G 9H 9L 9S 9T 9W
索引文件:
1255  354  2765  1669  2216  26  8  56  34  45 
需要登录后才可以下载。
登录取消
下载 PDF 文件