Datasheet
X
首页
技术
模拟电子
单片机
半导体
电源管理
嵌入式
传感器
应用
汽车电子
工业控制
家用电子
手机便携
安防电子
医疗电子
网络通信
测试测量
物联网
大学堂
首页
直播
专题
TI 培训
论坛
汽车电子
国产芯片交流
电机驱动控制
电源技术
单片机
模拟电子
PCB设计
电子竞赛
DIY/开源
嵌入式系统
医疗电子
颁奖专区
【厂商专区】
【电子技术交流】
【创意与实践】
【行业应用】
【休息一下】
活动中心
直播
发现活动
颁奖区
电子头条
参考设计
下载中心
分类资源
文集
排行榜
电路图
Datasheet
语言
中文
EN
X
搜索
型号
型号
关键词
首页
>
器件类别
>
存储
>
存储
MSM511001-10JS
描述:
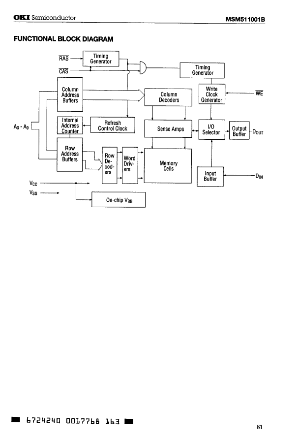
Nibble Mode DRAM, 1MX1, 100ns, CMOS, PDSO20
分类:
存储
存储
文件大小:
649KB,共17页
制造商:
LAPIS Semiconductor Co Ltd
概述
Nibble Mode DRAM, 1MX1, 100ns, CMOS, PDSO20
器件参数
参数名称
属性值
是否Rohs认证
不符合
Objectid
101067521
包装说明
SOJ, SOJ20/26,.34
Reach Compliance Code
unknown
ECCN代码
EAR99
YTEOL
0
最长访问时间
100 ns
I/O 类型
SEPARATE
JESD-30 代码
R-PDSO-J20
JESD-609代码
e0
内存密度
1048576 bit
内存集成电路类型
NIBBLE MODE DRAM
内存宽度
1
端子数量
20
字数
1048576 words
字数代码
1000000
最高工作温度
70 °C
最低工作温度
组织
1MX1
输出特性
3-STATE
封装主体材料
PLASTIC/EPOXY
封装代码
SOJ
封装等效代码
SOJ20/26,.34
封装形状
RECTANGULAR
封装形式
SMALL OUTLINE
认证状态
Not Qualified
刷新周期
512
最大待机电流
0.001 A
最大压摆率
0.075 mA
标称供电电压 (Vsup)
5 V
表面贴装
YES
技术
CMOS
温度等级
COMMERCIAL
端子面层
Tin/Lead (Sn/Pb)
端子形式
J BEND
端子节距
1.27 mm
端子位置
DUAL
文档预览
查看更多>
热门器件
AME8501BEFTBE18
1N5225B-35T/R
1.5KE100C_B0_00001
MMSZ5221BS-AU_R1_000A1
BZM5244C
A2505H-20P
A2543WRD-4P-BK-G30
A2541WV-7P-C1770-T
A2541WR-S-F-2x6P
C4201WVA-2x1P-BL
热门资源推荐
论坛推荐
技术资料
技术文章
SPI 介面的三相功率-电能集成电路
移动全网IVR接入大全
MAXQ7654在信号滤波中的应用
单片机是如何在液晶上显示字符的(pdf)
of_iomap函数在内核中返回值是NULL,这是怎么通过函数返回值得到映射后的地址的?
《硬件设计指南 从器件认识到手机基带设计》-读后感
稚晖君发布会炸啦!一口气5款机器人,还有0元购
【匠芯创D133CBS】GPIO输入输出教程
【Follow me第二季第1期】基础任务一(必做):控制板载炫彩LED,跑马灯点亮和颜色...
请问各位老师们这个电源电路,怎么给芯片稳压供电的
采用LM3886的高性能立体声音频放大器
25瓦特MOSFET音频放大器
30W AB类放大器
小型调幅发射机
远程调频发射器电路
250mW FM VHF发射机
手机FM发射器
BH1417 锁相环FM发射器
LED脉冲驱动器
带低音增强功能的10W音频放大器
器件捷径:
00
01
02
03
04
05
06
07
08
09
0A
0C
0F
0J
0L
0M
0R
0S
0T
0Z
10
11
12
13
14
15
16
17
18
19
1A
1B
1C
1D
1E
1F
1H
1K
1M
1N
1P
1S
1T
1V
1X
1Z
20
21
22
23
24
25
26
27
28
29
2A
2B
2C
2D
2E
2F
2G
2K
2M
2N
2P
2Q
2R
2S
2T
2W
2Z
30
31
32
33
34
35
36
37
38
39
3A
3B
3C
3D
3E
3F
3G
3H
3J
3K
3L
3M
3N
3P
3R
3S
3T
3V
40
41
42
43
44
45
46
47
48
49
4A
4B
4C
4D
4M
4N
4P
4S
4T
50
51
52
53
54
55
56
57
58
59
5A
5B
5C
5E
5G
5H
5K
5M
5N
5P
5S
5T
5V
60
61
62
63
64
65
66
67
68
69
6A
6C
6E
6F
6M
6N
6P
6R
6S
6T
70
71
72
73
74
75
76
77
78
79
7A
7B
7C
7M
7N
7P
7Q
7V
7W
7X
80
81
82
83
84
85
86
87
88
89
8A
8D
8E
8L
8N
8P
8S
8T
8W
8Y
8Z
90
91
92
93
94
95
96
97
98
99
9A
9B
9C
9D
9F
9G
9H
9L
9S
9T
9W
索引文件:
89
2179
354
1843
1672
2
44
8
38
34
需要登录后才可以下载。
登录
取消
下载 PDF 文件