首页 > 器件类别 > 存储 > 存储
 PDF数据手册

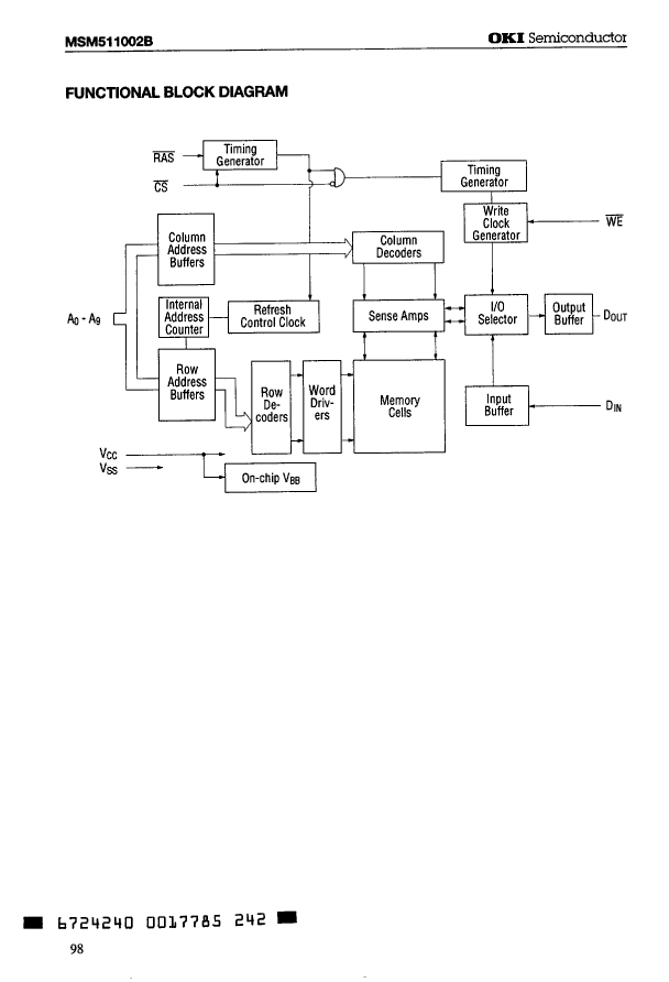
MSM511002B-10RS

描述:
Static Column DRAM, 1MX1, 100ns, CMOS, PDIP18
分类:
存储    存储   
文件大小:
725KB,共17页
制造商:
概述
Static Column DRAM, 1MX1, 100ns, CMOS, PDIP18
器件参数
参数名称
属性值
是否Rohs认证
不符合
厂商名称
LAPIS Semiconductor Co Ltd
包装说明
DIP, DIP18,.3
Reach Compliance Code
unknown
最长访问时间
100 ns
I/O 类型
SEPARATE
JESD-30 代码
R-PDIP-T18
JESD-609代码
e0
内存密度
1048576 bit
内存集成电路类型
STATIC COLUMN DRAM
内存宽度
1
端子数量
18
字数
1048576 words
字数代码
1000000
最高工作温度
70 °C
最低工作温度
组织
1MX1
输出特性
3-STATE
封装主体材料
PLASTIC/EPOXY
封装代码
DIP
封装等效代码
DIP18,.3
封装形状
RECTANGULAR
封装形式
IN-LINE
电源
5 V
认证状态
Not Qualified
刷新周期
512
最大待机电流
0.001 A
最大压摆率
0.06 mA
标称供电电压 (Vsup)
5 V
表面贴装
NO
技术
CMOS
温度等级
COMMERCIAL
端子面层
Tin/Lead (Sn/Pb)
端子形式
THROUGH-HOLE
端子节距
2.54 mm
端子位置
DUAL
文档预览
参数对比
与MSM511002B-10RS相近的元器件有:MSM511002B-60ZS、380LX561M160H032、MSM511002B-60RS、MSM511002B-10ZS、MSM511002B-10JS。描述及对比如下:
型号 MSM511002B-10RS MSM511002B-60ZS 380LX561M160H032 MSM511002B-60RS MSM511002B-10ZS MSM511002B-10JS
描述 Static Column DRAM, 1MX1, 100ns, CMOS, PDIP18 Static Column DRAM, 1MX1, 60ns, CMOS, PZIP20 Latest available ratings, worldwide Static Column DRAM, 1MX1, 60ns, CMOS, PDIP18 Static Column DRAM, 1MX1, 100ns, CMOS, PZIP20 Static Column DRAM, 1MX1, 100ns, CMOS, PDSO20
是否Rohs认证 不符合 不符合 - 不符合 不符合 不符合
厂商名称 LAPIS Semiconductor Co Ltd - - LAPIS Semiconductor Co Ltd LAPIS Semiconductor Co Ltd LAPIS Semiconductor Co Ltd
包装说明 DIP, DIP18,.3 ZIP, ZIP20,.1 - DIP, DIP18,.3 ZIP, ZIP20,.1 SOJ, SOJ20/26,.34
Reach Compliance Code unknown unknown - unknown unknown unknow
最长访问时间 100 ns 60 ns - 60 ns 100 ns 100 ns
I/O 类型 SEPARATE SEPARATE - SEPARATE SEPARATE SEPARATE
JESD-30 代码 R-PDIP-T18 R-PZIP-T20 - R-PDIP-T18 R-PZIP-T20 R-PDSO-J20
JESD-609代码 e0 e0 - e0 e0 e0
内存密度 1048576 bit 1048576 bit - 1048576 bit 1048576 bit 1048576 bi
内存集成电路类型 STATIC COLUMN DRAM STATIC COLUMN DRAM - STATIC COLUMN DRAM STATIC COLUMN DRAM STATIC COLUMN DRAM
内存宽度 1 1 - 1 1 1
端子数量 18 20 - 18 20 20
字数 1048576 words 1048576 words - 1048576 words 1048576 words 1048576 words
字数代码 1000000 1000000 - 1000000 1000000 1000000
最高工作温度 70 °C 70 °C - 70 °C 70 °C 70 °C
组织 1MX1 1MX1 - 1MX1 1MX1 1MX1
输出特性 3-STATE 3-STATE - 3-STATE 3-STATE 3-STATE
封装主体材料 PLASTIC/EPOXY PLASTIC/EPOXY - PLASTIC/EPOXY PLASTIC/EPOXY PLASTIC/EPOXY
封装代码 DIP ZIP - DIP ZIP SOJ
封装等效代码 DIP18,.3 ZIP20,.1 - DIP18,.3 ZIP20,.1 SOJ20/26,.34
封装形状 RECTANGULAR RECTANGULAR - RECTANGULAR RECTANGULAR RECTANGULAR
封装形式 IN-LINE IN-LINE - IN-LINE IN-LINE SMALL OUTLINE
电源 5 V 5 V - 5 V 5 V 5 V
认证状态 Not Qualified Not Qualified - Not Qualified Not Qualified Not Qualified
刷新周期 512 512 - 512 512 512
最大待机电流 0.001 A 0.001 A - 0.001 A 0.001 A 0.001 A
最大压摆率 0.06 mA 0.09 mA - 0.09 mA 0.06 mA 0.06 mA
标称供电电压 (Vsup) 5 V 5 V - 5 V 5 V 5 V
表面贴装 NO NO - NO NO YES
技术 CMOS CMOS - CMOS CMOS CMOS
温度等级 COMMERCIAL COMMERCIAL - COMMERCIAL COMMERCIAL COMMERCIAL
端子面层 Tin/Lead (Sn/Pb) Tin/Lead (Sn/Pb) - Tin/Lead (Sn/Pb) Tin/Lead (Sn/Pb) Tin/Lead (Sn/Pb)
端子形式 THROUGH-HOLE THROUGH-HOLE - THROUGH-HOLE THROUGH-HOLE J BEND
端子节距 2.54 mm 1.27 mm - 2.54 mm 1.27 mm 1.27 mm
端子位置 DUAL ZIG-ZAG - DUAL ZIG-ZAG DUAL
温度飘移
温度飘移是指的因温度变化所导致的输出电压的变化,以PP/C为单位来表示,与带隙型电压基准相比.埋入型...
geyong 电源技术
ST NUCLEO-H533RE通过I2C使用u8g2库
本帖最后由 crz_21 于 2024-8-19 23:49 编辑 一、搭建工程流程 ...
crz_21 stm32/stm8
【2024 DigiKey 创意大赛】物料开箱
感谢EEWORLD和Digikey联合举办的 【2024 DigiKey 创意大赛】,下单一周后,...
BG2XPH DigiKey得捷技术专区
UWB钥匙跟蓝牙钥匙差别在哪?
之前了解了下,现在汽车这块好像UWB门禁,做UWB钥匙也是一个比较热门的倾向? 不知道这跟蓝牙钥...
宋元浩 无线连接
【瑞萨RA8D1开发板,基于M85内核的图形MCU测评】+需要制作底板,进行其他功能测试
实际到测试阶段,板载功能还是不太能够满足我们测试需求了,所以我们需要制作拓展板进行测试其他功能。下...
eew_7QI3Yq 瑞萨电子MCU
MOS管栅极电阻在工业电源中的作用
MOS管栅极电阻在工业电源中的作用 MOS管栅极电阻在工业电源中的作用-电子工程世界 htt...
振动试验仪器 开关电源学习小组
热门器件
热门资源推荐
器件捷径:
A0 A1 A2 A3 A4 A5 A6 A7 A8 A9 AA AB AC AD AE AF AG AH AI AJ AK AL AM AN AO AP AQ AR AS AT AU AV AW AX AY AZ B0 B1 B2 B3 B4 B5 B6 B7 B8 B9 BA BB BC BD BE BF BG BH BI BJ BK BL BM BN BO BP BQ BR BS BT BU BV BW BX BY BZ C0 C1 C2 C3 C4 C5 C6 C7 C8 C9 CA CB CC CD CE CF CG CH CI CJ CK CL CM CN CO CP CQ CR CS CT CU CV CW CX CY CZ D0 D1 D2 D3 D4 D5 D6 D7 D8 D9 DA DB DC DD DE DF DG DH DI DJ DK DL DM DN DO DP DQ DR DS DT DU DV DW DX DZ
索引文件:
2853  2531  2259  1357  2069  58  51  46  28  42 
需要登录后才可以下载。
登录取消
下载 PDF 文件