首页 > 器件类别 > 存储 > 存储
 PDF数据手册

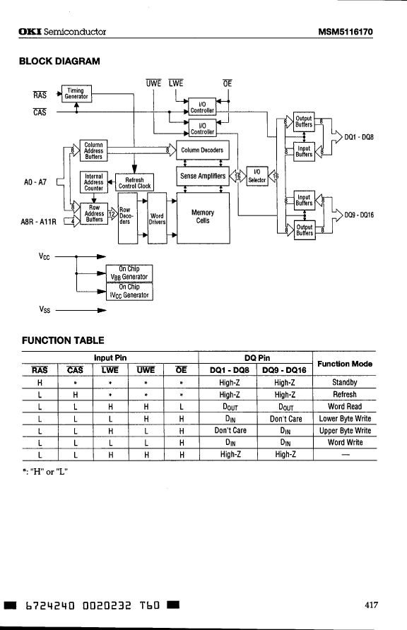
MSM5116170-70JS

描述:
Fast Page DRAM, 1MX16, 70ns, CMOS, PDSO42,
分类:
存储    存储   
文件大小:
364KB,共8页
制造商:
概述
Fast Page DRAM, 1MX16, 70ns, CMOS, PDSO42,
器件参数
参数名称
属性值
是否Rohs认证
不符合
厂商名称
LAPIS Semiconductor Co Ltd
包装说明
SOJ, SOJ42,.44
Reach Compliance Code
unknown
最长访问时间
70 ns
I/O 类型
COMMON
JESD-30 代码
R-PDSO-J42
JESD-609代码
e0
内存密度
16777216 bit
内存集成电路类型
FAST PAGE DRAM
内存宽度
16
端子数量
42
字数
1048576 words
字数代码
1000000
最高工作温度
70 °C
最低工作温度
组织
1MX16
输出特性
3-STATE
封装主体材料
PLASTIC/EPOXY
封装代码
SOJ
封装等效代码
SOJ42,.44
封装形状
RECTANGULAR
封装形式
SMALL OUTLINE
电源
5 V
认证状态
Not Qualified
刷新周期
4096
自我刷新
NO
最大待机电流
0.001 A
最大压摆率
0.12 mA
标称供电电压 (Vsup)
5 V
表面贴装
YES
技术
CMOS
温度等级
COMMERCIAL
端子面层
Tin/Lead (Sn/Pb)
端子形式
J BEND
端子节距
1.27 mm
端子位置
DUAL
文档预览
参数对比
与MSM5116170-70JS相近的元器件有:MSM5116170-80JS、MSM5116170-70TS-K、MSM5116170-80TS-K、MSM5116170-70TS-L。描述及对比如下:
型号 MSM5116170-70JS MSM5116170-80JS MSM5116170-70TS-K MSM5116170-80TS-K MSM5116170-70TS-L
描述 Fast Page DRAM, 1MX16, 70ns, CMOS, PDSO42, Fast Page DRAM, 1MX16, 80ns, CMOS, PDSO42, Fast Page DRAM, 1MX16, 70ns, CMOS, PDSO44, Fast Page DRAM, 1MX16, 80ns, CMOS, PDSO44, Fast Page DRAM, 1MX16, 70ns, CMOS, PDSO44,
是否Rohs认证 不符合 不符合 不符合 不符合 不符合
厂商名称 LAPIS Semiconductor Co Ltd LAPIS Semiconductor Co Ltd LAPIS Semiconductor Co Ltd LAPIS Semiconductor Co Ltd LAPIS Semiconductor Co Ltd
包装说明 SOJ, SOJ42,.44 SOJ, SOJ42,.44 TSOP, TSOP44/50,.46,32 TSOP, TSOP44/50,.46,32 TSOP, TSOP44/50,.46,32
Reach Compliance Code unknown unknown unknown unknown unknown
最长访问时间 70 ns 80 ns 70 ns 80 ns 70 ns
I/O 类型 COMMON COMMON COMMON COMMON COMMON
JESD-30 代码 R-PDSO-J42 R-PDSO-J42 R-PDSO-G44 R-PDSO-G44 R-PDSO-G44
JESD-609代码 e0 e0 e0 e0 e0
内存密度 16777216 bit 16777216 bit 16777216 bit 16777216 bit 16777216 bit
内存集成电路类型 FAST PAGE DRAM FAST PAGE DRAM FAST PAGE DRAM FAST PAGE DRAM FAST PAGE DRAM
内存宽度 16 16 16 16 16
端子数量 42 42 44 44 44
字数 1048576 words 1048576 words 1048576 words 1048576 words 1048576 words
字数代码 1000000 1000000 1000000 1000000 1000000
最高工作温度 70 °C 70 °C 70 °C 70 °C 70 °C
组织 1MX16 1MX16 1MX16 1MX16 1MX16
输出特性 3-STATE 3-STATE 3-STATE 3-STATE 3-STATE
封装主体材料 PLASTIC/EPOXY PLASTIC/EPOXY PLASTIC/EPOXY PLASTIC/EPOXY PLASTIC/EPOXY
封装代码 SOJ SOJ TSOP TSOP TSOP
封装等效代码 SOJ42,.44 SOJ42,.44 TSOP44/50,.46,32 TSOP44/50,.46,32 TSOP44/50,.46,32
封装形状 RECTANGULAR RECTANGULAR RECTANGULAR RECTANGULAR RECTANGULAR
封装形式 SMALL OUTLINE SMALL OUTLINE SMALL OUTLINE, THIN PROFILE SMALL OUTLINE, THIN PROFILE SMALL OUTLINE, THIN PROFILE
电源 5 V 5 V 5 V 5 V 5 V
认证状态 Not Qualified Not Qualified Not Qualified Not Qualified Not Qualified
刷新周期 4096 4096 4096 4096 4096
自我刷新 NO NO NO NO NO
最大待机电流 0.001 A 0.001 A 0.001 A 0.001 A 0.001 A
最大压摆率 0.12 mA 0.11 mA 0.12 mA 0.11 mA 0.12 mA
标称供电电压 (Vsup) 5 V 5 V 5 V 5 V 5 V
表面贴装 YES YES YES YES YES
技术 CMOS CMOS CMOS CMOS CMOS
温度等级 COMMERCIAL COMMERCIAL COMMERCIAL COMMERCIAL COMMERCIAL
端子面层 Tin/Lead (Sn/Pb) Tin/Lead (Sn/Pb) Tin/Lead (Sn/Pb) Tin/Lead (Sn/Pb) Tin/Lead (Sn/Pb)
端子形式 J BEND J BEND GULL WING GULL WING GULL WING
端子节距 1.27 mm 1.27 mm 0.8 mm 0.8 mm 0.8 mm
端子位置 DUAL DUAL DUAL DUAL DUAL
基于神经网络PID 控制的包装印刷位置伺服系统
:针对包装印刷传动位置伺服系统,介绍一种基于共轭梯度学习算法的神经网络自 适应PID 控制方法. 利...
frozenviolet 工业自动化与控制
白光LED电荷泵电源
Ti的TPS60230能够以高达125MA的总调节电流来驱动5个白光LED,只需4个小电容便可以进...
geyong 电源技术
泰克中端示波器增“重”计划
增 重 计划 2024年8月16日到2024年12月31日期...
eric_wang 综合技术交流
GD32使用ST标准库的问题
我们以前用的STM32,后来想要换成GD32,尝试使用ST的标准库,有几路外部中断出现问题,实际没...
inkinessray GD32 MCU
TI【LP_MSPM0L1306开发板】测评——ADC使用以及示例学习
本帖最后由 EPTmachine 于 2023-10-15 13:47 编辑 ADC使用和示...
EPTmachine MSPM0 MCU
【匠芯创D133CBS】--4.PWM驱动蜂鸣器
本帖最后由 dirty 于 2024-8-17 12:25 编辑 本篇讲述PWM驱动板...
dirty 国产芯片交流
热门器件
热门资源推荐
器件捷径:
E0 E1 E2 E3 E4 E5 E6 E7 E8 E9 EA EB EC ED EE EF EG EH EI EJ EK EL EM EN EO EP EQ ER ES ET EU EV EW EX EY EZ F0 F1 F2 F3 F4 F5 F6 F7 F8 F9 FA FB FC FD FE FF FG FH FI FJ FK FL FM FN FO FP FQ FR FS FT FU FV FW FX FY FZ G0 G1 G2 G3 G4 G5 G6 G7 G8 G9 GA GB GC GD GE GF GG GH GI GJ GK GL GM GN GO GP GQ GR GS GT GU GV GW GX GZ H0 H1 H2 H3 H4 H5 H6 H7 H8 HA HB HC HD HE HF HG HH HI HJ HK HL HM HN HO HP HQ HR HS HT HU HV HW HX HY HZ I1 I2 I3 I4 I5 I6 I7 IA IB IC ID IE IF IG IH II IK IL IM IN IO IP IQ IR IS IT IU IV IW IX J0 J1 J2 J6 J7 JA JB JC JD JE JF JG JH JJ JK JL JM JN JP JQ JR JS JT JV JW JX JZ K0 K1 K2 K3 K4 K5 K6 K7 K8 K9 KA KB KC KD KE KF KG KH KI KJ KK KL KM KN KO KP KQ KR KS KT KU KV KW KX KY KZ
索引文件:
2853  2531  2259  1357  2069  58  51  46  28  42 
需要登录后才可以下载。
登录取消
下载 PDF 文件