首页 > 器件类别 > 存储 > 存储
 PDF数据手册

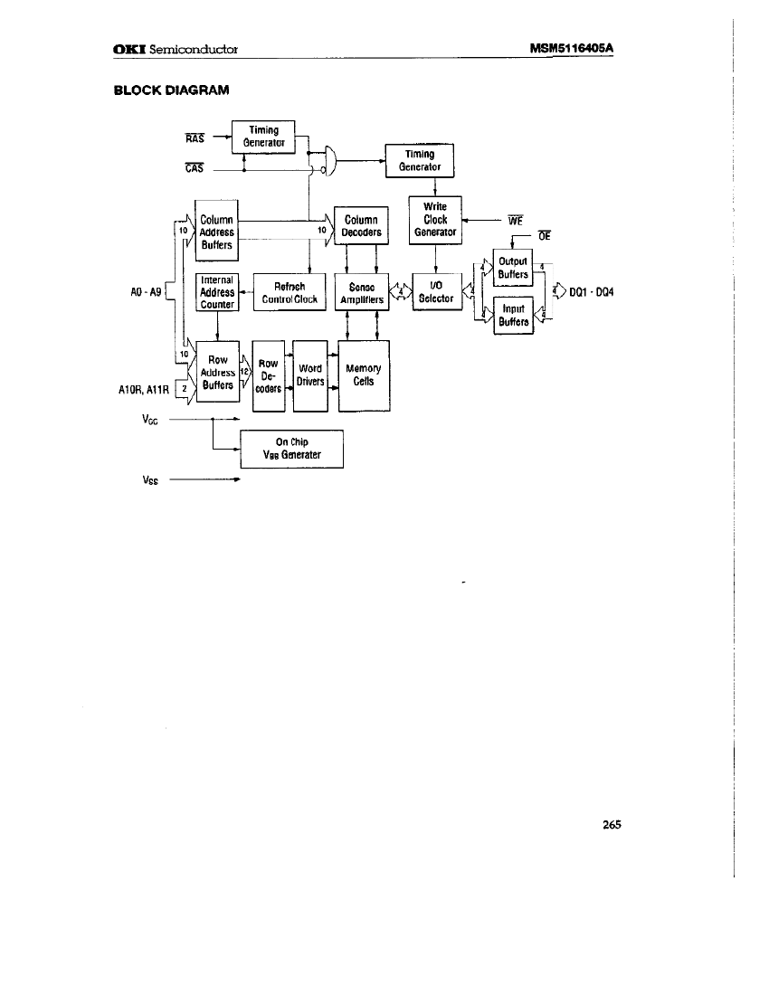
MSM5116405A-70TS-K

描述:
EDO DRAM, 4MX4, 70ns, CMOS, PDSO24
分类:
存储    存储   
文件大小:
382KB,共8页
制造商:
概述
EDO DRAM, 4MX4, 70ns, CMOS, PDSO24
器件参数
参数名称
属性值
是否Rohs认证
不符合
厂商名称
LAPIS Semiconductor Co Ltd
包装说明
TSOP, TSOP24/26,.36
Reach Compliance Code
unknown
最长访问时间
70 ns
I/O 类型
COMMON
JESD-30 代码
R-PDSO-G24
JESD-609代码
e0
内存密度
16777216 bit
内存集成电路类型
EDO DRAM
内存宽度
4
端子数量
24
字数
4194304 words
字数代码
4000000
最高工作温度
70 °C
最低工作温度
组织
4MX4
输出特性
3-STATE
封装主体材料
PLASTIC/EPOXY
封装代码
TSOP
封装等效代码
TSOP24/26,.36
封装形状
RECTANGULAR
封装形式
SMALL OUTLINE, THIN PROFILE
电源
5 V
认证状态
Not Qualified
刷新周期
4096
自我刷新
NO
最大待机电流
0.001 A
最大压摆率
0.11 mA
标称供电电压 (Vsup)
5 V
表面贴装
YES
技术
CMOS
温度等级
COMMERCIAL
端子面层
Tin/Lead (Sn/Pb)
端子形式
GULL WING
端子节距
1.27 mm
端子位置
DUAL
文档预览
参数对比
与MSM5116405A-70TS-K相近的元器件有:MSM5116405A-80TS-L。描述及对比如下:
型号 MSM5116405A-70TS-K MSM5116405A-80TS-L
描述 EDO DRAM, 4MX4, 70ns, CMOS, PDSO24 EDO DRAM, 4MX4, 80ns, CMOS, PDSO24
是否Rohs认证 不符合 不符合
包装说明 TSOP, TSOP24/26,.36 TSOP, TSOP24/26,.36
Reach Compliance Code unknown unknown
最长访问时间 70 ns 80 ns
I/O 类型 COMMON COMMON
JESD-30 代码 R-PDSO-G24 R-PDSO-G24
JESD-609代码 e0 e0
内存密度 16777216 bit 16777216 bit
内存集成电路类型 EDO DRAM EDO DRAM
内存宽度 4 4
端子数量 24 24
字数 4194304 words 4194304 words
字数代码 4000000 4000000
最高工作温度 70 °C 70 °C
组织 4MX4 4MX4
输出特性 3-STATE 3-STATE
封装主体材料 PLASTIC/EPOXY PLASTIC/EPOXY
封装代码 TSOP TSOP
封装等效代码 TSOP24/26,.36 TSOP24/26,.36
封装形状 RECTANGULAR RECTANGULAR
封装形式 SMALL OUTLINE, THIN PROFILE SMALL OUTLINE, THIN PROFILE
电源 5 V 5 V
认证状态 Not Qualified Not Qualified
刷新周期 4096 4096
自我刷新 NO NO
最大待机电流 0.001 A 0.001 A
最大压摆率 0.11 mA 0.1 mA
标称供电电压 (Vsup) 5 V 5 V
表面贴装 YES YES
技术 CMOS CMOS
温度等级 COMMERCIAL COMMERCIAL
端子面层 Tin/Lead (Sn/Pb) Tin/Lead (Sn/Pb)
端子形式 GULL WING GULL WING
端子节距 1.27 mm 1.27 mm
端子位置 DUAL DUAL
传输线的一些概念
连接天线和发射机输出端(或接收机输入端)的电缆称为传输线或馈线。传输线的主要任务是有效地传输信...
mutoudonggua 无线连接
伺服电机的直接数字控制
针对传统应用中采用模拟连接技术,存在模电压调节死区问题,提出了利用 计算机和伺服电机的串行通信,实现...
frozenviolet 工业自动化与控制
与天线有关的一些概念
天线增益 ( dB dBi dBd ) 在无线通讯的实际应...
mutoudonggua 无线连接
气体检测仪检测气体时会遇到的问题
气体检测仪是一种气体泄漏浓度检测的仪器仪表工具,主要是指便携式和固定式气体检测仪。主要利用气体传感...
比直男还直的癌症女 传感器
《rust实战》之BrainRust 01-不好意思说出口的语言和被替换的单词
本帖最后由 nemon 于 2024-8-8 18:11 编辑 学Rust真是别扭,干啥都束...
nemon 编程基础
用FPC软板做了个可穿戴智能手表,太酷啦!
你知道吗?FPC软板不仅可以作为连接器使用,还能应用于可穿戴设备,消费电子产品、医疗设备、...
嘉立创FPC PCB设计
热门器件
热门资源推荐
器件捷径:
A0 A1 A2 A3 A4 A5 A6 A7 A8 A9 AA AB AC AD AE AF AG AH AI AJ AK AL AM AN AO AP AQ AR AS AT AU AV AW AX AY AZ B0 B1 B2 B3 B4 B5 B6 B7 B8 B9 BA BB BC BD BE BF BG BH BI BJ BK BL BM BN BO BP BQ BR BS BT BU BV BW BX BY BZ C0 C1 C2 C3 C4 C5 C6 C7 C8 C9 CA CB CC CD CE CF CG CH CI CJ CK CL CM CN CO CP CQ CR CS CT CU CV CW CX CY CZ D0 D1 D2 D3 D4 D5 D6 D7 D8 D9 DA DB DC DD DE DF DG DH DI DJ DK DL DM DN DO DP DQ DR DS DT DU DV DW DX DZ
索引文件:
2586  2240  2602  2504  2757  53  46  51  56  19 
需要登录后才可以下载。
登录取消
下载 PDF 文件