首页 > 器件类别 > 存储 > 存储
 PDF数据手册

MSM514900-70JS

描述:
Fast Page DRAM, 512KX9, 70ns, CMOS, PDSO28,
分类:
存储    存储   
文件大小:
373KB,共8页
制造商:
概述
Fast Page DRAM, 512KX9, 70ns, CMOS, PDSO28,
器件参数
参数名称
属性值
是否Rohs认证
不符合
厂商名称
LAPIS Semiconductor Co Ltd
包装说明
SOJ, SOJ28,.44
Reach Compliance Code
unknow
最长访问时间
70 ns
I/O 类型
COMMON
JESD-30 代码
R-PDSO-J28
JESD-609代码
e0
内存密度
4718592 bi
内存集成电路类型
FAST PAGE DRAM
内存宽度
9
端子数量
28
字数
524288 words
字数代码
512000
最高工作温度
70 °C
最低工作温度
组织
512KX9
输出特性
3-STATE
封装主体材料
PLASTIC/EPOXY
封装代码
SOJ
封装等效代码
SOJ28,.44
封装形状
RECTANGULAR
封装形式
SMALL OUTLINE
电源
5 V
认证状态
Not Qualified
刷新周期
1024
自我刷新
NO
最大待机电流
0.001 A
最大压摆率
0.13 mA
标称供电电压 (Vsup)
5 V
表面贴装
YES
技术
CMOS
温度等级
COMMERCIAL
端子面层
Tin/Lead (Sn/Pb)
端子形式
J BEND
端子节距
1.27 mm
端子位置
DUAL
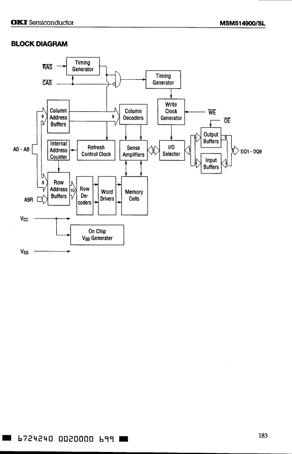
文档预览
参数对比
与MSM514900-70JS相近的元器件有:MSM514900SL-70JS。描述及对比如下:
型号 MSM514900-70JS MSM514900SL-70JS
描述 Fast Page DRAM, 512KX9, 70ns, CMOS, PDSO28, Fast Page DRAM, 512KX9, 70ns, CMOS, PDSO28,
是否Rohs认证 不符合 不符合
包装说明 SOJ, SOJ28,.44 SOJ, SOJ28,.44
Reach Compliance Code unknow unknown
最长访问时间 70 ns 70 ns
I/O 类型 COMMON COMMON
JESD-30 代码 R-PDSO-J28 R-PDSO-J28
JESD-609代码 e0 e0
内存密度 4718592 bi 4718592 bit
内存集成电路类型 FAST PAGE DRAM FAST PAGE DRAM
内存宽度 9 9
端子数量 28 28
字数 524288 words 524288 words
字数代码 512000 512000
最高工作温度 70 °C 70 °C
组织 512KX9 512KX9
输出特性 3-STATE 3-STATE
封装主体材料 PLASTIC/EPOXY PLASTIC/EPOXY
封装代码 SOJ SOJ
封装等效代码 SOJ28,.44 SOJ28,.44
封装形状 RECTANGULAR RECTANGULAR
封装形式 SMALL OUTLINE SMALL OUTLINE
电源 5 V 5 V
认证状态 Not Qualified Not Qualified
刷新周期 1024 1024
自我刷新 NO YES
最大待机电流 0.001 A 0.0003 A
最大压摆率 0.13 mA 0.13 mA
标称供电电压 (Vsup) 5 V 5 V
表面贴装 YES YES
技术 CMOS CMOS
温度等级 COMMERCIAL COMMERCIAL
端子面层 Tin/Lead (Sn/Pb) Tin/Lead (Sn/Pb)
端子形式 J BEND J BEND
端子节距 1.27 mm 1.27 mm
端子位置 DUAL DUAL
热门器件
热门资源推荐
器件捷径:
S0 S1 S2 S3 S4 S5 S6 S7 S8 S9 SA SB SC SD SE SF SG SH SI SJ SK SL SM SN SO SP SQ SR SS ST SU SV SW SX SY SZ T0 T1 T2 T3 T4 T5 T6 T7 T8 T9 TA TB TC TD TE TF TG TH TI TJ TK TL TM TN TO TP TQ TR TS TT TU TV TW TX TY TZ U0 U1 U2 U3 U4 U6 U7 U8 UA UB UC UD UE UF UG UH UI UJ UK UL UM UN UP UQ UR US UT UU UV UW UX UZ V0 V1 V2 V3 V4 V5 V6 V7 V8 V9 VA VB VC VD VE VF VG VH VI VJ VK VL VM VN VO VP VQ VR VS VT VU VV VW VX VY VZ W0 W1 W2 W3 W4 W5 W6 W7 W8 W9 WA WB WC WD WE WF WG WH WI WJ WK WL WM WN WO WP WR WS WT WU WV WW WY X0 X1 X2 X3 X4 X5 X7 X8 X9 XA XB XC XD XE XF XG XH XK XL XM XN XO XP XQ XR XS XT XU XV XW XX XY XZ Y0 Y1 Y2 Y4 Y5 Y6 Y9 YA YB YC YD YE YF YG YH YK YL YM YN YP YQ YR YS YT YX Z0 Z1 Z2 Z3 Z4 Z5 Z6 Z8 ZA ZB ZC ZD ZE ZF ZG ZH ZJ ZL ZM ZN ZP ZR ZS ZT ZU ZV ZW ZX ZY
索引文件:
1188  1302  1667  2693  512  24  27  34  55  11 
需要登录后才可以下载。
登录取消
下载 PDF 文件