首页 > 器件类别 > 存储 > 存储

MSM51C464A-80JS

描述:
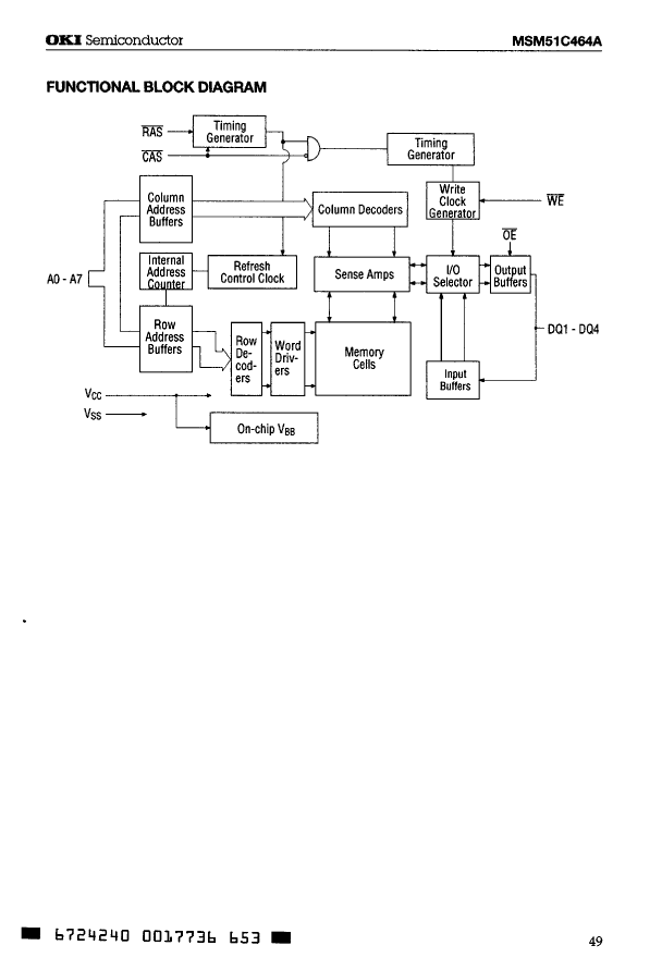
Fast Page DRAM, 64KX4, 80ns, CMOS, PQCC18,
分类:
存储    存储   
文件大小:
691KB,共15页
制造商:
概述
Fast Page DRAM, 64KX4, 80ns, CMOS, PQCC18,
器件参数
参数名称
属性值
是否Rohs认证
不符合
厂商名称
LAPIS Semiconductor Co Ltd
包装说明
QCCJ, LDCC18,.33X.53
Reach Compliance Code
unknown
最长访问时间
80 ns
I/O 类型
COMMON
JESD-30 代码
R-PQCC-J18
JESD-609代码
e0
内存密度
262144 bit
内存集成电路类型
FAST PAGE DRAM
内存宽度
4
端子数量
18
字数
65536 words
字数代码
64000
最高工作温度
70 °C
最低工作温度
组织
64KX4
输出特性
3-STATE
封装主体材料
PLASTIC/EPOXY
封装代码
QCCJ
封装等效代码
LDCC18,.33X.53
封装形状
RECTANGULAR
封装形式
CHIP CARRIER
电源
5 V
认证状态
Not Qualified
刷新周期
256
最大待机电流
0.055 A
最大压摆率
0.055 mA
标称供电电压 (Vsup)
5 V
表面贴装
YES
技术
CMOS
温度等级
COMMERCIAL
端子面层
Tin/Lead (Sn/Pb)
端子形式
J BEND
端子节距
1.27 mm
端子位置
QUAD
文档预览
参数对比
与MSM51C464A-80JS相近的元器件有:MSM51C464A-80RS、MSM51C464A-10JS。描述及对比如下:
型号 MSM51C464A-80JS MSM51C464A-80RS MSM51C464A-10JS
描述 Fast Page DRAM, 64KX4, 80ns, CMOS, PQCC18, Fast Page DRAM, 64KX4, 80ns, CMOS, PDIP18, Fast Page DRAM, 64KX4, 100ns, CMOS, PQCC18,
是否Rohs认证 不符合 不符合 不符合
厂商名称 LAPIS Semiconductor Co Ltd LAPIS Semiconductor Co Ltd LAPIS Semiconductor Co Ltd
包装说明 QCCJ, LDCC18,.33X.53 DIP, DIP18,.3 QCCJ, LDCC18,.33X.53
Reach Compliance Code unknown unknown unknown
最长访问时间 80 ns 80 ns 100 ns
I/O 类型 COMMON COMMON COMMON
JESD-30 代码 R-PQCC-J18 R-PDIP-T18 R-PQCC-J18
JESD-609代码 e0 e0 e0
内存密度 262144 bit 262144 bit 262144 bit
内存集成电路类型 FAST PAGE DRAM FAST PAGE DRAM FAST PAGE DRAM
内存宽度 4 4 4
端子数量 18 18 18
字数 65536 words 65536 words 65536 words
字数代码 64000 64000 64000
最高工作温度 70 °C 70 °C 70 °C
组织 64KX4 64KX4 64KX4
输出特性 3-STATE 3-STATE 3-STATE
封装主体材料 PLASTIC/EPOXY PLASTIC/EPOXY PLASTIC/EPOXY
封装代码 QCCJ DIP QCCJ
封装等效代码 LDCC18,.33X.53 DIP18,.3 LDCC18,.33X.53
封装形状 RECTANGULAR RECTANGULAR RECTANGULAR
封装形式 CHIP CARRIER IN-LINE CHIP CARRIER
电源 5 V 5 V 5 V
认证状态 Not Qualified Not Qualified Not Qualified
刷新周期 256 256 256
最大待机电流 0.055 A 0.055 A 0.045 A
最大压摆率 0.055 mA 0.055 mA 0.045 mA
标称供电电压 (Vsup) 5 V 5 V 5 V
表面贴装 YES NO YES
技术 CMOS CMOS CMOS
温度等级 COMMERCIAL COMMERCIAL COMMERCIAL
端子面层 Tin/Lead (Sn/Pb) Tin/Lead (Sn/Pb) Tin/Lead (Sn/Pb)
端子形式 J BEND THROUGH-HOLE J BEND
端子节距 1.27 mm 2.54 mm 1.27 mm
端子位置 QUAD DUAL QUAD
NGN网络中的应急通信.
NGN网络中的应急通信. 未来的NGN网络,将是一个多种接入手段并存、以IMS为核心并基于IP承载网...
mdreamj 无线连接
ADC采样DAC两组输出电压,有几个问题,如图。另外,假如信号1uA左右,是否需要20位...
ADC采样DAC两组输出电压,有几个问题,如图。另外,假如信号1uA左右,是否需要20位的ADC芯...
QWE4562009 综合技术交流
再修老创维电源板
本帖最后由 DIAG 于 2024-8-8 23:30 编辑 还是单开一贴吧! 还是那...
DIAG 综合技术交流
NUCLEO-H533RE开发板测评06(IIC应用)
## 6:IIC驱动 使用硬件IIC来驱动OLED显示,查看板子的IIC接口。 ! (https:/...
qzc0927 stm32/stm8
真有“零漂移运算放大器”吗
用于精密测量的零漂移放大器,是代表业界最高设计水平的高端模拟产品! Linearin零漂移放大器...
bigbat 模拟电子
编程语言学习
请问各位大佬和前辈,对于学习编程的话,现在学习什么语言最有钱途?最好用? 编程语言学习 PYTH...
851779592 编程基础
热门器件
热门资源推荐
器件捷径:
00 01 02 03 04 05 06 07 08 09 0A 0C 0F 0J 0L 0M 0R 0S 0T 0Z 10 11 12 13 14 15 16 17 18 19 1A 1B 1C 1D 1E 1F 1H 1K 1M 1N 1P 1S 1T 1V 1X 1Z 20 21 22 23 24 25 26 27 28 29 2A 2B 2C 2D 2E 2F 2G 2K 2M 2N 2P 2Q 2R 2S 2T 2W 2Z 30 31 32 33 34 35 36 37 38 39 3A 3B 3C 3D 3E 3F 3G 3H 3J 3K 3L 3M 3N 3P 3R 3S 3T 3V 40 41 42 43 44 45 46 47 48 49 4A 4B 4C 4D 4M 4N 4P 4S 4T 50 51 52 53 54 55 56 57 58 59 5A 5B 5C 5E 5G 5H 5K 5M 5N 5P 5S 5T 5V 60 61 62 63 64 65 66 67 68 69 6A 6C 6E 6F 6M 6N 6P 6R 6S 6T 70 71 72 73 74 75 76 77 78 79 7A 7B 7C 7M 7N 7P 7Q 7V 7W 7X 80 81 82 83 84 85 86 87 88 89 8A 8D 8E 8L 8N 8P 8S 8T 8W 8Y 8Z 90 91 92 93 94 95 96 97 98 99 9A 9B 9C 9D 9F 9G 9H 9L 9S 9T 9W
索引文件:
2308  148  112  1002  2512  47  3  21  51  26 
需要登录后才可以下载。
登录取消
下载 PDF 文件