首页 > 器件类别 > 存储 > 存储

MSM51V16800A-80TS-K

描述:
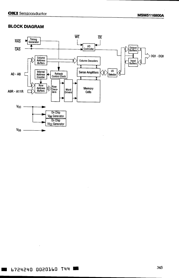
Fast Page DRAM, 2MX8, 80ns, CMOS, PDSO28,
分类:
存储    存储   
文件大小:
376KB,共8页
制造商:
概述
Fast Page DRAM, 2MX8, 80ns, CMOS, PDSO28,
器件参数
参数名称
属性值
是否Rohs认证
不符合
厂商名称
LAPIS Semiconductor Co Ltd
包装说明
TSOP, TSOP28,.46
Reach Compliance Code
unknown
最长访问时间
80 ns
I/O 类型
COMMON
JESD-30 代码
R-PDSO-G28
JESD-609代码
e0
内存密度
16777216 bit
内存集成电路类型
FAST PAGE DRAM
内存宽度
8
端子数量
28
字数
2097152 words
字数代码
2000000
最高工作温度
70 °C
最低工作温度
组织
2MX8
输出特性
3-STATE
封装主体材料
PLASTIC/EPOXY
封装代码
TSOP
封装等效代码
TSOP28,.46
封装形状
RECTANGULAR
封装形式
SMALL OUTLINE, THIN PROFILE
电源
3.3 V
认证状态
Not Qualified
刷新周期
4096
自我刷新
NO
最大待机电流
0.001 A
最大压摆率
0.09 mA
标称供电电压 (Vsup)
3.3 V
表面贴装
YES
技术
CMOS
温度等级
COMMERCIAL
端子面层
Tin/Lead (Sn/Pb)
端子形式
GULL WING
端子节距
1.27 mm
端子位置
DUAL
文档预览
参数对比
与MSM51V16800A-80TS-K相近的元器件有:MSM51V16800A-80JS、MSM51V16800A-60JS、MSM51V16800A-70TS-K。描述及对比如下:
型号 MSM51V16800A-80TS-K MSM51V16800A-80JS MSM51V16800A-60JS MSM51V16800A-70TS-K
描述 Fast Page DRAM, 2MX8, 80ns, CMOS, PDSO28, Fast Page DRAM, 2MX8, 80ns, CMOS, PDSO28, Fast Page DRAM, 2MX8, 60ns, CMOS, PDSO28, Fast Page DRAM, 2MX8, 70ns, CMOS, PDSO28,
是否Rohs认证 不符合 不符合 不符合 不符合
厂商名称 LAPIS Semiconductor Co Ltd LAPIS Semiconductor Co Ltd LAPIS Semiconductor Co Ltd LAPIS Semiconductor Co Ltd
包装说明 TSOP, TSOP28,.46 SOJ, SOJ28,.44 SOJ, SOJ28,.44 TSOP, TSOP28,.46
Reach Compliance Code unknown unknown unknown unknown
最长访问时间 80 ns 80 ns 60 ns 70 ns
I/O 类型 COMMON COMMON COMMON COMMON
JESD-30 代码 R-PDSO-G28 R-PDSO-J28 R-PDSO-J28 R-PDSO-G28
JESD-609代码 e0 e0 e0 e0
内存密度 16777216 bit 16777216 bit 16777216 bit 16777216 bit
内存集成电路类型 FAST PAGE DRAM FAST PAGE DRAM FAST PAGE DRAM FAST PAGE DRAM
内存宽度 8 8 8 8
端子数量 28 28 28 28
字数 2097152 words 2097152 words 2097152 words 2097152 words
字数代码 2000000 2000000 2000000 2000000
最高工作温度 70 °C 70 °C 70 °C 70 °C
组织 2MX8 2MX8 2MX8 2MX8
输出特性 3-STATE 3-STATE 3-STATE 3-STATE
封装主体材料 PLASTIC/EPOXY PLASTIC/EPOXY PLASTIC/EPOXY PLASTIC/EPOXY
封装代码 TSOP SOJ SOJ TSOP
封装等效代码 TSOP28,.46 SOJ28,.44 SOJ28,.44 TSOP28,.46
封装形状 RECTANGULAR RECTANGULAR RECTANGULAR RECTANGULAR
封装形式 SMALL OUTLINE, THIN PROFILE SMALL OUTLINE SMALL OUTLINE SMALL OUTLINE, THIN PROFILE
电源 3.3 V 3.3 V 3.3 V 3.3 V
认证状态 Not Qualified Not Qualified Not Qualified Not Qualified
刷新周期 4096 4096 4096 4096
自我刷新 NO NO NO NO
最大待机电流 0.001 A 0.001 A 0.001 A 0.001 A
最大压摆率 0.09 mA 0.09 mA 0.11 mA 0.1 mA
标称供电电压 (Vsup) 3.3 V 3.3 V 3.3 V 3.3 V
表面贴装 YES YES YES YES
技术 CMOS CMOS CMOS CMOS
温度等级 COMMERCIAL COMMERCIAL COMMERCIAL COMMERCIAL
端子面层 Tin/Lead (Sn/Pb) Tin/Lead (Sn/Pb) Tin/Lead (Sn/Pb) Tin/Lead (Sn/Pb)
端子形式 GULL WING J BEND J BEND GULL WING
端子节距 1.27 mm 1.27 mm 1.27 mm 1.27 mm
端子位置 DUAL DUAL DUAL DUAL
CC4008 四位二进制超前进位全加器
本文很详细的说明了CC4008 四位二进制超前进位全加器的原理和过程 CC4008 四位二进制超前进...
rain 模拟电子
PIC单片机16F84的内部硬件资源(一)
PIC 单片机 16F 84 的内部硬件资源(一) PIC单片机1...
rain Microchip MCU
电子技术基础模拟部分
电子技术基础模拟部分 下载地址 http://www.cndzz.com/down/down_go...
fighting 嵌入式系统
ST NUCLEO-H533RE硬件浅析
本帖最后由 crz_21 于 2024-7-29 23:09 编辑 一、官方对开发板的介绍...
crz_21 stm32/stm8
《拥抱AIGC 应用ChatGPT和OpenAI API》 整书速览及其第一部分基础知识阅读
本帖最后由 MioChan 于 2024-8-14 16:19 编辑 前几天终于收到...
MioChan 嵌入式系统
基于LP-MSPM0C1104的温度计
本帖最后由 lugl4313820 于 2024-8-7 15:37 编辑 【前言】 我在...
lugl4313820 MSPM0 MCU
热门器件
热门资源推荐
器件捷径:
L0 L1 L2 L3 L4 L5 L6 L7 L8 L9 LA LB LC LD LE LF LG LH LI LJ LK LL LM LN LO LP LQ LR LS LT LU LV LW LX LY LZ M0 M1 M2 M3 M4 M5 M6 M7 M8 M9 MA MB MC MD ME MF MG MH MI MJ MK ML MM MN MO MP MQ MR MS MT MU MV MW MX MY MZ N0 N1 N2 N3 N4 N5 N6 N7 N8 NA NB NC ND NE NF NG NH NI NJ NK NL NM NN NO NP NQ NR NS NT NU NV NX NZ O0 O1 O2 O3 OA OB OC OD OE OF OG OH OI OJ OK OL OM ON OP OQ OR OS OT OV OX OY OZ P0 P1 P2 P3 P4 P5 P6 P7 P8 P9 PA PB PC PD PE PF PG PH PI PJ PK PL PM PN PO PP PQ PR PS PT PU PV PW PX PY PZ Q1 Q2 Q3 Q4 Q5 Q6 Q8 Q9 QA QB QC QE QF QG QH QK QL QM QP QR QS QT QV QW QX QY R0 R1 R2 R3 R4 R5 R6 R7 R8 R9 RA RB RC RD RE RF RG RH RI RJ RK RL RM RN RO RP RQ RR RS RT RU RV RW RX RY RZ
索引文件:
2901  458  2357  2206  1319  59  10  48  45  27 
需要登录后才可以下载。
登录取消
下载 PDF 文件