首页 > 器件类别 > 存储 > 存储
 PDF数据手册

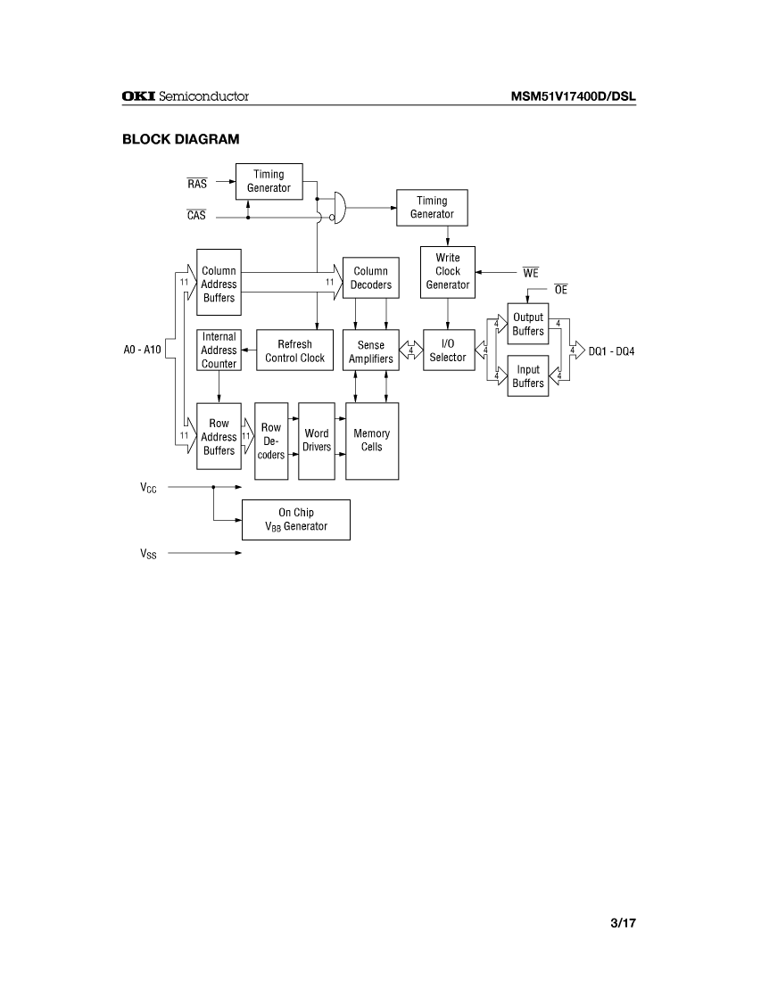
MSM51V17400DSL-70TS-K

描述:
Fast Page DRAM, 4MX4, 70ns, CMOS, PDSO24,
分类:
存储    存储   
文件大小:
717KB,共17页
制造商:
概述
Fast Page DRAM, 4MX4, 70ns, CMOS, PDSO24,
器件参数
参数名称
属性值
是否Rohs认证
不符合
厂商名称
LAPIS Semiconductor Co Ltd
包装说明
TSOP, TSOP24/26,.36
Reach Compliance Code
unknown
最长访问时间
70 ns
I/O 类型
COMMON
JESD-30 代码
R-PDSO-G24
JESD-609代码
e0
内存密度
16777216 bit
内存集成电路类型
FAST PAGE DRAM
内存宽度
4
端子数量
24
字数
4194304 words
字数代码
4000000
最高工作温度
70 °C
最低工作温度
组织
4MX4
输出特性
3-STATE
封装主体材料
PLASTIC/EPOXY
封装代码
TSOP
封装等效代码
TSOP24/26,.36
封装形状
RECTANGULAR
封装形式
SMALL OUTLINE, THIN PROFILE
电源
3.3 V
认证状态
Not Qualified
刷新周期
2048
自我刷新
YES
最大待机电流
0.0002 A
最大压摆率
0.08 mA
标称供电电压 (Vsup)
3.3 V
表面贴装
YES
技术
CMOS
温度等级
COMMERCIAL
端子面层
Tin/Lead (Sn/Pb)
端子形式
GULL WING
端子节距
1.27 mm
端子位置
DUAL
文档预览
参数对比
与MSM51V17400DSL-70TS-K相近的元器件有:MSM51V17400D-70TS-K、MSM51V17400D-60TS-K、MSM51V17400D-50SJ、MSM51V17400D-70SJ、MSM51V17400DSL-60TS-K。描述及对比如下:
型号 MSM51V17400DSL-70TS-K MSM51V17400D-70TS-K MSM51V17400D-60TS-K MSM51V17400D-50SJ MSM51V17400D-70SJ MSM51V17400DSL-60TS-K
描述 Fast Page DRAM, 4MX4, 70ns, CMOS, PDSO24, Fast Page DRAM, 4MX4, 70ns, CMOS, PDSO24 Fast Page DRAM, 4MX4, 60ns, CMOS, PDSO24 Fast Page DRAM, 4MX4, 50ns, CMOS, PDSO24 Fast Page DRAM, 4MX4, 70ns, CMOS, PDSO24 Fast Page DRAM, 4MX4, 60ns, CMOS, PDSO24,
是否Rohs认证 不符合 不符合 不符合 不符合 不符合 不符合
包装说明 TSOP, TSOP24/26,.36 TSOP, TSOP24/26,.36 TSOP, TSOP24/26,.36 SOJ, SOJ24/26,.34 SOJ, SOJ24/26,.34 TSOP, TSOP24/26,.36
Reach Compliance Code unknown unknown unknown unknown unknown unknow
最长访问时间 70 ns 70 ns 60 ns 50 ns 70 ns 60 ns
I/O 类型 COMMON COMMON COMMON COMMON COMMON COMMON
JESD-30 代码 R-PDSO-G24 R-PDSO-G24 R-PDSO-G24 R-PDSO-J24 R-PDSO-J24 R-PDSO-G24
JESD-609代码 e0 e0 e0 e0 e0 e0
内存密度 16777216 bit 16777216 bit 16777216 bit 16777216 bit 16777216 bit 16777216 bi
内存集成电路类型 FAST PAGE DRAM FAST PAGE DRAM FAST PAGE DRAM FAST PAGE DRAM FAST PAGE DRAM FAST PAGE DRAM
内存宽度 4 4 4 4 4 4
端子数量 24 24 24 24 24 24
字数 4194304 words 4194304 words 4194304 words 4194304 words 4194304 words 4194304 words
字数代码 4000000 4000000 4000000 4000000 4000000 4000000
最高工作温度 70 °C 70 °C 70 °C 70 °C 70 °C 70 °C
组织 4MX4 4MX4 4MX4 4MX4 4MX4 4MX4
输出特性 3-STATE 3-STATE 3-STATE 3-STATE 3-STATE 3-STATE
封装主体材料 PLASTIC/EPOXY PLASTIC/EPOXY PLASTIC/EPOXY PLASTIC/EPOXY PLASTIC/EPOXY PLASTIC/EPOXY
封装代码 TSOP TSOP TSOP SOJ SOJ TSOP
封装等效代码 TSOP24/26,.36 TSOP24/26,.36 TSOP24/26,.36 SOJ24/26,.34 SOJ24/26,.34 TSOP24/26,.36
封装形状 RECTANGULAR RECTANGULAR RECTANGULAR RECTANGULAR RECTANGULAR RECTANGULAR
封装形式 SMALL OUTLINE, THIN PROFILE SMALL OUTLINE, THIN PROFILE SMALL OUTLINE, THIN PROFILE SMALL OUTLINE SMALL OUTLINE SMALL OUTLINE, THIN PROFILE
电源 3.3 V 3.3 V 3.3 V 3.3 V 3.3 V 3.3 V
认证状态 Not Qualified Not Qualified Not Qualified Not Qualified Not Qualified Not Qualified
刷新周期 2048 2048 2048 2048 2048 2048
自我刷新 YES NO NO NO NO YES
最大待机电流 0.0002 A 0.0005 A 0.0005 A 0.0005 A 0.0005 A 0.0002 A
最大压摆率 0.08 mA 0.08 mA 0.09 mA 0.1 mA 0.08 mA 0.09 mA
标称供电电压 (Vsup) 3.3 V 3.3 V 3.3 V 3.3 V 3.3 V 3.3 V
表面贴装 YES YES YES YES YES YES
技术 CMOS CMOS CMOS CMOS CMOS CMOS
温度等级 COMMERCIAL COMMERCIAL COMMERCIAL COMMERCIAL COMMERCIAL COMMERCIAL
端子面层 Tin/Lead (Sn/Pb) Tin/Lead (Sn/Pb) Tin/Lead (Sn/Pb) Tin/Lead (Sn/Pb) Tin/Lead (Sn/Pb) Tin/Lead (Sn/Pb)
端子形式 GULL WING GULL WING GULL WING J BEND J BEND GULL WING
端子节距 1.27 mm 1.27 mm 1.27 mm 1.27 mm 1.27 mm 1.27 mm
端子位置 DUAL DUAL DUAL DUAL DUAL DUAL
厂商名称 LAPIS Semiconductor Co Ltd - LAPIS Semiconductor Co Ltd LAPIS Semiconductor Co Ltd LAPIS Semiconductor Co Ltd LAPIS Semiconductor Co Ltd
这个专业很热门--电子信息工程专业介绍
这个专业很热门--电子信息工程专业介绍 ...
fighting 模拟电子
高频电源变压器磁芯的设计原理
1 引言 电子信息产业的迅速发展,对高频...
feifei 电源技术
 USB2.0闪存盘控制芯片“优芯II号”的特点及应用电路
  USB2.0 闪存盘控 深圳市朗科科技有限公司于 2005 年 8 月发布了采用 0....
fighting 工业自动化与控制
【STM32H5 NUCLEO H533RE测评】07 Labview上位机控制LED亮灭
本帖最后由 Maker_kun 于 2024-8-18 17:40 编辑 上位机程序设计:...
Maker_kun stm32/stm8
一起读《机器学习算法与实现 —— Python编程与应用实例》- 第5章 k均值聚类算法
上一章的k最近邻算法是一种分类方法,是监督学习的一种;而k均值聚类算法是一种聚类算法,是无监督学习...
硬核王同学 嵌入式系统
《嵌入式软件的时间分析》书友问答接龙 第八集:软件运行时间优化
读到了这里,小伙伴们是不是已经get如何优化软件运行时间? 《嵌入式软件的时间分析》的书友们...
nmg 汽车电子
热门器件
热门资源推荐
器件捷径:
A0 A1 A2 A3 A4 A5 A6 A7 A8 A9 AA AB AC AD AE AF AG AH AI AJ AK AL AM AN AO AP AQ AR AS AT AU AV AW AX AY AZ B0 B1 B2 B3 B4 B5 B6 B7 B8 B9 BA BB BC BD BE BF BG BH BI BJ BK BL BM BN BO BP BQ BR BS BT BU BV BW BX BY BZ C0 C1 C2 C3 C4 C5 C6 C7 C8 C9 CA CB CC CD CE CF CG CH CI CJ CK CL CM CN CO CP CQ CR CS CT CU CV CW CX CY CZ D0 D1 D2 D3 D4 D5 D6 D7 D8 D9 DA DB DC DD DE DF DG DH DI DJ DK DL DM DN DO DP DQ DR DS DT DU DV DW DX DZ
索引文件:
2336  766  834  2857  2560  48  16  17  58  52 
需要登录后才可以下载。
登录取消
下载 PDF 文件