首页 > 器件类别 > 存储 > 存储
 PDF数据手册

MSM548512L-10GS

描述:
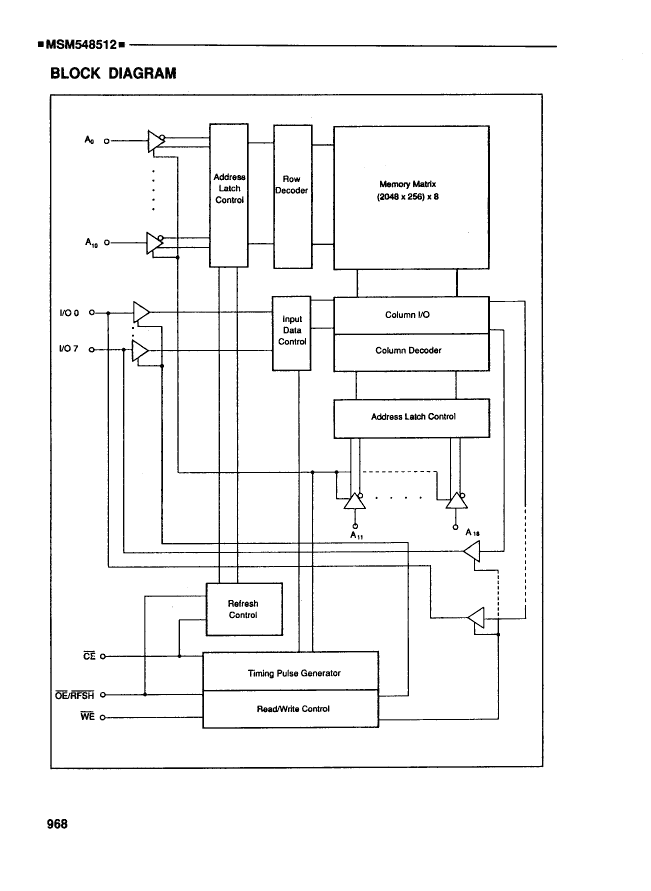
Memory IC, 512KX8, CMOS, PDSO32
分类:
存储    存储   
文件大小:
396KB,共11页
制造商:
概述
Memory IC, 512KX8, CMOS, PDSO32
器件参数
参数名称
属性值
是否Rohs认证
不符合
厂商名称
LAPIS Semiconductor Co Ltd
包装说明
SOP, SOP32,.56
Reach Compliance Code
unknown
最长访问时间
100 ns
I/O 类型
COMMON
JESD-30 代码
R-PDSO-G32
JESD-609代码
e0
内存密度
4194304 bit
内存宽度
8
端子数量
32
字数
524288 words
字数代码
512000
最高工作温度
70 °C
最低工作温度
组织
512KX8
输出特性
3-STATE
封装主体材料
PLASTIC/EPOXY
封装代码
SOP
封装等效代码
SOP32,.56
封装形状
RECTANGULAR
封装形式
SMALL OUTLINE
电源
5 V
认证状态
Not Qualified
自我刷新
YES
最大待机电流
0.0002 A
最小待机电流
4.5 V
最大压摆率
0.075 mA
标称供电电压 (Vsup)
5 V
表面贴装
YES
技术
CMOS
温度等级
COMMERCIAL
端子面层
Tin/Lead (Sn/Pb)
端子形式
GULL WING
端子节距
1.27 mm
端子位置
DUAL
文档预览
参数对比
与MSM548512L-10GS相近的元器件有:MSM548512D-12GS、MSM548512D-10RS、MSM548512D-80RS、MSM548512L-80GS、MSM548512D-80GS。描述及对比如下:
型号 MSM548512L-10GS MSM548512D-12GS MSM548512D-10RS MSM548512D-80RS MSM548512L-80GS MSM548512D-80GS
描述 Memory IC, 512KX8, CMOS, PDSO32 Memory IC, 512KX8, CMOS, PDSO32 Memory IC, 512KX8, CMOS, PDIP32 Memory IC, 512KX8, CMOS, PDIP32 Memory IC, 512KX8, CMOS, PDSO32 Memory IC, 512KX8, CMOS, PDSO32
是否Rohs认证 不符合 不符合 不符合 不符合 不符合 不符合
厂商名称 LAPIS Semiconductor Co Ltd LAPIS Semiconductor Co Ltd LAPIS Semiconductor Co Ltd LAPIS Semiconductor Co Ltd LAPIS Semiconductor Co Ltd LAPIS Semiconductor Co Ltd
包装说明 SOP, SOP32,.56 SOP, SOP32,.56 DIP, DIP32,.6 DIP, DIP32,.6 SOP, SOP32,.56 SOP, SOP32,.56
Reach Compliance Code unknown unknown unknown unknown unknown unknown
最长访问时间 100 ns 120 ns 100 ns 80 ns 80 ns 80 ns
I/O 类型 COMMON COMMON COMMON COMMON COMMON COMMON
JESD-30 代码 R-PDSO-G32 R-PDSO-G32 R-PDIP-T32 R-PDIP-T32 R-PDSO-G32 R-PDSO-G32
JESD-609代码 e0 e0 e0 e0 e0 e0
内存密度 4194304 bit 4194304 bit 4194304 bit 4194304 bit 4194304 bit 4194304 bit
内存宽度 8 8 8 8 8 8
端子数量 32 32 32 32 32 32
字数 524288 words 524288 words 524288 words 524288 words 524288 words 524288 words
字数代码 512000 512000 512000 512000 512000 512000
最高工作温度 70 °C 70 °C 70 °C 70 °C 70 °C 70 °C
组织 512KX8 512KX8 512KX8 512KX8 512KX8 512KX8
输出特性 3-STATE 3-STATE 3-STATE 3-STATE 3-STATE 3-STATE
封装主体材料 PLASTIC/EPOXY PLASTIC/EPOXY PLASTIC/EPOXY PLASTIC/EPOXY PLASTIC/EPOXY PLASTIC/EPOXY
封装代码 SOP SOP DIP DIP SOP SOP
封装等效代码 SOP32,.56 SOP32,.56 DIP32,.6 DIP32,.6 SOP32,.56 SOP32,.56
封装形状 RECTANGULAR RECTANGULAR RECTANGULAR RECTANGULAR RECTANGULAR RECTANGULAR
封装形式 SMALL OUTLINE SMALL OUTLINE IN-LINE IN-LINE SMALL OUTLINE SMALL OUTLINE
电源 5 V 5 V 5 V 5 V 5 V 5 V
认证状态 Not Qualified Not Qualified Not Qualified Not Qualified Not Qualified Not Qualified
自我刷新 YES NO NO NO YES NO
最大待机电流 0.0002 A 0.0002 A 0.0002 A 0.0002 A 0.0002 A 0.0002 A
最小待机电流 4.5 V 4.5 V 4.5 V 4.5 V 4.5 V 4.5 V
最大压摆率 0.075 mA 0.075 mA 0.075 mA 0.075 mA 0.075 mA 0.075 mA
标称供电电压 (Vsup) 5 V 5 V 5 V 5 V 5 V 5 V
表面贴装 YES YES NO NO YES YES
技术 CMOS CMOS CMOS CMOS CMOS CMOS
温度等级 COMMERCIAL COMMERCIAL COMMERCIAL COMMERCIAL COMMERCIAL COMMERCIAL
端子面层 Tin/Lead (Sn/Pb) Tin/Lead (Sn/Pb) Tin/Lead (Sn/Pb) Tin/Lead (Sn/Pb) Tin/Lead (Sn/Pb) Tin/Lead (Sn/Pb)
端子形式 GULL WING GULL WING THROUGH-HOLE THROUGH-HOLE GULL WING GULL WING
端子节距 1.27 mm 1.27 mm 2.54 mm 2.54 mm 1.27 mm 1.27 mm
端子位置 DUAL DUAL DUAL DUAL DUAL DUAL
热门器件
热门资源推荐
器件捷径:
L0 L1 L2 L3 L4 L5 L6 L7 L8 L9 LA LB LC LD LE LF LG LH LI LJ LK LL LM LN LO LP LQ LR LS LT LU LV LW LX LY LZ M0 M1 M2 M3 M4 M5 M6 M7 M8 M9 MA MB MC MD ME MF MG MH MI MJ MK ML MM MN MO MP MQ MR MS MT MU MV MW MX MY MZ N0 N1 N2 N3 N4 N5 N6 N7 N8 NA NB NC ND NE NF NG NH NI NJ NK NL NM NN NO NP NQ NR NS NT NU NV NX NZ O0 O1 O2 O3 OA OB OC OD OE OF OG OH OI OJ OK OL OM ON OP OQ OR OS OT OV OX OY OZ P0 P1 P2 P3 P4 P5 P6 P7 P8 P9 PA PB PC PD PE PF PG PH PI PJ PK PL PM PN PO PP PQ PR PS PT PU PV PW PX PY PZ Q1 Q2 Q3 Q4 Q5 Q6 Q8 Q9 QA QB QC QE QF QG QH QK QL QM QP QR QS QT QV QW QX QY R0 R1 R2 R3 R4 R5 R6 R7 R8 R9 RA RB RC RD RE RF RG RH RI RJ RK RL RM RN RO RP RQ RR RS RT RU RV RW RX RY RZ
索引文件:
135  613  1953  2915  1821  3  13  40  59  37 
需要登录后才可以下载。
登录取消
下载 PDF 文件