首页 > 器件类别 > 嵌入式处理器和控制器 > 微控制器和处理器
 PDF数据手册

MSM64172GS-K

描述:
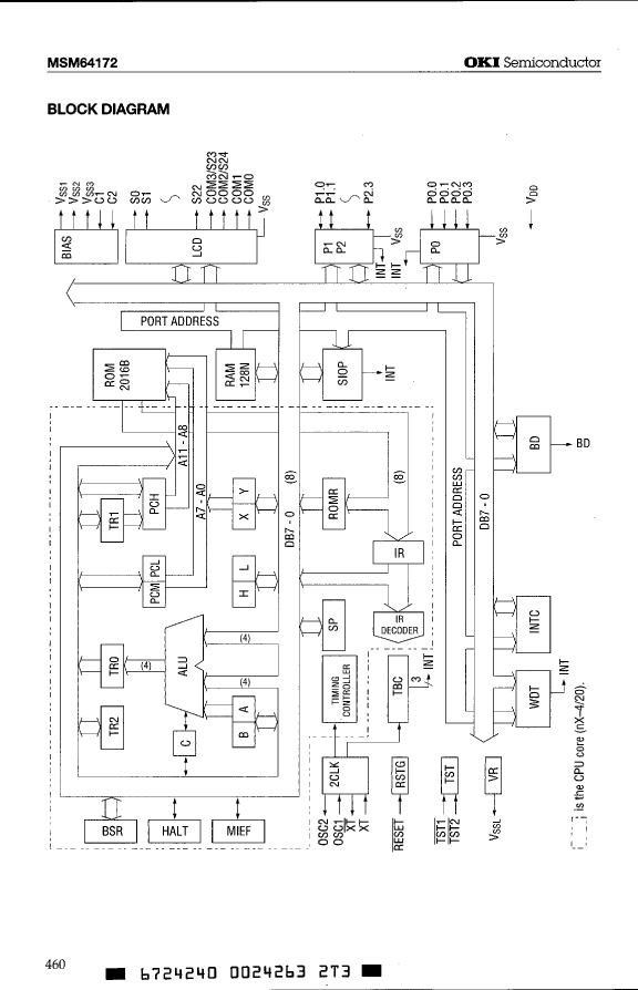
Microcontroller, 4-Bit, MROM, OLMS-64K CPU, 0.6MHz, CMOS, PQFP56
分类:
文件大小:
929KB,共27页
制造商:
概述
Microcontroller, 4-Bit, MROM, OLMS-64K CPU, 0.6MHz, CMOS, PQFP56
器件参数
参数名称
属性值
是否Rohs认证
不符合
厂商名称
LAPIS Semiconductor Co Ltd
包装说明
QFP, QFP56,.53X.57
Reach Compliance Code
unknown
位大小
4
CPU系列
OLMS-64K
JESD-30 代码
S-PQFP-G56
JESD-609代码
e0
端子数量
56
最高工作温度
65 °C
最低工作温度
-10 °C
封装主体材料
PLASTIC/EPOXY
封装代码
QFP
封装等效代码
QFP56,.53X.57
封装形状
SQUARE
封装形式
FLATPACK
电源
-1.5/-3,-4.5 V
认证状态
Not Qualified
RAM(字节)
64
ROM(单词)
2016
ROM可编程性
MROM
速度
0.6 MHz
最大压摆率
0.5 mA
表面贴装
YES
技术
CMOS
温度等级
COMMERCIAL
端子面层
Tin/Lead (Sn/Pb)
端子形式
GULL WING
端子节距
0.635 mm
端子位置
QUAD
文档预览
参数对比
与MSM64172GS-K相近的元器件有:MSM64172GS-2K。描述及对比如下:
型号 MSM64172GS-K MSM64172GS-2K
描述 Microcontroller, 4-Bit, MROM, OLMS-64K CPU, 0.6MHz, CMOS, PQFP56 Microcontroller, 4-Bit, MROM, OLMS-64K CPU, 0.6MHz, CMOS, PQFP56
是否Rohs认证 不符合 不符合
厂商名称 LAPIS Semiconductor Co Ltd LAPIS Semiconductor Co Ltd
包装说明 QFP, QFP56,.53X.57 QFP, QFP56,.53X.57
Reach Compliance Code unknown unknow
位大小 4 4
CPU系列 OLMS-64K OLMS-64K
JESD-30 代码 S-PQFP-G56 S-PQFP-G56
JESD-609代码 e0 e0
端子数量 56 56
最高工作温度 65 °C 65 °C
最低工作温度 -10 °C -10 °C
封装主体材料 PLASTIC/EPOXY PLASTIC/EPOXY
封装代码 QFP QFP
封装等效代码 QFP56,.53X.57 QFP56,.53X.57
封装形状 SQUARE SQUARE
封装形式 FLATPACK FLATPACK
电源 -1.5/-3,-4.5 V -1.5/-3,-4.5 V
认证状态 Not Qualified Not Qualified
RAM(字节) 64 64
ROM(单词) 2016 2016
ROM可编程性 MROM MROM
速度 0.6 MHz 0.6 MHz
最大压摆率 0.5 mA 0.5 mA
表面贴装 YES YES
技术 CMOS CMOS
温度等级 COMMERCIAL COMMERCIAL
端子面层 Tin/Lead (Sn/Pb) Tin/Lead (Sn/Pb)
端子形式 GULL WING GULL WING
端子节距 0.635 mm 0.635 mm
端子位置 QUAD QUAD
热门器件
热门资源推荐
器件捷径:
L0 L1 L2 L3 L4 L5 L6 L7 L8 L9 LA LB LC LD LE LF LG LH LI LJ LK LL LM LN LO LP LQ LR LS LT LU LV LW LX LY LZ M0 M1 M2 M3 M4 M5 M6 M7 M8 M9 MA MB MC MD ME MF MG MH MI MJ MK ML MM MN MO MP MQ MR MS MT MU MV MW MX MY MZ N0 N1 N2 N3 N4 N5 N6 N7 N8 NA NB NC ND NE NF NG NH NI NJ NK NL NM NN NO NP NQ NR NS NT NU NV NX NZ O0 O1 O2 O3 OA OB OC OD OE OF OG OH OI OJ OK OL OM ON OP OQ OR OS OT OV OX OY OZ P0 P1 P2 P3 P4 P5 P6 P7 P8 P9 PA PB PC PD PE PF PG PH PI PJ PK PL PM PN PO PP PQ PR PS PT PU PV PW PX PY PZ Q1 Q2 Q3 Q4 Q5 Q6 Q8 Q9 QA QB QC QE QF QG QH QK QL QM QP QR QS QT QV QW QX QY R0 R1 R2 R3 R4 R5 R6 R7 R8 R9 RA RB RC RD RE RF RG RH RI RJ RK RL RM RN RO RP RQ RR RS RT RU RV RW RX RY RZ
索引文件:
2602  728  2826  2737  1074  53  15  57  56  22 
需要登录后才可以下载。
登录取消
下载 PDF 文件