历史上的今天
今天是:2025年01月04日(星期六)
2019年01月04日 | 戴尔笔记本新专利:磁性键盘可连接多显示器
2019-01-04 来源:IT之家
1月4日消息 近日,戴尔获得了一项新的笔记本专利,这项专利为笔记本形态发展带来新的思路。
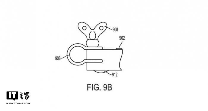
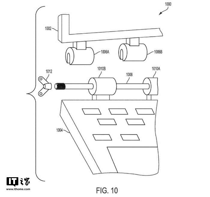
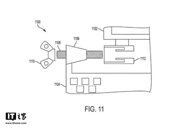
戴尔的这一专利在2017年6月正式提交,今年1月3日获得美国商标和专利局的审批通过,专利名称为“拥有多个可分离显示器的信息处理系统”。专利中介绍通过二合一电脑的磁性键盘连接多个便携外接显示设备。从而扩展桌面提升工作效率。

戴尔专利还允许二合一电脑与便携外接显示器使用方向不同,这样也能更好的为客户展示信息。除此之外,戴尔的这项专利还建议用户将第二个便携屏幕放到笔记本底部,这样也方便随身携带。
鉴于戴尔这一专利刚审批通过不久,一时半会成品还不会有,不过这样多形态的二合一设备也是一种突破。但是两个屏幕自然会带来耗电问题,如果能兼顾续航和轻薄度,戴尔这样的产品或许会受到市场青睐。
更多专利细节:















史海拾趣
|
在测量、控制等领域的应用中,常要求单片机内部和外部RAM中的数据在电源掉电时不丢失,重新加电时,RAM中的数据能够保存完好,这就要求对单片机系统加接掉电保护电路。掉电保护通常可采用以下三种方法:一是加接不间断电源,让整个系统在掉电 ...… 查看全部问答> |
|
<汇编器提示> COPYRIGHT MANLEY ELECTRONICS CO., LTD. 2001-2006 <汇编器提示> ASSEMBLY COMPLETE. 0 WARNING(S), 1 ERROR(S) ERROR #14 IN 560 (VCJPDH.ASM, LINE 560): TAR ...… 查看全部问答> |
|
我司(安徽某科技股份公司)欲招聘以下人员:一、产品经理岗位职责: 1、针对客户需求制定解决方案并进行推广;2、配合销售人员拓展相关市场,与客户进行沟通交流;3、分析研究集成电路的发展趋势和技术进展,为公司战略决策提供建议;4、参 ...… 查看全部问答> |
|
MSP430F541x, MSP430F543x ,MSP430F543xA,MSP430F541x,MSP430F55xxA官方示例代码 附件中代码是TI提供的MSP430F541x, MSP430F543x ,MSP430F543xA,MSP430F541xA, MSP430F55xx 官方示例代码,可以作为MSP430使用过程中最可靠的代码参考 [ 本帖最后由 wstt 于 2012-5-31 20:52 编辑 ]… 查看全部问答> |




