历史上的今天
今天是:2025年01月04日(星期六)
2019年01月04日 | 2019年01月03日最新科技巨头AR/VR专利报告
2019-01-04 来源:映维网

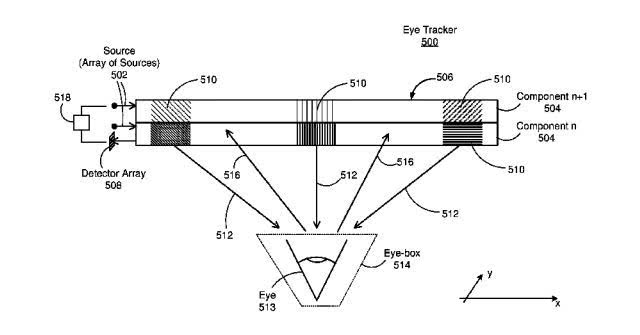
一种用于确定眼睛位置的眼动追踪器,可集成到头显之中。眼动追踪器包括至少一个含有光栅结构阵列的波导,一个光源阵列,一个检测器,以及一个控制器。 控制器一次激活至少一个光源以发射至少一个光束,而光束从至少一个波导中进行传播并经由光栅结构阵列朝向用户眼睛耦合输出。从用户眼睛和皮肤表面反射的光信号耦合到至少一个波导,并传播到用于捕捉光信号的检测器。控制器计算反射光信号大小以获得转换光信号的特征,并基于转换光信号的特征确定用户眼睛的位置与方向。
5. 《Facebook Patent | Single chip superluminous light emitting diode array for waveguide displays(Facebook专利:波导显示器的单晶片超光亮发光二极管阵列)》

用于提供光线的光源组件。 源组件包括源元件阵列和扫描镜组件。源元件阵列包括配置成发光的超发光二极管(SLED)阵列。 SLED阵列位于单晶片上。SLED阵列中的每个SLED可以在相同颜色通道中发光。系统可以存在多个SLED阵列,而每个SLED阵列在相应的单晶片上,并且每个SLED阵列与不同的颜色通道相关联(例如,一个是红色,一个是蓝色,一个是绿色)。扫描镜组件配置为将来自SLED阵列(和/或多个SLED阵列)的光线作为扫描图像光扫描至输出波导的入射位置。
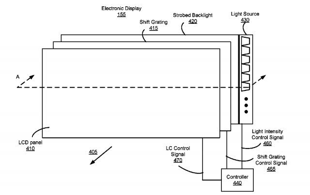
6. 《Facebook Patent | Interlaced liquid crystal display panel and backlight used in a head mounted display(Facebook专利:用于头显的隔行扫描液晶显示器面板与背光)》

液晶显示设备隔行扫描以适应液晶设定时间,同时无需牺牲亮度。LCD设备包括含有第一组(如偶数)像素线和第二组(如奇数)像素线的LCD面板;设置在LCD面板背后以向偶数和奇数像素线发光的背光版;设置在LCD和背光板之间的移位光栅配置为阻挡背光板光线到达第一组像素线或第二组像素线;以及一个控制器。控制器通过隔行扫描驱动LCD面板,协调背光板的激活,并改变移位光栅的状态以阻挡背光板光线到达第一组像素线或第二组像素线。
7. 《Microsoft Patent | Magnetometer arrays for inertial navigation, mapping, and drift compensation(微软专利:用于惯性导航,映射和偏移补偿的磁强计阵列)》

本专利举例说明了可用作惯性测量单元,或作为惯性测量单元(IMU)一部分的磁力计阵列。专利同时公开了利用这种阵列以获得高精度特定位置数据的各种方法,而后者可用于校正偏移。 在某些实施例中,可根据磁力计测量值计算磁场的雅可比矩阵。雅可比矩阵数据可用于生成特定环境的磁场图,和/或通过参考这样的磁场图来定位惯性测量单元的位置,速度和加速度。
8. 《Microsoft Patent | Saving augmented realities(微软专利:储存增强现实)》

储存增强现实包括利用增强现实设备采集物理空间的观察信息,以及利用增强现实设备获得与物理空间相关联的增强信息。物理空间的增强视图包含增强信息的虚拟呈现,并可通过增强现实设备进行虚拟渲染,而增强视图则可进行储存并用于后续回放。
9. 《Microsoft Patent | Augmented reality(微软专利:增强现实)》

增强现实系统接收真实世界环境一部分的多个本地3D模型,每个模型在位于现实世界环境中时由不同的AR设备生成。本地3D模型可进行组合并生成全局3D模型,其中至少部分模型将发送至远离现实世界环境的设备。与单独的本地3D模型相比,全局3D模型代表真实环境的更大部分。AR系统从远程设备接收渲染数据,并在AR设备位于现实世界环境中时将其发送到AR设备。 或者,渲染数据可以直接通过网络从远程设备发送至AR设备。渲染数据用于在真实世界环境中渲染AR设备的虚拟对象。
10. 《Microsoft Patent | Relational rendering of holographic objects(微软专利:全息对象的关联扫描)》

用于根据全息对象与识别物理对象之间的物理关系来渲染全息对象的计算机系统,方法和存储介质。系统可将虚拟属性分配给物理对象,而为了响应检测到的物理关系变化,全息对象将至少部分根据由物理关系变化和分配给物理对象的属性进行渲染。
11. 《Microsoft Patent | Reality mixer for mixed reality(微软专利:混合现实的现实混合器)》

混合现实显示设备包括输入系统,显示器和图形处理器。输入系统配置为接收参数值;显示器配置为显示虚拟图像内容;而图形处理器则耦合至输入系统和显示器;,并配置为渲染虚拟图像内容,从而根据参数值改变现实世界环境的感知真实性。
12. 《Google Patent | Wiring in a head-mountable device(谷歌专利:头戴设备的布线)》

本发明涉及一种包括两个轮缘的头戴设备,每个轮缘的内顶部都包括轮缘腔。每个轮缘腔分为两部分,第一部分从相应的轮缘腔延伸至第一深度,第二部分则从第一深度延伸到相应轮缘腔的底部。其中第一部分可用以固定透镜,第二部分则作为固定一根或多根缆线的线槽;。一个鼻垫将用于连接两个轮缘,其中鼻垫的背部包括连接每个轮缘腔第二部分的桥腔,而且桥腔是线槽的一部分。
13. 《Sony Patent | Selective peripheral vision filtering in a foveated rendering system(索尼专利:注视点渲染系统中的选择性外围视觉过滤)》

注视追踪数据可用于生成表示一个或多个注视点图像数据。系统将选择性地过滤位于注视区域之外的图像数据,从而在合成注视点图像之前减少因较低细节水平造成的对比度而导致的视觉伪影。
14. 《Sony Patent | Wearable display system that displays a workout guide(索尼专利:显示健身指导的可穿戴显示系统)》

显示控制设备包括一个用于获取另一名用户过去动作的动作信息获取单元;一个用于生成说明另一名用户动作位置的对象生成单元;以及一个驱动显示单元在动作期间叠加显示虚拟对象的显示控制单元。
15. 《Intel Patent | Virtual guard rails(英特尔专利:虚拟导轨)》

用于实现虚拟导轨的方法包括采集表示用户限制的用户参数,并用于由计算机执行的计算机模拟。系统将为超出用户参数的虚拟内容监视计算机模拟的执行。监控行为可以在向用户显示内容之前进行实现执行。超出用户参数的虚拟内容将替换为位于用户参数之内的虚拟导轨内容。
史海拾趣
|
来源于AVR网站 /***************************************************************************** * * Atmel Corporation * * File : main.c * Compiler : IAR EWAAVR 2 ...… 查看全部问答> |
|
1、解压后将此文件放入C盘 2、在放入C盘后,在FONT.EXE文件中编辑你所要放的汉字 3、编辑好汉字后,在PROTEL99SE的PCB状态下,找到你放入PROTELHZ文件夹的路径,导入PCBHZ.LIB文件 采用以上步 ...… 查看全部问答> |
|
项目:飞行体验项目 说明: 飞行体验装置由现时屏幕和控制器两部分组成,控制器为飞鸟外形,小朋友们可以俯卧在控制器上操作飞行器,电脑模拟的飞行场景以及小朋友的操作结果会在显示屏幕上显示 &n ...… 查看全部问答> |
|
本方案包括PWM 3路;A/D输入6路;双向I/O口 7路;D/A输出1路。要求用PIC、瑞萨或ATMEL 的八位单片机,如有兴趣请联系18923776056 或QQ1538444360 [ 本帖最后由 vpgpu 于 2011-1-2 19:50 编辑 ]… 查看全部问答> |
|
关于NE555的问题。当输入高电平,输出低电平不够低怎么办?量出来2.7。 做单稳电路。高电平3.7,低电平2.7。 [ 本帖最后由 huang91 于 2011-11-10 15:49 编辑 ]… 查看全部问答> |
|
Master or slave Master runs up to sys_clk/2 (25Mb @ 50MHz) Slave runs up to sys_clk/12 (4.1667Mb @ 50MHz) … 查看全部问答> |
|
我用的芯片是LM3S2B93,Keil4工程,调试PWM时怎么也产生不了PWM,其他功能正常,大家帮忙看下是怎么回事啊~急急!! unsigned long gSysClock = 12000000UL; #define PWM_FREQ 6000 & ...… 查看全部问答> |




