历史上的今天
今天是:2025年01月23日(星期四)
2019年01月23日 | 集成电路服务提供商“衡宇科技”完成新一轮融资
2019-01-23 来源:铅笔道

铅笔道独家获悉,集成电路服务提供商“衡宇科技 ”完成新一轮融资,本轮资方为鸿泰基金、东方富海、南山创投、国微集团(深圳)有限公司。
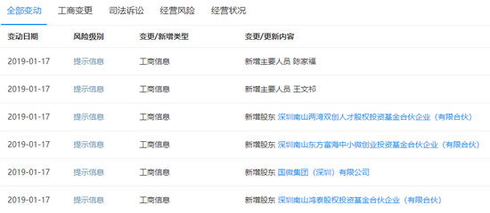
“企查查”数据显示,“衡宇科技”工商信息于2019年1月17日发生变更,新增四名股东即 深圳南山鸿泰股权投资基金合伙企业(有限合伙)、 深圳南山东方富海中小微创业投资基金合伙企业(有限合伙)、 深圳南山两湾双创人才股权投资基金合伙企业(有限合伙)、 国微集团(深圳)有限公司。据悉,前三者分别为鸿泰基金、东方富海、南山创投的投资实体。

图片来源“企查查”
由于消费类电子产品(手机、平板电脑、NB、存储卡、移动硬盘等)对Flash(闪存)的需求剧增,全球NAND Flash市场预估由2010年200亿美元发展到2020年600亿美元。
随着Flash制程的发展,先进制程产出的Flash效能愈来愈差,Flash Controller IC(闪存控制芯片)的技术门坎则愈来愈高,对各大NAND Flash厂的重要性从以往配角角色转变为互相依赖的伙伴关系。
衡宇科技是一家集成电路服务提供商,专注于集成电路、微电子产品、快闪记忆体模块的研发及销售服务,为用户提供应用于通讯、消费电子及数据处理行业的闪存主控芯片产品。
史海拾趣
|
仿真时出现以下错误!不知道怎么设置!请各位帮助! U1 Error: Pin order data (PINS=1:[]) not in READ ONLY field 4. Pins sorted by pin-name. U1 Error: Part type must be entered in READ ONLY field 1: type=() U1 Error: Netlist data m ...… 查看全部问答> |
|
之前看到有朋友用NEC的单片机,找不到资料,这里放上 因为有几百兆,所以选择放链接,请斑竹谅解: 1.NEC单片机选型手册 http://www.getsoon.com.cn/bbs/viewthread.php?tid=2&;extra=page%3D1 2.NEC单片机开发环境 h ...… 查看全部问答> |
|
加速度传感器可以用来测量加速度、运动、冲击、振动、倾角和压力,产品的应用领域包括汽车工业、其他移动机器以及范围广泛的终端设备、医疗设备、运动健身和娱乐领域。 2楼:浅谈 3D-MEMS 加速度传感器 3楼:在消费电子设备中如何选择和集成MEMS ...… 查看全部问答> |
|
请教: 我想用 PWM 输出占空比变化的电压 见附件 资料上还有一段话: CPS2/CPS1/CPS0 = 1/0/0 时,PCA/PWM 的时钟源是 Fosc, 不用 Timer0, PWM 的频率为 Fosc/256,如果使用系统时钟 /3 来作为 PCA 的时钟源,应让 T0 工作在 1T 模式, 记数 3 个 ...… 查看全部问答> |
|
请问GPRS模块能直接向上位PC机发送短消息吗,哪位大侠知道 我用sim508模块扩展了一个外围电路,用ARM9开发板通过串口对其进行控制,如果我的上位机没有GPRS模块,能不能接收来自下位机的短消息呢,类似于飞信一样的应用程序?谢谢啦… 查看全部问答> |




