历史上的今天
今天是:2025年01月24日(星期五)
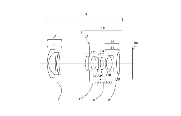
2019年01月24日 | 打造轻量化镜头 佳能公布多款EF-M镜头专利
2019-01-24 来源:蜂鸟网
来自CR的消息,近日佳能在日本公布了一系列的镜头专利。从专利描述文件显示来看,此次公布的均为EF-M镜头专利,其中包括新款EF-M 16-50mm f/3.5-5.6镜头,EF-M 15-45mm f/3.5-6.3镜头,EF-M 18-130mm f/3.5-5.6镜头,EF-M 18-200mm f/3.5-6.3镜头,以及EF-M 15-130mm f/3.5-6.3的镜头专利技术。据了解,佳能EF-M系列的新镜头在设计上主要瞄准轻量化,并且会进一步提升镜头的自动对焦性能,同时在镜头的失光方面的控制会更进一步。
佳能EF-M镜头专利
·编辑观点:
佳能是目前拥有最多卡口的相机厂商,多个卡口系统需要发展,显然最新推出的RF卡口显然是被重点发展的,不过佳能也从未放弃对EF-M系统的支持。从此次公布的镜头专利来看,新镜头均为变焦非恒定光圈镜头,这主要是为了打造轻量化的镜头,如果一切顺利的话,我们很有可能在明年看到佳能推出这些镜头。
史海拾趣
|
各位达人,我在做PCB板的时候对于如何根据元件数值选取元件封装时感到很吃力,举个例子 1.在选取三极管的时候,什么时候选TO-92A,什么时候选TO-92B? 2.一个电容比如一个100N/250V的电容,选取的是RAD0.3,这个电压的要求是不是贴片难以达到, ...… 查看全部问答> |
|
请问各位大侠SRAM与DRAM的区别? 是不是DRAM比SRAM访问速度要快, 两个是不同的存储介质,会不会是内存的某一块是SRAM,另一块是DRAM,只是地址不一样? 请大侠指点指点!谢谢!… 查看全部问答> |
|
本帖最后由 paulhyde 于 2014-9-15 09:47 编辑 传闻今年没有无线通信题目了,不知是否属实。 如果真的没有了,以前做无线通信的该怎么准备呢? … 查看全部问答> |
|
嵌入式单片机安卓画板研发和培训,高薪包就业! 改变人生轨迹 规划职业蓝图! ----信盈达成就您的高薪梦想! 技术顾问:欧阳老师15989362803,QQ:877037118 信盈达科技有限公司专业提供嵌入式Arm+Lin ...… 查看全部问答> |
|
ti5402的端口地址在哪找呢,手册里没发现呀。 ioport unsigned int port8FEE; 这句话后面的8FEE是在哪找的呀 我在手册上找不到 … 查看全部问答> |
|
找了capsense的例程,试着做了capsense控制led的工程。 功能介绍: 用手滑动capsense的触摸板,实现led颜色的改变。 具体连接: 下一步: 利用自带的放大器,完成模拟信号的放大滤波处理。… 查看全部问答> |
|
我C语言很基础····· 这个程序有很多地方都不明白·求大侠给讲解········· 红字部分是我自己理解的·和想不明白的地方············· 可能我表达的会有些不清楚···最好大侠能深刻的讲解下····· C语言我是自学 ...… 查看全部问答> |




