历史上的今天
今天是:2025年02月08日(星期六)
2019年02月08日 | 2019年02月07日最新科技大厂AR/VR专利报告
2019-02-08 来源:映维网
近期美国专利及商标局公布了一批全新的AR/VR专利,以下是映维网的整理(详情请点击专利标题)。
1. 《Facebook Patent | Armband for Tracking Hand Motion Using Electrical Impedance Measurement(Facebook专利:使用电阻抗测量来追踪手部运动的臂带》

所述可穿戴设备包括布置在可穿戴设备不同位置的传感器。每个传感器测量从用户手腕或手臂传输的电信号。位置计算电路耦合至传感器。位置计算电路利用机器学习模型并根据电信号导出的信息来计算描述用户手部位置的输出。
2. 《Facebook Patent | Providing an Augmented Reality Overlay for Display Over a View of a User(在用户视图上提供增强现实叠加层)》

例如,这里描述的系统和方法识别通过增强现实显示设备看到的用户,并且通过增强现实显示设备为用户构建在用户视图上显示的增强现实覆盖。根据增强现实显示设备的位置,以及其他网络系统信息(包括头显用户及其正在通过增强现实显示设备浏览的用户之间的网络系统关系),所述系统和方法将构建增强现实覆盖层。
3. 《Facebook Patent | Parallax Viewer System for 3D Content(Facebook专利:用于3D内容的视差查看器系统》

视差查看器系统允许用户通过传统的2D屏幕浏览3D内容,例如360度3D全景图或其他3D环境。在用户设备上操作的视差查看器系统可以通过面向用户的前置摄像头和2D屏幕来模拟3D环境。通过在用户头部相对于屏幕移动时改变3D环境的渲染视图,视差观察器系统可以通过传统的2D显示器提供VR或3D显示器的一系列沉浸感优势。在一些实施方式中,通过确定前置摄像头与用于显示虚拟环境的屏幕之间的关系,可以校准视差查看器系统,从而令其适应新的工作环境,如新用户设备。
4. 《Google Patent | Wide-Field Radar-Based Gesture Recognition(谷歌专利:基于宽视场雷达的手势识别)》

专利描述的技术和设备利用了基于宽视场雷达的手势识别。所述技术和设备可以实现大范围的手势识别,并利用相关手势来实现对计算设备与非计算设备的使用,控制与交互。
5. 《Google Patent | Controller Tracking for Multiple Degrees of Freedom(谷歌专利:多自由度的控制器追踪)》

一种用于多自由度的控制器追踪方法包括,基于电子设备周遭的本地环境而在电子设备生成深度数据。根据深度数据确定的电子设备姿态,利用与控制器相关联的至少一个空间特征来为与控制器相关联的至少一个空间特征生成一组位置数据。接收一组表示控制器在本地环境中的三个自由度方向的旋转数据,并且位置数据和旋转数据来追踪控制器在本地环境中的六自由度。
6. 《Google Patent | Virtual Reality Environment Boundaries Using Depth Sensors(谷歌专利:利用深度传感器的虚拟现实环境边界)》

一种用于生成虚拟现实环境边界的方法包括,接收来自电子设备深度传感器的一组关于电子设备周遭本地环境的深度数据。另外,接收一组定义虚拟有界平面配置图的外边界数据。至少部分地根据外边界数据集,以及来自本地环境的深度数据来生成虚拟有界平面配置图。另外,确定虚拟有界平面配置图内的电子设备相对姿态,并且根据相对姿态在电子设备显示器显示碰撞警告。
7. 《Google Patent | Depth Data Adjustment Based on Non-Visual Pose Data(谷歌专利:基于非视觉姿态数据的深度数据调整)》

头显根据检测到的系统运动来调整深度信息。头显包括深度摄像头,其采集本地环境中的对象的深度数据。头显同时包括惯性测量单元(IMU),其包括非视觉运动传感器,如一个或多个加速度计和陀螺仪等。头显根据IMU提供的运动数据调整接收的深度信息,从而提高深度信息的准确度,进而减少可能因深度信息不准确性而引起的视觉伪影。
8. 《Qualcomm Patent | Dithered Variable Rate Shading(高通专利:抖动可变速率着色)》

专利描述的各方面涉及用于生成图像内容的设备,其包括存储器和耦合至存储器的处理电路。处理电路配置为基于核心方块的抖动因子和核心方块的分数VRS值来确定核心方块的抖动分数可变速率着色值,并根据抖动分数可变速率着色值来确定抖动分数着色速率。处理电路同时配置为基于抖动分数着色率来渲染图像。
9. 《Qualcomm Patent | Error Concealment in Virtual Reality System(高通专利:虚拟现实系统中的错误隐藏)》

专利描述了用于图像处理的示例技术。根据设备请求前一帧图像内容信息时的姿势信息和请求当前帧图像内容信息的姿势信息,处理电路可以牛恶趣前一帧的图像内容,并将来自扭曲图像内容的图像内容与当前帧的图像内容混合,以生成错误隐藏帧。显示屏幕可以根据错误隐藏帧显示图像内容。
10. 《Qualcomm Patent | Systems and Methods for Improving Content Presentation(高通专利:用于改进内容呈现的系统与方法)》

各种实施例中的系统,方法和设备可用于改进内容呈现。所述的系统,方法和设备可以预测由内容中的一个或多个刺激引起的呈现环境状态。所述系统,方法和设备可以根据呈现环境的预测状态来预测一个或多个通信链路的至少一个通信链路状态。所述系统,方法和设备可以响应于满足一个或多个标准的至少一个通信链路预测状态来执行动作。相关操作可能有助于改进内容呈现。
11. 《Sony Patent | Using a Portable Device to Interface with a Scene Rendered on a Main Display(索尼专利:使用便携式设备来与主显示器上渲染的场景进行接口)》

专利描述了一种与场景接口的方法,包括:在主显示器上呈现显示数据,显示数据定义在主显示器上呈现的场景,显示数据配置为包括视觉提示;通过集成至便携式设备中的图像捕捉设备来捕获显示数据;分析捕捉的显示数据以识别视觉提示;根据视觉提示的识别来确定除显示场景之外的附加信息,亦即定义要添加到场景的图形或文本附加信息;当在便携式设备中的个人显示器上呈现附加信息时,附加信息的呈现与主显示器上的显示数据呈现保持同步。
12. 《Sony Patent | Information Processing Apparatus, Information Processing Method, and Recording Medium(索尼专利:信息处理装置,信息处理方法,以及记录介质)》

专利描述了一种信息处理设备,其可通过更简单的操作来测量真实空间中的距离。所述信息处理设备包括:获取组件,其用于获取由预定成像组件捕捉的图像,以及获取基于成像组件至少一个位置和方向的位置信息;估算组件,其用于根据在第一视点和第二视点位置捕捉的第一图像和第二图像,以及相关的第一位置信息和第二位置信息来估计真实空间中的第一位置和第二位置;测量组件,其用于根据估算结果测量第一位置和第二位置之间的距离。
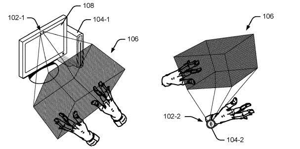
13. 《Sony Patent | Head-Mounted Apparatus(索尼专利:头戴式装置)》

由安装在壳体的摄像头等组件捕捉的图像隐去,从图像中检测与用户第一部位相对应的第一图像部分,以及在检测到的第一图像部分中获取预定特征量。另外,指定包含第一图像部分,并且预定特征量持续改变的区域,并且检测与用户第二部位相对应的第二图像部分。
14. 《Sony Patent | Head-Mountable Display System(索尼专利:头戴式显示系统)》

专利描述的头戴式显示器系统包括检测器和控制器。检测器配置为在第一批显示图像中检测第一照度级。控制器配置为根据检测结果来控制显示图像中的第二照度级。
15. 《Sony Patent | Fragment Shaders Perform Vertex Shader Computations(索尼专利:片段着色器执行顶点着色器计算)》

图形处理可以包括利用GPU的顶点着色器和像素着色器。从顶点着色器输出的顶点索引可以写入高速缓存。可以利用像素着色器访问写入高速缓存的顶点索引,并且可以从具有像素着色器的存储器单元访问与顶点索引相关联的顶点参数值。
16. 《Intel Patent | Broadband Flat Optical Elements and Methods of Manufacture(英特尔专利:宽带平面光学组件与制造方法)》
平面光学元件包括具有两个或更多超表面水平的多层超表面堆叠。每个超表面层包括一种或多种光学透射材料的纳米结构排列。超表面层同时可以包括位于纳米结构之间的另一种光学透射材料,从而实现所需的折射率对比度。包括额外纳米结构的另一个超表面层可以位于额外透射材料的平坦表面上。另一种光学透射材料可以介于额外的纳米结构之间。所述架构可用于任何数量的层数(如双层,三层等等)。多层超表面结构内的每个表面可以调谐到特定的光学波长。对于给定频带,这种多层超表面可以具有比单个超表面更大的带宽,和/或实现更高的光学效率。可以在超表面制造中采用制模技术以降低起始材料成本和制造成本。
17. 《Facebook Patent | Providing Temperature Sensation to a User Based on Content Presented to the User(Facebook专利:根据呈现给用户的内容来为用户提供温度感知)》

包括温度反馈机制的控制器耦合至客户端设备。温度反馈机制配置为根据从客户端设备接收的指令进行加热或冷却,并且接触用户身体的一部分。在各种实施例中,温度反馈机制是集成到控制器中的帕尔贴设备。在客户端设备上执行的各种应用程序可以实施这样的指令:当由客户端设备执行时,所述指令加热或冷却耦合至客户端设备的控制器,从而增强由应用程序呈现的其他内容。
18. 《Intel Patent | Simulating the Motion of Complex Objects in Response to Connected Structure Motion(英特尔专利:根据联通结构的运动来模拟复杂对象的运动)》

根据底层结构的移动,可以相对快速地模拟连接至所述结构的复杂对象的运动,同时无需大量的处理能力。骨架提取方法用于简化复杂对象。追踪底层结构的运动,例如在模拟头发运动时的用户头部。因此,系统将根据头部或面部运动的程度和方向来模拟相应的运动。在一些实施例中,质量-弹簧模型可用于加速模拟。
19. 《Intel Patent | Light Field Displays Having Synergistic Data Formatting, Re-Projection, Foveation, Tile Binning and Image Warping Technology(英特尔专利:具有协同数据格式设置,重投影技术,注视点技术,平铺合并和图像扭曲技术的光场显示器)》
对于专利所述的系统,方法和装置,其提供的技术可以减少与光场显示相关联的渲染成本。所述技术可以相对于光场显示器中的多个显示平面进行数据格式设置,重新投影,注视点,平铺合并和/或图像扭曲操作。
20. 《AMD Patent | Device and Method for Compressing Panoramic Video Images(AMD专利:压缩全景视频图像的设备与方法)》

专利描述了一种处理设备,其包括配置为存储数据的存储器和处理器。处理器配置为接收表示三维空间中各视点视图的多个全景视频图像,并配置为通过全景格式将多个全景视频图像扭曲成多个格式化的扭曲图像。处理器同时配置为在存储器中存储多个格式化的扭曲图像。
21. 《Samsung Patent | Directional Backlight Unit, Three-Dimensional (3d) Image Display Apparatus, and 3d Image Displaying Method(三星专利:定向背光组件,三维图像显示装置,以及三维图像显示方法)》

专利描述了一种定向背光组件,三维图像显示设备和三维图像显示方法。定向背光组件包括具有发射表面的导光板,而发射表面上设置有包括第一组和第二组光栅元件的多个光栅元件。对于多个光栅元件的布置方式,第一组和第二组光栅元件的发射光束通过多个像素点进行传播,并分别形成第一组和第二组视点,而且其中相应的区域彼此不重叠。
22. 《Samsung Patent | Device and Method for Providing Content(三星专利:提供内容的设备与方法)》

专利描述了一种设备和方法。所述方法包括根据移动信息识别设备的视线方向。所述方法同时包括识别第一直线和第二直线之间的角度,其中所述第一直线是从显示器预定位置开始并对应于所识别视线方向,所述第二直线是从预定位置开始并对应于从多帧获得的运动轨迹方向。所述方法同时包括根据所识别的角度和根据设备视场所确定的阈值来确定是否开始提供与所识别视线方向相对应的帧调整模式。所述方法同时包括识别多个帧中的第一帧和第二帧。所述方法同时包括显示第一帧,然后显示第二帧。
23. 《Samsung Patent | Method and Apparatus for Processing Image(三星专利:处理图像的方法与装置)》

专利描述了一种处理图像的装置,其包括:第一显示器,其光学焦距是第一距离;第二显示器,其光学焦距是第二距离;处理器,用于根据待输出的第一图像深度值来确定第一显示器第一像素的第一值,以及第二显示器第二像素的第二值;以及图像会聚组件,其配置为与第一像素和第二像素重叠,并输出与深度值对应的第一图像。
24. 《Facebook Patent | Indexable strain sensor(Facebook专利:可转位应变式传感器)》

专利描述了一种形变传感装置,其包括弹性基板,导电元件和附加导电元件。导电元件包括由分解元件隔开的导电接头。导电接头和分解元件的不同组合对应于形变传感装置的不同区段。根据当应变施加到形变传感设备时导电接头和附加导电元件之间的电容变化,形变传感设备产生确定应变如何令形变传感设备变形的信号。
25. 《Facebook Patent | Viewing optics test subsystem for head mounted displays(Facebook专利:头戴式显示器的光学组件测试子系统)》

专利描述的光学评估工作站用于评估头显光学元件的质量度量(例如光学对比度)。工作站包括测试图,光学元件馈送组件,光源,摄像头和控制模块。光源用漫射光对测试图进行背光照明。光学元件馈送组件接收头显的光学元件,并将光学元件放置在距测试图案的第一距离位置,所述距离对应于头显光学元件与头显出射光瞳之间的距离。摄像头通过光学元件对测试图成像,并且摄像头位于距测试图的第二距离位置,所述距离对应于出射光瞳与电子显示器之间的距离。控制模块根据光学元件的评估生成用于呈现给用户的测试报告。
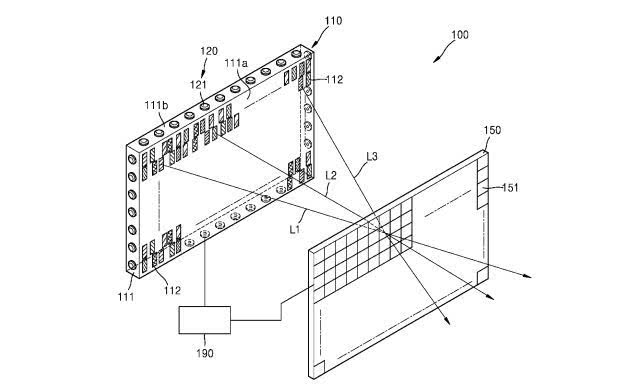
26. 《Facebook Patent | Display panel calibration using detector array measurement(Facebook专利:利用探测器阵列测量的显示面板校准)》

系统校准电子显示面板的亮度。所述系统包括亮度检测设备,致动器和计算设备。亮度检测设备包括沿电子显示面板宽度或长度布置的多个检测器,其用于同时测量电子显示面板中的至少一行或一列区域的亮度参数。多个检测器中的每一个覆盖电子显示面板的至少一行或一列区域。致动器配置为在电子显示面板的长度方向或宽度方向上引起相对平移运动。计算设备耦合至亮度检测设备以接收测量的亮度参数,计算设备配置为通过处理测量的亮度参数来生成用于调整电子显示面板区域亮度的校准数据。
27. 《Facebook Patent | Three-dimensional, 360-degree virtual reality exposure control(Facebook专利:三维,360度虚拟现实曝光控制)》

相机系统配置为经由多台相机捕捉局部区域的360度图像信息,其中至少一部分属于立体图像。相机系统确定多台相机的相应曝光设置。根据确定的曝光设置确定最小快门速度和最大快门速度。通过确定的最小快门速度和最大快门速度来确定一组测试曝光设置。对于所述的一组测试曝光设置,在每个测试曝光设置下使用多台相机捕获一组测试图像。根据捕捉的测试图像组选择全局曝光设置。所选择的全局曝光设置应用于多台相机。
28. 《Microsoft Patent | Refractive coating for diffractive optical elements(微软专利:用于衍射光学元件的折射涂层)》

配置用于近眼显示器设备的波导可包括:透光基板,其配置为通过全内反射传播光线;以及位于基板表面的衍射光学元件,其配置为将光线输入和/或输出至基板。根据一些实施例,衍射光学元件可以包括由衍射光栅上具有第一折射率的第一材料,以及具有第二折射率的第二材料的涂层所制成的衍射光栅。
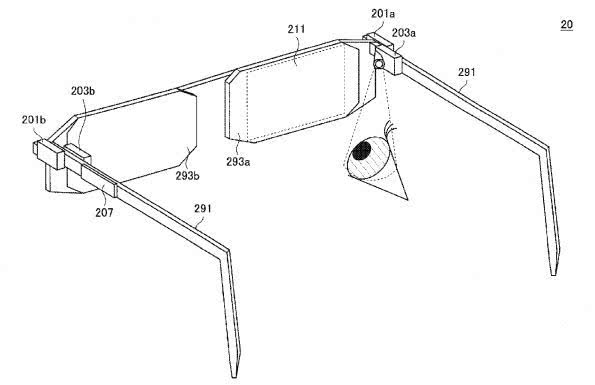
29. 《Microsoft Patent | Blink detection, tracking, and stimulation(微软专利:眨眼检测,追踪与刺激)》

专利描述了用于眨眼检测,追踪和刺激的系统和方法。在一个实现中,设备可以包括配置为接收输入的传感器,所述输入对应于感知用户眼睛的一个或多个眨眼。系统可以处理输入以确定自用户眨眼以来的眨眼率或经过的时间间隔。根据眨眼率或经过的时间间隔,系统可以启动针对用户的眨眼刺激动作。
30. 《Microsoft Patent | Collaborative camera viewpoint control for interactive telepresence(微软专利:用于交互式远程呈现的协作性camera视点控制)》

在交互式远程呈现的协作性camera视点控制的实施例中,系统包括基于所接收行进指令行进的运载工具,同时运载工具包括含有多个摄像头的摄像头系统,每个摄像头系统捕捉不同视点的环境视频。观影设备从不同视点接收环境视频,来自所选视点之一的环境视频可显示给观影设备的用户。与观影设备相关联的控制器设备可以根据所选视点来接收用户输入,并将其作为运载工具的建议行进指令。轨迹规划器接收通过控制器设备发起的行驶指令,并根据所提出的行驶指令生成运载工具的一致行驶指令。
31. 《Oculus Patent | Passive locators for a virtual reality headset(Oculus专利:虚拟现实头显的被动式定位器)》

专利所述的虚拟现实头显包括多个位于头显不同位置的标记组。每个标记组包括一个或多个相对于彼此的被动式定位器。包含在标记组中的被动式定位器配置为反射源设备发射的一个或多个光带。虚拟现实系统确定标记组中被动式定位器相对于彼此的位置,以及由被动式定位器反射的光带,从而确定虚拟现实头显的位置。根据虚拟现实头显的位置,系统确定虚拟现实头显位置并识别要提供给头显的内容。
32. 《Magic Leap Patent | Running object recognizers in a passable world model for augmented or virtual reality(Magic Leap专利:在联结式世界模型中运行对象识别器)》

专利所述的增强现实系统包括一个或多个数据库,其用于存储联结式世界模型数据。所述数据包括与物理世界真实对象相关联的一组点,以及配置为在联结式世界模型数据上运行的一个或多个对象识别器。每个对象识别器编程为根据相应一组点的已知几何形状来识别现实世界的预定对象。增强现实系统同时包括头戴式增强现实显示系统,后者配置为至少部分地根据所识别的对象来向用户显示虚拟内容。
史海拾趣




