历史上的今天
今天是:2025年02月17日(星期一)
2019年02月17日 | 从专利技术看MEMS红外探测器研究重点
2019-02-17 来源:微迷网
1 MEMS红外探测器概述
红外探测是以红外成像为核心的一项探测技术,它通过把红外辐射转换成其它可测量物理信号(如:电压),并对该物理信号做相应的模拟或数字信号处理,从而得到可供人类视觉分辨的图像。发展至今,红外探测技术已经广泛应用于军事、医疗、农业、安防等多个领域。
MEMS(micro electromechanical system)又称为微机电系统,它现已被广泛应用于电脑、汽车、医疗仪器和航空航天等的微芯片制造中,因为它不仅具有体积小、重量轻、可靠性高的优点、还能持续提升芯片性能并降低成本,利于大批量生产,因此受到高技术产业市场的欢迎。
2 国内外研究现状
2.1 红外探测器的分类
红外探测器主要包括四大部分。(1)红外成像镜头,主要作用是把探测目标成像到探测器组件上;(2)红外焦平面阵列FPA(focus plane array),这部分的作用是把红外辐射转化为其它便于测量的物理信号,如:电信号;(3)信号处理部分,对红外焦平面阵列输出的物理信号做放大、滤波等处理,然后转换为视频信号;(4)显示器,接收视频信号,显示出图像。
红外探测器中的核心组件是红外焦平面阵列部分,该组件是国内外研究的热点。根据探测机理可将红外焦平面阵列的探测单元分成两大类:光子型探测器(制冷型探测器)和热型探测器(非制冷型探测器)。具体分类如下:
光子型红外探测器,其工作基础是半导体材料的内光电效应—光电导效应或光生伏特效应,具体可以分为以下几种:光电导型探测器、光电子发射型探测器、光伏型探测器。光子型红外成像系统的最大优点是探测灵敏度高,其缺点是工作时需要用液氮进行冷却,以消除探测器的热噪声,整个成像系统就需要增加制冷器和杜瓦瓶等额外设备,使得系统制造成本偏高,功耗、体积和重量都较大。这些缺点导致光子型红外成像系统基本只应用于天文、军事和学术研究等领域。
热型红外探测器,其主要是基于红外辐射的热效应—像素(内含敏感元)吸收红外辐射导致其温度上升,从而引起敏感元的某些可测量的物理特性的变化,通过测量这种变化完成红外探测。这些可测量的变化包括:电阻变化、电容变化、热释电效应、赛贝克(Seebeck)效应、气体压力变化、液晶色变和热弹性效应等等。传统的热型探测器可以分为以下几种:热敏电阻探测器、热释电型探测器、热电偶型探测器。热型红外成像系统不需要液氮制冷,整个成像系统的功耗、体积和重量较小,容易维护,价格相对低廉。热型红外成像系统的探测灵敏度低于制冷型成像系统,其噪声等效温差在0.1K左右。热型红外成像系统已广泛用于人类日常生活中,如:夜视仪、安全监控和热像仪。
热型红外探测器的发展一直落后于光子型红外探测器,随着材料科学的发展和加工手段的改进,尤其是薄膜工艺和MEMS 技术等关键支撑技术的逐渐成熟,热型红外焦平面阵列技术不断取得突破,热型红外探测器已逐渐成为红外研究领域的热点。热型红外探测器的最大优点是能在热下工作,为实现低成本、小型化、便携式红外探测系统开辟了道路,目前热型红外探测系统的生产成本与市场价格已大为降低,为量子型红外探测器的几分之一。虽然与量子型红外探测器相比较,热型红外探测器响应速度较慢,但随着技术的发展,热型红外探测器已完全能满足凝视成像的要求。
2.2 基于MEMS技术的非致冷红外探测器的发展
热型红外探测的关键是如何制作具有良好热绝缘特性的结构。一般而言,悬空结构具有良好的热绝缘性能,而制作这种悬空结构正是MEMS技术的优势。红外探测技术的发展历史已经证明:正是日益成熟的MEMS技术和成熟的IC技术共同推动了非致冷红外探测器的发展。
按照信号读出方式的差别,基于MEMS技术的非致冷红外探测器可分为电学读出方式和光学读出方式非致冷红外探测器。电学读出方式是一种传统信号检出方式,目前正在使用的红外探测器都采用电学读出方式;采用光学方法读出红外信号则是一种新型的信号检出方式,它具有高灵敏度、高分辨率等特点,是近年来广受关注的一项新型检出技术。
3 MEMS红外探测典型案例
3.1 MEMS热电堆红外探测器
MEMS热电堆红外探测器属于一种电学读出非制冷红外探测器的。热电堆红外探测器的工作原理是基于塞贝克效应的红外辐射探测。把两种不同材料的一端相连,另一端不相连,形成一对热电偶。当相连的一端受热温度增加时,会在材料的两端形成温差ΔT,那么两种材料不相连的两端会有电势差产生ΔV。通过对输出信号的处理可以探测到最初的红外光源的强度和波长大小等特性。关于热电堆红外探测器的研究重点在于吸收层材料的改进和如何与CMOS工艺更好的兼容,而传统的热电堆红外探测器的缺点首先是吸收层材料对红外的吸收率低,对不同波段的红外光吸收率相差较大。其次热电偶材料主要采用金属,不能与CMOS兼容;另外“三明治”结构采用多层介质膜,因为是多层所以容易出现各层应力不匹配的问题。
中北大学、中国科学院微电子研究所针对吸收层材料对红外的吸收率低的缺点,提出一种通过制作“黑硅”的方法处理多晶硅或非晶硅得到锥状森林结构提高红外吸收率(专利申请号为CN201110104209.9)。该MEMS热电堆红外探测器的主要结构包括:硅衬底、介质支撑膜、多组由P/N型多晶硅热偶条上下叠置构成的热电堆以及红外吸收层材料。

图1 MEMS热电堆红外探测器结构示意图
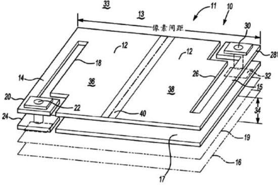
UD控股有限责任公司提出了一种“超点阵量子阱红外探测器”(专利申请号为CN201180057683.9),该专利申请的技术方案中,通过对悬臂14、15制作方法和材料的改进,降低了吸收器12与悬臂14、15之间的导热性,从而降低热泄露,改善红外探测器的性能。见图2。

图2 超点阵量子阱红外探测器结构示意图
3.2 法布里-泊罗干涉型光学读出红外传感器
由于电读出红外成像系统需要在红外焦平面阵列(FPA)的探测单元内部集成高信噪比的读出电路,通过该集成电路将与红外辐射强弱成比例的电学信号以逐行的方式读出,经过处理,合成用于显示器显示的视频信号。电读出的方式已经十分成熟,然而仍存在一些不足之处:(1)在探测单元内部集成的读出电路会产生额外的热量引起焦耳噪声,使探测灵敏度降低;(2)随着红外焦平面阵列像素的增加,很难做到同时兼顾高分辨率和高帧率的技术需求;(3)针对热型的红外探测器,读出电路中使用的金属材料会增加整个探测单元的热导,导致探测灵敏度降低。电读出方式的这些不足,使得光读出方式逐渐受到研究者的关注。
法布里-泊罗干涉型光学读出热成像系统的工作机理是红外热效应、双金属片效应和光的干涉原理。换而言之,该系统就是利用双材料梁由于红外热效应和双金属片效应而产生的位移对可见光的强度进行调制,从而直接将红外图像直接转化为可见光图像。
北京大学提出了“一种基于MEMS技术的全波段红外焦平面阵列”(专利申请号为CN201310416650.X),其为一种典型的光学读出型MEMS红外探测器结构。其工作原理是:当红外光辐射到焦平面阵列时,设计在红外敏感面上的红外吸收结构将吸收的能量转换成热能,由于双材料效应,微悬臂梁像元发生偏转,光学检测系统通过透明衬底读出微悬臂梁像元阵列的形变量和分布。该发明提供的红外焦平面阵列通过在红外敏感面上设置的超材料结构,可进行全波段红外探测和成像,工作在非制冷环境下,可采用简单的聚酰亚胺牺牲层工艺制造。

图3 光学读出型MEMS红外探测器结构正视图
中国科学院上海微系统与信息技术研究所提出了一种光学读出红外探测器结构(专利申请号为CN201510341090.5),其改善了可见光利用率。其结构包括:玻璃衬底和通过锚结构悬空于玻璃衬底上的悬浮结构;悬浮结构包括可见光反射层、红外吸收层以及支撑梁;通过将可见光反射层悬空地设置于玻璃衬底上,并且红外吸收层空于可见光反射层上,实现了可见光反射层和红外吸收层分离,从而避免了可见光反射层由于双材料效应导致变形,且可见光反射层面积的增加提高了可见光的利用率,从而使红外探测器同时满足对器件各方面的要求,提高器件的综合性能。

图4 光学读出型MEMS红外探测器结构示意图
3.3 热敏电阻型MEMS红外传感器
热敏电阻探测器,由半导体薄膜材料制成。半导体薄膜材料吸收红外辐射,温度升高导致其电阻发生变化,信号读出电路把电阻的变化转换为电压的变化。信号读出电路输出电压的稳定值与入射辐射的功率成正比。虽然热敏电阻探测器并非MEMS红外传感器的热点,但是近年仍有研究机构对热敏电阻型MEMS红外传感器做出技术上的改进,例如以下这项专利:
中国科学院上海微系统与信息技术研究院提出了一种具有较高信噪比的红外探测器阵列及其制作方法(专利申请号为CN201510368985.8),该红外探测器阵列的结构特点在于在非致冷红外探测器像素的悬桥结构上制作两组热敏单元B1和B2,在衬底上制作另外两组热敏单元S1和S2,再通过惠斯通电桥形式将这四组热敏单元连接起来,差分输出电信号,从而抑制了电路噪声,可显著地提高器件的信噪比。

图5 热敏电阻型MEMS红外探测器结构
4 MEMS红外探测器发展趋势及应用前景
继续提高芯片性能和集成度、降低制造成本,一直并且仍然是热红外探测器的发展方向。从性能角度来看,在微机械加工技术日益成熟的情况下,灵敏度的提高主要涉及到热敏感材料或元件的选择。从集成度来看,非制冷列阵正循着可见光图像传感器的路径发展。随着探测器的日益复杂和完善,将开发与之兼容的多芯片组件和表面安装技术,以制作更高集成度的摄像器件。从实现低成本角度来看,制作与CMOS工艺完全兼容的单片集成式微机械热红外探测器及阵列是实现低成本的有效途径,这需要开发更合理的集成方案的提出。
史海拾趣
|
一、CAN和CANopen简介 CAN总线全称为Controller Area Network即控制器局域网是国际上应用最广泛的现场总线之一,已经在汽车制造、机械制造、包装机械、烟草等行业得到了广泛的应用。CAN总线是德国 BOSCH公司从80年代初为解决现代汽车中众多的 ...… 查看全部问答> |
|
几个月前用过pb 5.0,现在又捡起来了,结果发现Workspace->FileView下的内容好像变了。根目录下主要有三项,PLATFORM、PRIVATE和public。其中Private和public下主要是通用Wince 5.0的内容,而PLATFORM里应该是与板子有关的BSP的内容吧。现在的情况 ...… 查看全部问答> |
|
小弟刚刚毕业,来到深圳找工作,想找硬件方面工作,但是由于大学没好好读,找不到好点的工作。 请问大虾,深圳什么地方有培训硬件的机构,比如培训画电路图啊,焊电路板之类的。 还有深圳做硬件的公司哪些比较适合的,比如画手机电路什么的,我对 ...… 查看全部问答> |
|
欢迎满足以下条件之一的有识之士与我们联系,公司网址: www.nerc.com.cn,发送简历邮箱地址:whl668@epri.ac.cn。 1.具有2年以上电力行业嵌入式产品开发经验。 2. ...… 查看全部问答> |
|
在WinCE下可以用DirectShow播放MPEG4视频文件 的问题??求教!!! 各位高手:求教! 我在EVC中利用DirectShow开发出的播放器,播放WMV格式的文件时,只有声音,没有视频!在WINCE的OS 设计中,改加的feature 也都有加了!不知为什么?还请各位高手赐教?… 查看全部问答> |




