历史上的今天
今天是:2024年10月10日(星期四)
2019年10月10日 | 华为的智能眼镜,省电有妙招
2019-10-10 来源:爱集微
今年三月,在巴黎举办的华为P30系列发布会上,华为宣布与韩国品牌GENTLE MONSTER合作开发一款名为Eyewear智能眼镜,为正式发售预热。9月13日,华为官方宣布:全国140家门店同步正式开售。
我们知道,手机哪怕是不玩也是会消耗电量,而Eyewear智能眼镜支持佩戴状态智能识别,只要摘下眼镜便能立即暂停,不会消耗电量。并且,如果配合华为EMUI10.0及以上版本系统的华为手机使用话,智能眼镜还能变身智能小助手,能及时提醒航班等行程信息,非常适合商务人士的。
而这项智能眼镜的省电技术,就是我们今天的主题。随着智能可穿戴设备的日益多样化,智能眼镜开始逐渐进入人们的生活。一方面,智能眼镜能够安装程序以及通过接收用户操作指令完成日程提醒、导航、拍照和视频通话等功能。另一方面,智能眼镜能够实现增强现实、虚拟现实以及混合现实等近眼显示场景,通过智能眼镜能够将真实环境和虚拟物体的图像实时叠加在用户的视网膜中显示。但是智能眼镜作为一款可穿戴电子产品,其功耗的大小以及是否耗电直接影响着用户的使用体验。
就在19年3月26日,华为申请了一项名为“一种智能眼镜”的发明专利,申请人为华为技术有限公司。
根据目前公开的专利资料,让我们一起来了解一下这项智能眼镜省电方案吧。

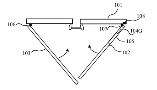
如上图所示为智能眼镜的示意图。该眼镜包括镜架主体101、第一镜腿102、第二镜腿103、传感器104以及电路105。其中,镜架主体设置有镜片,还包括与第一镜腿连接的第一端,以及与第二镜腿连接的第二端。传感器与电路连接。
传感器用于检测镜腿的方向,其中传感器可以检测镜腿相对于镜架主体距离或者两个镜腿之间的距离等以及个镜腿之间的夹角等。而我们的智能眼镜的特殊节电方式,也就是根据这个镜腿的方向特征来确定的。这些传感器可以包括电子罗盘、指南针、陀螺仪以及其他的光学传感器。
而智能眼镜节省电的方式,就取决于镜腿的构造。电路可以根据传感器检测的数据,确定第一镜腿或第二镜腿处于折叠状态还是处于展开状态,并且根据这个展开还是折叠的状态来控制眼镜的工作状态。
下面我们来看具体的工作方式以及眼镜腿的构造是如何支撑其实现的。

如上图所示为智能眼镜折叠时的状态。镜腿在非折叠状态时,镜腿与镜架主体之间的夹角大于或等于预设角度阈值。例如第一角度为80°,即该镜腿垂直于镜架主体所在的平面。那么这个阈值时我们自己可以设置的,当预设角度阈值为80°时,即当镜腿与镜架主体之间的夹角大于或等于80°时,我们就认为该镜腿为非折叠状态,即展开状态。
正是基于这个检测结构,利用到了用户佩戴眼镜的必要结构。即在用户佩戴眼镜时,左右镜腿必然都处于非折叠状态。当左右镜腿中至少有一个镜腿为折叠状态时,可以知道用户必然没有佩戴眼镜。基于此,可以在左右镜腿中至少有一个镜腿为折叠状态时,控制眼镜的工作状态为低功耗模式,或者在左右镜腿在展开状态时,控制眼镜的工作状态为正常工作模式。
充分利用眼镜的特殊使用结构,从而达到了节省电能的效果。而类似的我们也可以设想这样的技术会不会在手机等设备上出现,例如当陀螺仪传感器以及摄像头传感器检测到用户并未使用时,就自动开启节能模式,这样也可以起到省电的作用。而华为的智能眼镜也即将在群众的呼声中登上舞台,让我们拭目以待华为的黑科技。
史海拾趣
|
我任务是修改开发板bsp里的关于键盘的driver程序(操作系统是wince5.0),从而可以用在另外自己设计的键盘上。程序研究了几天,有一些问题: 1.EINT_IRQ[0]=IRQ_EINT5;EINT_IRQ[1]=IRQ_EINT6;EINT_IRQ[2]=IRQ_EINT7;EINT_IRQ[3]=IRQ_EINT8;等等, ...… 查看全部问答> |
|
听别人说的,研讨会上说这个版本有BUG,用SWD调试时会卡在SystemInit()函数中,要在编译器的linker选项下重新设置库的入口。 怎样设置? 如果用jtag是不是就没这个问题了?… 查看全部问答> |
|
从信号发生器输出的一个正弦信号,通过什么方法能将其导入MIC接口,作为输入信号,将信号在ARM6410上编写的一个android的模拟示波器上显示出来。求知道的大侠们帮我一下 感激不尽!!… 查看全部问答> |
|
好东西不常有哟~~ 刚好今天找到一份有关跨阻型放大器的应用指南,出自TI高速应用工程师毛华平之手。 TIA 全称为trans-impedance amplifier,也就是跨阻型放大器。在需要电流转电压的应用场合, 如检测微弱光电流信号的场合, 通常需要用到跨阻型 ...… 查看全部问答> |




