历史上的今天
今天是:2024年10月10日(星期四)
2019年10月10日 | 小米手机只为发烧,而不“发烧”
2019-10-10 来源:爱集微
初期的"为发烧而生"是一种极客行为,只强调性能而不顾功耗。多数玩儿家是为了游戏、极致性能而买单,手机使用环境大多处于超负荷状态,发热、发烧是必然的。一般轻度使用者并不明显。
但是随着手机、平板等电子设备的性能越来越高、功能越来越强,这些电子设备的发热问题也越来越严重,而小米手机的过热也一度成为其诟病。
电子设备通常包括设备本体和背板结构。设备本体内设置有CPU等功能部件,这些功能部件在运行过程中会不断放热,当温度过高时会严重影响功能部件自身的运行,导致电子设备发生卡顿等现象。
因此为了解决手机发热这个问题,小米在16年2月3日申请了一项名为“电子设备的背板结构及电子设备”的发明专利(申请号:201510578547.4),申请人为小米科技有限责任公司。
根据目前公开的专利资料,让我们来了解一下这项手机散热专利吧。

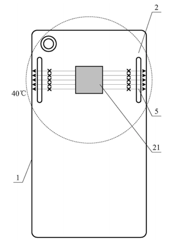
如上图左为电子设备的背面结构示意图。这种电子设备在背板结构内侧设置吸热材料4,该吸热材料在背板结构安装至设备本体后,可以与功能部件接触并吸热,实现对功能部件的降温处理。
如上图右中,热源21可以向四周释放热量。在背板结构上,可以形成以该热源为圆心的等温线,比如内侧圆形为40℃等温线、外侧圆形为35℃等温线。这就导致对于电子设备的背板结构,热源处的温度很高,甚至使用户感到烫手,而背板结构下半部分的温度却低于35℃,会给用户很不舒服的拿捏感觉。
在这样的情况下如何让散热器发挥其最大的功效,让我们来看下面的方案。

如上图为电子设备的背板结构的热量释放示意图。导热结构可以包括:背板结构上开设的至少一个导热孔5。假定40℃为用户能够接受的最高温度,则可以将导热孔设置于热源在40℃下对应的理想等温线的辐射范围之内,从而将高于40℃的位置的热量截断,并引导至导热孔的延伸方向。
再考虑开设两个导热孔的情况,可以在热源的左右两侧对称设置两个导热孔,且两个导热孔与背板结构的短边距离相等,那么,热源输出的热量可以尽可能多地传导至背板结构的上下方向,避免在热源处堆积。
因此,对称设置于热源左右两侧的两个导热孔,可以对热源在左右方向上发出的热量进行尽可能多地截断,并将这些热量传导至背板结构的左上角、右上角和下半部分等未被理想等温线覆盖的区域,使得整个背板结构在各个位置上的温度差值尽可能地缩小,不会造成局部烫手的超高温现象,有助于提升用户的使用体验。
以上就是小米的散热结构专利,曾几何时,小米手机曾是发烧友的代名词,也是冬天的“暖手宝”,而在手机的外部结构做出这样的创新设计之后,合理的分配手机产生的热量,从而可以达到给手机降温的目的。而现在也推出了很多的游戏手机,这些手机自带风扇,不过这也就增加了手机的重量以及厚度,对于比较看重颜值的用户来讲确实还是更加青睐于例如小米这样的创新结构!
史海拾趣
|
华邦的w83977芯片,初始化进入扩展功能模式只能读到它的ID号为0x97、device version为 0X74,其他的寄存器都无法正常读写,就连写CR30为1来激活一个功能都失败了(如激活UART_A),不知这个芯片的初始化有什么需要注意的地方?   ...… 查看全部问答> |
|
我现在正准备开发一套网管系统,包括nms和设备上的agent,采用snmp协议,现在看了很多资料,有些看不懂,就像狗咬刺猬,没出下手。 哪位开发过这方面的朋友是否可以提供一个可以参考的版本,主要是agent的程序架构和具体的mib库(这2个问题很困扰 ...… 查看全部问答> |
|
开发环境IAR + JLINK原来程序中设置HCLK为SYSCLK的4分频,SYSCLK为72MHz,程序正常运行!后来将HCLK设置为SYSCLK的16分频,SYSCLK为72MHz,程序正常运行!再后来将HCLK设置为SYSCLK的64分频,SYSCLK为72MHz,程序不能下载到芯片中! ...… 查看全部问答> |
|
有没有人试过Raisonance的Ride7来对STM8S进行编程下载 网上关于这个软件的设置的内容比较少,尝试了下,始终有error存在。而且在Ride7中也没有具体的STM8S的型号,只有一个STM8-TEST可以选择。RLink真的可以作为STM8S的编译器和下载器来用吗?… 查看全部问答> |
|
大家所熟知的蓝牙技术背后有一个名叫Bluetooth SIG的组织,该组织负责制定蓝牙技术的各项指标和准则。近日,Bluetooth SIG又公布了两项全新标准(http://www.bluetooth.com/Pages/Press-Releases-Detail.aspx?ItemID=156),很可能会促成一大批医 ...… 查看全部问答> |




