历史上的今天
今天是:2024年10月10日(星期四)
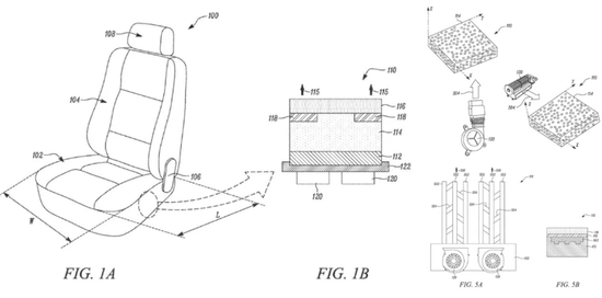
2019年10月10日 | 特斯拉汽车座椅专利:新型温控系统使座椅加热冷却更节能
2019-10-10 来源:盖世汽车
据外媒报道,特斯拉一直在尽可能提高车辆效率,现在该公司正为一款新型“更高效”的温控座椅申请了专利。

即使在过去几年中特斯拉推出了多款新型电动汽车,但是此类长续航版汽车一直具备高效率。虽然此类汽车配备了非常高效的动力系统,具备强大的空气动力学性能以及出色的重量管理,不过,特斯拉还在寻求其他更不寻常的方式以提升车辆的效率。
此前,特斯拉研发了比传统的雨刮器更节能的新型电磁雨刮器系统。而现在,特斯拉还在研究新型座椅设计,为座椅集成温度控制系统,以更好地冷却和加热座椅,从而让车辆更节能。
在专利申请中,特斯拉表示目前的通风座椅存在问题:
通过座椅泡沫进行通风通常不足以消除多余的热量,以为乘员提供一个舒适的乘坐环境。此外,传统的加热系统体积庞大,占据了座椅的空间,从而使座椅更厚,而且由于热量通过需要穿过多层材料以及与不接触乘员的加热区域,导致座椅加热效率低下。因此,需要改进汽车座椅的温度控制系统。

特斯拉还描述了配备温度控制系统的新型汽车座椅设计:
该座椅包括座位部分以及与座位部分耦合的靠背部分,此外还包括一个温度控制系统且系统与至少一个座位部分和靠背部分相关联。该温度控制系统包括一个基底以及相邻基底的中间层,中间层可通行液体以冷却座椅。此外,该系统还包括至少一个加热元件,设置在中间层和与中间层相邻的覆盖层之间,而且,还包括一个流体泵,以让液体在中间层流动。
特斯拉表示该座椅设计价格低廉、低噪音且非常节能,该温度控制系统为座椅的加热和冷却提供了低成本、低噪音、节能高效的方法。
史海拾趣
|
一、模拟电路设计 基础知识(笔试时候容易遇到的题目) 1.最基本的如三极管曲线特性(太低极了点) 2.基本放大电路(电压放大器,电流放大器,互导放大器和互阻放大器),种类,优 &nb ...… 查看全部问答> |
|
1、引言 医学超声诊断成像技术大多数采用超声脉冲回波法,即利用探头产生超声波进入人体,由人体组织反射产生的回波经换能器接收后转换为电信号,经过提取、放大、处理,再由数字扫描变换器转换为标准视频信号,最后由显示器进行显示。在基于FPGA+ ...… 查看全部问答> |
|
请教9261的串口收发问题 我在核中添加了下面的代码: at91_register_uart(AT91SAM9261_ID_US1, 1, ATMEL_UART_RTS); at91_register_uart(AT91SAM9261_ID_US2, 2, ATMEL_UART_RTS); at91_register_uart(AT91SAM9261_ID_US3, 3, ATMEL_UART_RTS ...… 查看全部问答> |
|
编辑完对话框类后无法在EDIT里输入汉字; 还有请帮忙看看一下代码怎么修改 LOGFONT m_lf; //字体结构 strcpy(m_lf.lfFaceName,ipadress ); 报错:error C2664: \ ...… 查看全部问答> |
|
图为直接耦合共射放大电路~ 直流通路里有直流电源Vcc,可是交流通路里没有Vcc啊,负载线方程怎么会相同呢? 请最好把Uce和Ic的函数关系式即负载线方程写出来~… 查看全部问答> |




