历史上的今天
今天是:2024年10月18日(星期五)
2019年10月18日 | 特斯拉申请电池制造新方法专利,成本更低
2019-10-18 来源:电动知士
到目前为止,电池组的生产都遵循相同的基本步骤。一家专门制造电池的公司,例如松下或LG化学,制造单个电芯,然后车企将这些电芯装入电池组。换句话说,电池生产与汽车搭载的电池组是独立的两个步骤。
而特斯拉的专利申请描述了一种新方法,该方法将电池组并联子组与电池制造集成在一起。以前,单电池从电池制造厂出来。在特斯拉的专利申请中,平行电池组来自电池制造厂。实际上生产的不是完整的电池组,而是电池子模块(通常是并联电池组)。工厂生产的产品如下图所示:

电池厂不再仅生产单个电芯,而是直接生产完整的电池组。从图中可以看出,看起来像电路板的东西实际上是集电器,还具有单元平衡,过压和保险丝保护的功能。这个电池组作为构建块,可以像乐高一样进行连接来制造全尺寸电池。这些子模块可以串联或并联连接(更大的电池组具有更多并联的电池)。集电板/电路板可以分布在两端,也可以在一端。电路板集电板在添加电解液后,还起到密封电池的作用。
集电极板/电路板已成为电池制造过程不可或缺的一部分,而不再仅仅只是框架。制作完成后,并联电池组连接在一起,并放置在适当尺寸的容器中以形成电池组。
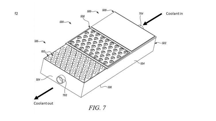
从一方面说,电池可通过流经模块的电解液来进行冷却,如下图所示。

另一个方法是,将电池使用电绝缘涂层覆盖,这样的话流体就不需要是绝缘性能的液体,因为电池被绝缘图层覆盖了,散热片可以与电池盒成一体。
除此之外,也可以在电池之间使用可相变的灌封材料。灌封材料(涂在电路板上一种材质,防止电路板上的元件发生短路,保护元件抗冲击的作用)会在某一温度下发生相变,较高温度下的相变可以用作热失控保护。二次冷却剂与灌封材料接触,冷却通道可集成到电池盒本身中,即使用灌封材料做电池的冷却通道。而在无灌封料的情况下,散热片可以集成到电池盒中。
这个专利可以让我们联想到特斯拉最近的电池自产计划,前不久特斯拉刚刚收购的加拿大电池制造商Hibar,专门从事电池制造,主要生产小型电池。5月份,特斯拉完成了对Maxwell Technologies的收购,Maxwell Technologies是一家新型“干电极”技术开发商,该技术可以节省电池制造的成本、时间和工厂空间。
当特斯拉将这个新工艺与Maxwell的干电极制造工艺和Hibar的设备制造业务相结合时,则会呈现出一种高度简化,更有效且成本更低的电池组制造方法,一条专属特斯拉的新电池产品线。
史海拾趣
|
产品名称:ATMEL9260ARM + JN5139Zigbee 售价:1188元 产品规格:14*9.2cm 10*6cm 产品型号:CA-9260-ZB-EK &nb ...… 查看全部问答> |
|
我手里的CY1C12开发板上的芯片是FPGA的EP1C12Q240C8,今天我用一个小程序,试图点亮那四个七段数码管。用的动态显示。然而,当我配置管脚,下载到板上后,数码管能够顺序点亮,但是不是之前程序里面设计的数字,有些乱码的感觉。 我怀疑是管脚配置 ...… 查看全部问答> |
|
XILINX FPGA 设计的点滴 1、为时钟信号选用全局时钟缓冲器BUFG 2、尽量只用一个时钟沿来寄存数据 3、除了用CLKDLL或DCM产生的时钟外不要在内部产生时钟 4、注意状态机编码的可靠性:状态机转移状态改变的位数越少,则功能越可靠。 5、逻辑 ...… 查看全部问答> |
|
刚刚接触Wince 6.0 现在要实现一个使用url链接下载的功能 ,参考了网上一些程序编写如下代码 void CHttpGet::Download(CString url) { try { CStdioFile* pSFile=NULL; CInternetSession ...… 查看全部问答> |
|
我将ADS1.2下一个工程移植到Keil3 IDE下时,在解决了一些编译错误问题后,也参考了一些说明,编译完成后没有错误,当然有一堆的警告,什么字符串无效,最后一行没空等,但是连接没有生成默认该生成的.axf文件,导致调试也找不到.axf文件,当然也生 ...… 查看全部问答> |
|
evc中怎样编辑多国语言 比如说我要SetWindowText(_T(\"? ?? ??\")); 但在Evc中成了SetWindowText(_T(\"? ?? ??\")); … 查看全部问答> |
|
EE_FPGA V1.0 调试进展(2010.10.17更新) 正面: 反面: 目前进展: 1. 最小系统工作 2. LED工作 3. key工作 4. usb转串口驱动正常,串口工作正常 稍后上图,敬请关注 10.17更新 [ 本帖最后由 chenzhufly 于 2010-10-17 14:20 编辑 ]… 查看全部问答> |




