历史上的今天
今天是:2024年10月24日(星期四)
2019年10月24日 | STM32F103读取原始数据,上位机显示(附上微机和程序源码)
2019-10-24 来源:eefocus
出现的几个问题总结:
1,printf 函数 蛋疼了,刚开始没有注意这个,导致一直输出错误的格式。
printf("%c",0xA5);//输出A5的16进制A5
printf("%f",0xA5);// 输出A5的ASCIC的形式61
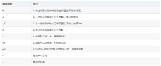
附上一些格式:

2 MPU6050 输出数值的理解:
PU6050数据是16位的数。它属于int16类型,即数据范围是-32768 到 32767。 正数范围是0-7FFF(0-32767), 负数范围是(1000-FFFF).
计算机中,负数是以补码的形式来表示的。什么叫补码呢?给大家复习下数学,首先百度下:
1)使用补码的目的:可以将符号位和其它位统一处理;同时,减法也可按加法来处理
2)正数的补码和原码相同
3) 负数的补码等于其符号位不变,数值部分的各位取反,然后整个数加1
那么,当你得到MPU6050的数据的时候,如果是: FFFF,那么代表多少呢?
>>符号位不变,数值部分的各位取反, 变成8000,然后整个数加1,变成8001, 即-1.
如果是: FF00,那么代表多少呢?
>>符号位不变,数值部分的各位取反, 变成80FF,然后整个数加1,变成8100, 即-256.
有的程序直接输出 0-65536 其对应关系以加速度为例是:
0 16384 32767 32768 49152 65536
0g 1g 2g -2g -1g 0g
3,程序输出到上位机上面如图所示:
史海拾趣
|
请教版上大侠WinCE端ActiveSync是如何运行的。比如USB插入后CE如何触发ActiveSync? 目前遇到的情况是:插入USB线立刻会建立ActiveSync,但USB拔掉之后WinCE端的ActiveSync没有断开,休眠唤醒后立刻显示连接主机,这个是什么问题呢? ...… 查看全部问答> |
|
由S7-300 AI 供电的现场模拟量工作正常,但一接入DCS来的4~20mA信号,PLC供电的AI信号就采不到数据了,DCS送来的正常,初步判断是两信号不是一个供电,电压差引起,于是将两信号都接地,这时PLC供电的AI信号有了,DCS来的信号又采不到了,请教如何处理?谢谢!… 查看全部问答> |
|
是这样的本人刚刚接触这个新型的单片机有很多不理解的地方,就是我想问一下我要用这个新型的单片机要如何做出一个接触式IC卡读卡器来。汗颜一个,我对于这个单片机的引脚不怎么清楚?麻烦各位有时间的可以给说一下吗?… 查看全部问答> |
|
本来按照邵教授和书上说的,uc/os在pc机上编译调试应该是非常简单的。只要把uc/os解压到根目录,保持原来的目录结构不变,再装上bc45,就可以了。但是实际问题是网上基本上能找到的都是bc31,而且都是经过瘦身的版本,少了很多文件。基本开发可以, ...… 查看全部问答> |
|
用XST综合工具check syntax工程时,提示如下错误 ERROR:HDLParsers:3375 - \"D:/FPGA_code/p240_fir2/p240_fir2.vhd\" Line 66. Choices for an array aggregate (Attribute name) must be locally static unless there is only one choice. (LRM 7.3.2.2)代码如下:library IEEE;use IEEE.STD_LOG ...… 查看全部问答> |




