历史上的今天
今天是:2024年11月12日(星期二)
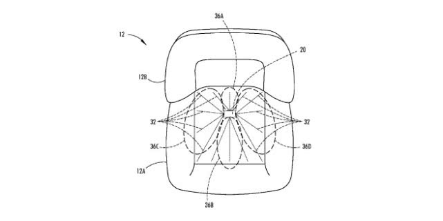
2019年11月12日 | 福特汽车发布“湿度感应座椅技术”专利
2019-11-12 来源:腾讯汽车
据外媒报道,福特汽车近日宣布,已经从美国专利商标局获得了“湿度感应座椅技术”的专利。

福特的座椅专利技术
加热和通风座椅一直是消费者最喜欢的新功能之一,而福特的新专利技术让这一功能变得更加智能和强大。
该新技术可以利用传感器系统检测座椅中的湿度或温度,智能启动座椅的气候控制系统进行调节,使座椅保持干燥舒适。
该系统其实并不复杂,通过安装在座椅内的传感器,对座椅的座套进行“可渗透液体”的检测,同时通过光传感器,对座椅的湿度状况进行识别,关键在于,该技术能够进行智能化的自动操作。
在传统的加热和通风座椅设置上,通常有两个独立的系统进行操作:加热系统和风扇冷却系统。但在特斯拉的“液冷和加热座椅系统”技术的创新带领下,福特汽车也在尝试对传统的汽车功能进行创新。

特斯拉的“液冷和加热座椅系统”技术
特斯拉的“液冷和加热座椅系统”技术是让座椅同时进行液体加热和冷却。新技术是将座椅内部变成封闭的多层结构。
在座椅的中间流体层充满了加热和冷却流体。流体通过泵在中间层内循环,以确保座椅底部和座椅靠背能够被均匀加热和冷却,不会出现过热或过冷的现象。
目前,福特汽车的座椅新技术专利还将进行下一步的探索。
史海拾趣
|
哪位大虾有什么好方法使51单片机的P0口上拉到6.5V(单片机供电为3.3V,P0口用作输出口,产生0~6.5V的方波,无需驱动能力)。 我试过直接用10K电阻上拉的方式,由于PAD上有ESD结构,结果PIN脚上的电压被钳位置3.8V了。 不知哪位大虾能帮忙解决一 ...… 查看全部问答> |
|
先画一个大的背景,在指定的RECT处点击,会出现一张小图。当鼠标UP的时候,图会消失。 但是现在背景图太大。用最简便的方式会非常卡。每次都要重新刷新整个背景。 现在想用点击后出来小图。当DOWN的时候。把小图区域下的背景图先扣出。放到一个内 ...… 查看全部问答> |
|
我在找到了一个flash播放器的源码,flash5的,移植了下,在wince6的平台下运行起来了,有图像,但没声音.有没有那个大侠有wince下的flash源码,能正常播放的,有声音和图片的.帮忙发给个给我!… 查看全部问答> |
|
急!!!!!用keybd_event发VK_BACK(0X08)居然能打开IE浏览器 定义了一个按键是退格键 keybd_event(VK_BACK, 0, 0, 0); 当在CE桌面时,点这个按键就默认打开IE浏览器 其他情况可以实现退格功能! 请问各位这个问题怎么解决呢… 查看全部问答> |
|
CQueuedPipe(Interrupt)::CheckForDoneTransfers - failure on TD 0x3e58c0, address = 1, endpoint = 1, errorCounter = 0, status field = 0x22 这是USB驱动里的调试信息中的一句话,谁知道呢?分不够再加。… 查看全部问答> |
|
目前监控系统中,存储和传输问题是首要面临的难关,大量无用视频信息被存储、传输,既浪费了存储空间又增加了带宽,智能分析的目的是为了视频存储所需要的空间减少从而缓解带宽压力,或者对于一些无用视频则采用低码流方式进行压缩或传输,更方便整 ...… 查看全部问答> |




