历史上的今天
今天是:2024年11月15日(星期五)
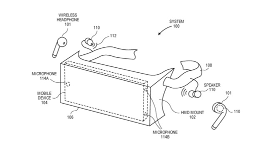
2019年11月15日 | 苹果三项增强现实新专利助力AR头显发展
2019-11-15 来源:cnBeta
苹果公司在最新曝光的三项有关增强现实的新专利中透露,它将继续致力于使用智能环来帮助检测用户的动作,以及在AR头显中播放相关音频并在现实世界中定位虚拟对象。
苹果在美国专利号20190349662中描述了一种AR头显具有设备安装音频模式。这特别适用于在用户眼睛前面安装了其他设备(如iPhone)的头显。专利表示,可以将头显配置为确定移动设备是否安装在头显底座上,然后将音频信号从设备处理器发送到无线耳机,并更改移动设备或无线耳机中一个或多个的音频模式。因此,当iPhone安装在头显中时,音频可以自动路由到该头显的扬声器。如果不是,则使用iPhone自己的扬声器。
另一份专利申请号为20190346938的专利申请,描述了一种带有织物可以安装在手指上的设备,它可以作为一个智能环,提供必要的运动信息。该专利表示使用可穿戴设备来收集用于控制电子设备的输入可能会带来挑战。如果不小心,诸如手套之类的设备可能会影响用户感觉周围物体的能力,使用起来可能会不舒服,或者可能无法收集到用户的适当输入。而这项专利当中描述的设备,可以包含诸如力传感器,加速计和其他传感器以及用于触觉输出设备的组件。在操作过程中,用户可能会将这种智能环戴在用户手指尖上,同时与外部对象进行交互。
第三项专利,编号为20190347846,涉及相对于实际物理对象,定位虚拟对象的技术。该专利表示,存在各种电子设备,例如头显设备,其显示屏向用户提供可以完全浸入周围物理环境中的体验。这些设备经常利用预先载入的内容来代表CGR环境,从而产生体验。当呈现在电子设备的显示屏上时,无论电子设备实际位于的物理环境如何,预先载入的内容都会提供相同的体验。
这三项专利可能和苹果预计在2022年发布的AR头显相关。外界认为,苹果明年将推出一款单独的AR眼镜设备。



史海拾趣
|
我按照图1的电路接法,然后根据DS18B20的数据手册时序图编写代码,但总是85℃。。。请遇到过这种情况的电子爱好者指导一下: /***********ds18b20子程序*************************/ /******************************ds1820程序****************** ...… 查看全部问答> |
|
板子(数字)上电始会有一个大的过冲,大概有0.60A(12V上电,通过电源芯片转为3.3V输出供电),而且持续几秒,才会降到0.09A。 板上差不多只有一些SRAM,SDRAM,68013还是RS232电平转换芯片,电源块测过没问题,但是一旦连上后端电路,再上电就会 ...… 查看全部问答> |
|
请教大家一个问题: 我在wince下的edit控件中输入汉字、数字、字母,并保存在临时文件中。当我再次打开对话框,把临时文件中的东东全部放回edit控件时,数字和字母能正确显示,但是汉字只显示问号“?”!请问这是什么原因? 下面是代码 当edit ...… 查看全部问答> |
|
时间:2007年03月31日下午1:00-5:00 地点:上海电力学院平凉路校区小礼堂(暂定) 路线:上海市杨浦区平凉路2103号 近隆昌路 专题1 基于ARM的嵌入式开发(13:30-14:30) 专题2 Windows CE揭秘(14:40-15:40) 专题3 嵌入式Linux系统平台构建 ...… 查看全部问答> |
|
最easy的一个问题,VxWorks下怎么控制评估板上的LED ? VxWorks + ARM7 4510 的评估板, 在ADS下裸机编程调试通过了的一个LED闪灯程序。 把它加入到一个在VxWorks下已经可以运行的程序里面去后。(当然相应的头文件都加上了的) 编译下载,不能闪灯 ...… 查看全部问答> |
|
本帖最后由 guaiguaidou 于 2015-7-27 10:48 编辑 最近学习特权同学的《深入浅出玩转FPGA》一书,想对里面的一个实验进行功能仿真(在书的p60) 但一直都得不到理想情况,请问这个是什么原因? 这是verilog代码: module handshack ( ...… 查看全部问答> |




