历史上的今天
今天是:2024年11月27日(星期三)
2019年11月27日 | 苹果多项汽车相关专利获批:同步车窗和智能后视镜等
2019-11-27 来源:cnBeta.COM
通过使用“同步车窗”(Synchronized Windows),苹果设计的未来汽车有望为车内人员提供额外的隐私保护。此外车辆两侧的后视镜能够根据驾驶员头部的位置自动调整合适的角度。根据本周二被美国商标和专利局(USPTO)收录获批的最新专利,苹果获批了多项和汽车设计相关的专利,未来有望装备在苹果汽车,或者苹果品牌的汽车配件上。
第一项专利名为“Systems with synchronized Windows”(带同步车窗的系统),概述了车窗如何增强隐私保护。在专利中苹果建议在车窗中安装一个光调节层,可以是带有偏光器的液晶、可改变反射率的胆甾型液晶层、由聚合物分散的液晶层形成的可调节雾度层等等此类东西。无论使用哪种材料,通过该层来调整透过车窗的光线。

此外该专利中还推荐使用“交流调制波形”对车内和车外光源进行调整,从而不影响乘客的视线。例如,可以以特定的方式(例如以200Hz的频率)每秒两次打开和关闭车辆内的灯,从而让司机和乘客不会感受到车内光线的变化。
用户并不会看到车窗上的变化,但是车窗能够根据周围环境进行自动打开/关闭该涂层,并配合车内光源为车内乘客提供稳定的光线系统。实现的效果就是当车内乘客打开车内灯源的时候,这些光线不会发射到车外。意味着乘客可以看到内部照明,但是车外人员不会看到。
该专利的发明者是马丁·梅尔彻(Martin Melcher),詹姆斯·威尔逊(James Wilson),克拉里斯·马祖(Clarisse Mazuir)和大卫·金曼(David Kingman)。
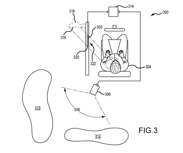
另一项技术专利名为“Systems for improving side-mirror functionality of a vehicle”(用于改善车辆侧面后视镜功能的系统),概述了多种改进后视镜的方法。该专利首先详细描述了如何利用向外展开或完全更换侧视镜来最小化车辆的宽度。
在第一个设计草图中,使用致动器来控制后视镜,这和当前主流汽车装置基本相同(例如在车辆启动之后自动展开,停车之后自动闭合)。不过苹果的这项专利不再仅限于车辆行驶的开始和结束两个点,而是整个行驶过程中都可以调整后视镜。

在专利中使用相机来捕捉驾驶员的面部信息,系统会查看面部特征的方向来监视驾驶员的头部运动。如果确定驾驶员正在通过摄像头朝后视镜方向看,则会向后视镜发送一个信号,使其启动到适当位置,并在不需要时收回。
在第二种实施方式是集成的侧镜,该侧镜安装在汽车本身的墙壁上,并利用每一侧的光学元件为驾驶员提供外部视野。建议提供的视图足以看到附近的元素,类似于正常的外部安装的侧视镜。

第三个方案是完全移除后视镜,然后将其替换为屏幕。显示器安装在车辆内部,供驾驶员寻找后视镜的地方,显示器将从安装在车辆后部的摄像头提供实时视频,从而提供通常由后视镜覆盖的区域的视图反射。
该系统将不对图像进行直接实时处理,而是对图像执行处理,以创建与驾驶员期望从后视镜看到的图像相似的图像,因为相机的位置和视野会有所不同。
上一篇:丢掉了安全,自动驾驶将一无是处
史海拾趣
|
单身、年轻、精力充沛、积极向上的移动工程师坚持不懈地追求更好的收入,硅谷几十年来就扮演着“生手训练营”的角色,但那时的场景现在已经不复存在。非常积极能干的人现在都去了印度。 今年你拿了啊多少? “EE T ...… 查看全部问答> |
|
300名市民首日换卡尝鲜 换张RFID-SIM卡几秒就能搞定 本报讯 (记者蒋偲 通讯员周玉兰)刷手机坐公车、刷手机用餐、刷手机看电影、刷手机超市结账……昨日是手机深圳通正式推出的第一天,第一位体验的市民张晓东向记者表示,11路是自己每日上 ...… 查看全部问答> |
|
写了一个驱动,要在收到协议的第一个字节后,开始启动超时定时器,如果超时就复位接受缓存。 不懂在驱动中该如何使用定时器,就学着用WaitForSingleObject()实现,但是在使用中如何能实现“收到第一个字节启动,收到最后一个停止”??? 实现过 ...… 查看全部问答> |
|
我最近正在使用IAR 编写atmega128的ucos系统 不过在isr.r90文件中,有一句汇编语句 小弟不太懂 希望高人指教。 RSEG CODE:CODE:NOROOT(0) 这条语句中的0代表什么意思? 在写中断汇编的时候, ...… 查看全部问答> |
|
各位工控朋友你们好 我现在遇到一个很棘手的问题,恳求高手指点!我所在的公司是一家啤酒酿造企业,前一段时间酿造车间引进一套发酵自动温控系统,用的是西门子的S7 412-2的PLC ,上位机组态软件是WINCC5.0。因生产工艺的要求,每个发酵罐要用几个 ...… 查看全部问答> |




