历史上的今天
今天是:2025年02月14日(星期五)
2020年02月14日 | 带插接定位的超声波流量计的原理及设计
2020-02-14 来源:elecfans
内容说明
本发明涉及流量测量技术领域,具体的说是一种带插接定位的超声波流量计。
发明背景
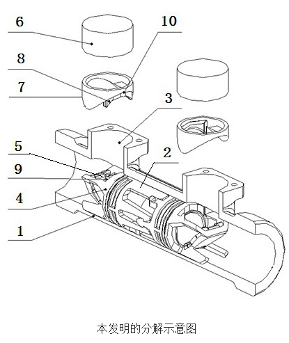
众所周知,现有的超声波流量计是由流量管体、测量管体、换能器安装管体、定位元件、反射镜安装座、反射镜和换能器组成,所述流量管体侧壁设有两个换能器安装管体和定位孔,所述流量管体内设有测量管体,所述换能器安装管体与流量管体相连通,所述流量管体经定位元件与测量管体相固定,所述换能器管体内设有换能器,所述测量管体两端分别安装反射镜安装座,所述反射镜安装座上设有反射镜,所述反射镜与换能器相对应,这种结构的不足是:一、由于定位元件直径尺寸较小,造成定位不够精确,在水流的反复冲击下,反射镜安装座在测量管段内定位不可靠。二、流量管体和测量管段上都需要加工定位孔,提高了生产成本,同时增添了一个泄漏的点,存在使用过程中测量介质泄漏的隐患。
发明内容
本发明的目的是解决上述现有技术的不足,提供一种结构新颖、拆装快捷、定位精确、固定可靠、测量精度高的带插接定位的超声波流量计。

本发明解决其技术问题所采用的技术方案是:
一种带插接定位的超声波流量计,包括流量管体、测量管体、换能器安装管体、反射镜安装座、反射镜和换能器,其特征在于所述流量管体和反射镜安装座间设有定位套,所述定位套呈圆柱形,所述定位套中心设有超声波通道,所述定位套下端设有定位插件,所述定位插件沿所述定位套下端轴向延伸,以利于将定位套定位在反射镜安装座上,所述反射镜安装座侧壁设有定位插槽,所述定位插件与定位插槽相配合,所述定位套上端紧密插在换能器安装管体内,并与换能器相抵触,下端经定位插件与反射镜安装座的定位插槽相插接定位,显著提高了反射镜安装座的稳定性,保证了反射镜安装座的安装位置,大大提高了测量精度,同时还达到了拆装方便的作用。
本发明所述定位套下端面设有定位曲面,所述定位曲面是由两对相邻的凹部和凸部相互圆弧过渡连接而成,以使所述定位套的定位曲面与所交叉接触的反射镜安装座管段外壁相吻合,以进一步达到定位精确的作用。
本发明所述定位插件的底面呈弧形,且所述定位插件的底面半径大于等于反射镜安装座内壁半径,以达到避免对流体产生扰流的作用。
本发明由于采用上述结构,具有结构新颖、拆装快捷、定位精确、固定可靠、测量精度高等优点。
上一篇:电磁流量计监测系统的原理及设计
下一篇:磁性浮子液位计的原理及设计
史海拾趣
|
在测量、控制等领域的应用中,常要求单片机内部和外部RAM中的数据在电源掉电时不丢失,重新加电时,RAM中的数据能够保存完好,这就要求对单片机系统加接掉电保护电路。掉电保护通常可采用以下三种方法:一是加接不间断电源,让整个系统在掉电 ...… 查看全部问答> |
|
是有意从事各种嵌入式软硬件开发,方案、产品设计的创业学生、个人或团队有好消息了,本公司现在面向以上人士提供《创新工作室》的合作。 本公司是致力于采用国产嵌入式SOC芯片开发的高科技公司,主营SOC芯片开发销售。 ...… 查看全部问答> |
|
我司(安徽某科技股份公司)欲招聘以下人员:一、产品经理岗位职责: 1、针对客户需求制定解决方案并进行推广;2、配合销售人员拓展相关市场,与客户进行沟通交流;3、分析研究集成电路的发展趋势和技术进展,为公司战略决策提供建议;4、参 ...… 查看全部问答> |
|
MSP430F541x, MSP430F543x ,MSP430F543xA,MSP430F541x,MSP430F55xxA官方示例代码 附件中代码是TI提供的MSP430F541x, MSP430F543x ,MSP430F543xA,MSP430F541xA, MSP430F55xx 官方示例代码,可以作为MSP430使用过程中最可靠的代码参考 [ 本帖最后由 wstt 于 2012-5-31 20:52 编辑 ]… 查看全部问答> |
|
以下是在使用MSP430中的一些总结: 1.系统时钟问题: 系统默认使用DCO,使用外部高速晶振XT2时必须自己开启XT2,并延时50us等待XT2起振,然后手工清除IFG1中的OFIFG位 !!!!一定要注意操作顺序:打开XT2->等待XT2稳定->切换系统时钟为XT2 若 ...… 查看全部问答> |
|
msp430哪些型号的单片机支持触摸按键,该型号的430单片机有多少IO口支持触摸按键?比如说,msp430g2553,其所有IO口均支持触摸按键。… 查看全部问答> |




