历史上的今天
今天是:2025年02月18日(星期二)
2020年02月18日 | “无模组”电池专利排排看:谁更牛一点?
2020-02-18 来源:电动汽车观察家

左图:宁德时代CTP配套的北汽EU5,右图:比亚迪“刀片电池”配套的比亚迪汉
去年起,“无模组”电池包突然大火。国内两大电池巨头引领潮流,宁德时代推出“CTP(Cell To Pack)”电池包;比亚迪祭出刀片电池,以无模组方式直接成组为电池包;电池新秀企业——蜂巢能源,也对外公开了CTP电池包。此外,还有一些企业也在研发类似技术。
“无模组”电池包,顾名思义,就是将电芯直接集成到电池包。
根据企业提供的数据来看,“无模组”电池包能够提升体积利用率,并降低电池包的成本。
以宁德时代为例,其CTP电池包体积利用率提高了15%-20%,电池包零部件数量减少40%,生产效率提升了50%,电池包能量密度提升了10%-15%,可达到200Wh/kg以上。
比亚迪推出的则是采用磷酸铁锂的“刀片电池”,系统体积比能量提升达50%。在业内人士看来,这也是典型的“无模组”电池包。
蜂巢能源对外宣传的数据是,与传统590模组相比,蜂巢CTP第一代减少24%的零部件,第二代成组效率提升5-10%,空间利用率提升5%,零部件数量再减少22%。
从数据上看,取消模组的好处显而易见,但是否会带来新的问题?“无模组”电池包是否没有模组结构?各家技术路线有何异同?对业界可能带来什么影响?
1.“无模组”到底有没有模组?
家家都说“无模组”,是真的都没有模组吗?
例如,根据宁德时代专利 CN 209658278 U来看,其CTP电池包就是有模组的。根据摘要所述,宁德时代电池包包含两个以上的电池模组。

资料来源:宁德时代专利 CN 209658278 U
比亚迪的“刀片电池”组成电池包,兼容有模组和无模组两种形式。无模组模式下,电芯本身承担一部分模组功能,做大了容量,但又提升了空间利用率,减少了材料和内耗;有模组的情况下,模组结构不包含端板和侧板等结构,也比传统模组有所提升。
从比亚迪“刀片电池”多个专利来看,首先,电芯长度远比一般要长,形如刀片。在比亚迪专利CN 110518174 A中,长度为400~2500mm。

资料来源:比亚迪专利CN 110518174 A 注:100为电芯,即“刀片电池”
其次,“刀片电池”内部多个极芯串联。和电芯组成模组相比,同样是提升电压和容量,但减少了外壳以及外部安装结构,提高了空间利用率,保证了动力电池包的整体容量;同时,还减少了外部动力连接件的使用,降低内耗。

资料来源:比亚迪专利CN 110518174 A
第三,基于“刀片电池”,既可以做无模组电池包,也可以做有模组电池包。我们分析,无模组主要应用于乘用车,有模组电池包主要应用于商用车。

资料来源:比亚迪专利 CN110518156 A
第四,即便是有模组的电池包,基于“刀片电池”,该模组也能比常规模组节约一些结构件,同样达到提升体积能量密度的功能。

资料来源:比亚迪专利CN 209389112 U
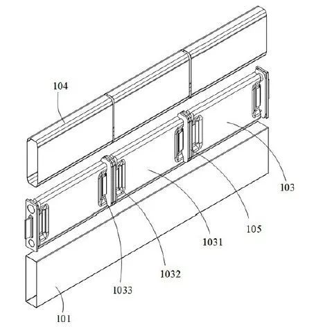
蜂巢能源的CTP电池包专利CN 109728219 A,其本身描述的就是一个电池模组。蜂巢能源主要是通过加强梁和端板的集成在一起,使电池包的结构更加紧凑,为电池包提升强度、降重。

资料来源:蜂巢能源专利 CN 109728219 A
他们的模组和传统模组有何不同?
一般来讲,电池模组基本组成包括:模组控制、电池单体、导电连接件、塑料框架、冷板、冷却管道、两端的压板,以及一套将这些构件组合到一起的紧固件。其中两端的压板除了起到聚拢单体电芯,提供一定压力的作用以外,有时还会将模组与电池包的固定结构设计在上面。
上述企业的电池包只是在某种程度上,减少了电池模组的部件,例如端板、侧板,并且将电池模组做得比较大。
在某电池系统生产企业总经理张先生看来,这些“无模组”的电池包,多数而言,更准确的说法应该是简易模组或者大模组,最终目标是减少电池包空间上的浪费,并减少一些多余的重量,从而达到提升电池系统的能量密度的目的。
2.“无模组”已成趋势
国内只有上述三家企业在做“无模组”电池包吗?
《电动汽车观察家》使用专利搜索引擎SooPat搜索发现,专利名称中包含“无模组”三个字的动力电池企业并不少。



资料来源:SooPat
这还包括名称中不含有“无模组”三个字的专利。例如,宁德时代、比亚迪和蜂巢能源三个典型“无模组”专利中就不包含这三个字。
当然,如果将“无模组”概念改为“大模组”或者“简易模组”电池包,那么在做的企业数量就更多。据了解,捷威动力、欣旺达、桑顿新能源科等企业都在做。
一家中国去年年度装机量进入TOP10的企业电池技术总工程师李先生表示,他家也已经有大模组的产品,但目前还没有上市,未来方形和软包电芯都会有。
在李先生看来,大模组已经是业内发展趋势,因为标准模组不可能在各种车型上都得到最优化的系统设计。
“随着市场扩大,单一车型或一个系列车型的电池量能够支撑独立的模组设计的时候,电池包就变成了定制化。”
李先生的观点与电池系统商张先生的观点很类似,在张先生看来,这个技术既不新鲜也不困难,是新能源汽车产业发展到一定阶段的产物。
但定制化路线经济么?
李先生表示,目前大车企已经有定制化底盘的思想,多车型共用同一个电池包,量大了,定制化的经济型就能体现出来。
“如果特斯拉不走定制化路线,就不可能有今天的成功。”李先生说。
3.论创新:“刀片电池”最强
那么多企业在做“大模组”或者“简易模组”电池包,都有何异同?
《电动汽车观察家》在与多位业内人士的沟通中发现,大家公认比亚迪的“刀片电池”创新性最强。
上述电池系统生产商张先生对《电动汽车观察家》表示,大部分企业是将电池模组做大,电芯尺寸是基本没有变化的。但是,“比亚迪从电芯层面就发生了较大变化。”
具体来看,“刀片电池”减少了电池包中横梁或纵梁的使用,甚至可以不使用横梁或纵梁,从而提高了电池包的空间利用率,进而提高整个电池包的容量、电压以及续航能力;此外,通过电芯本身也可以提高电池包整体的刚度。
这种大电芯的方式,到底能为比亚迪带来怎样的效果呢?
通过比亚迪在专利中给出的数据可以看出,在电池包总体积不变的情况下,电池包的电量和能量密度都有较为明显的提升。乘用车体积较小,因此,能容纳电池的空间也相对较小,电池包体积能量密度便成为一个非常重要的数据。
具体来看,实施例3相比对比例1,体积能量密度提升大约11.6%;实施例5和对比例2相比,体积能量密度提升12.2%;实施例6和对比例3相比,体积能量密度提升了18.1%。再对比车身尺寸,可以看出,尺寸越大,刀片电池体积能量密度提升幅度越高。
比亚迪对比例和实施例数据

资料来源:比亚迪专利CN 209389112 U
刀片电池将会首个搭载在其新车型比亚迪“汉”上。
根据工信部最新一批新能源汽车推广目录信息来看,比亚迪汉EV的NEDC续航里程为550km(双电机车型)、605km(单电机车型),配备电池系统能量密度为140Wh/kg。虽然质量能量密度表现一般,但从续驶里程来看,“刀片电池”体积能量密度优势应该得以发挥。

比亚迪“汉”
宁德时代和比亚迪“无模组”电池包差异很大。
根据宁德时代的专利描述,其电池包包括两个以上的电池模组,两个以上的电池模组均包括框架和容置于框架内的多个电池单体。

宁德时代专利 CN 209658278 U对模组的阐述
也就是说,宁德时代的CTP电池包中电池模组已经取消相应的顶板、侧板等零部件。在满足电池包轻量化的同时,提高了电池包在整车的连接强度。
在张先生看来,宁德时代的CTP相当于将电池模组做大。“如果将书本比作电芯,装书的箱子比作电池包,将捆书的打包带比作电池组。5本书打成一捆,与20本书打成一捆,打包带在箱子中占的体积是不同的,明显后者打包带占的体积要小很多。”
谈到蜂巢能源的CTP结构特点时,某汽车三电技术负责人向《电动汽车观察家》解释说,蜂巢能源简化了模组结构,“以房子来比喻的话,就是将房梁和墙都做得很薄。”整体来看,并没有太大创新性。
软包方面,捷威动力和桑顿也在模组方面进行了探索。
例如,捷威动力的柔性电池大模组成组结构专利。
张先生表示,捷威动力专利的主要特点也是简化了模组结构,并将模组做大,并没有太大创新。整体思路与宁德时代差不多。

资料来源:捷威动力 CN 108666494 A
桑顿的软包无模组专利则更为简单。
根据桑顿专利CN 209232839 U的描述,其电芯组是通过螺栓固定在箱体上,电芯间通过结构胶加以固定。

资料来源:桑顿新能源专利 CN 209232839 U
对此,《电动汽车观察家》咨询了桑顿新能源pack事业部负责人熊志江。熊志江告诉记者,这个专利技术目前还有待提升,尚未在乘用车领域应用,目前主要用做储能。
不过熊志江表示,他们的产品也在向大模组电池包的方向发展,这个趋势是可以肯定的。
“无模组”电池包的应用,会带来怎样的影响呢?
某业内人士对《电动汽车观察家》表示,影响主要有两点:
首先,车企和电池企业的关系方面,车企对电池企业的依赖度必然增强,电池企业的话语权增强、议价能力增强。
其次,在产品方面,大模组电池包对电芯一致性、可靠性的要求很高,因为没有模组后,剔除损坏电芯的难度增加,以至于后期的梯次利用都会很麻烦。
无论如何,“无模组”电池包在中国已经成为新的发展方向。现阶段应用“无模组”电池包的乘用车企并不算多。虽然成本下降明显,但大部分车企对产品的可靠性和售后维修仍存有疑虑。随着“无模组”电池包量产的乘用车的出现,产品经过时间验证后,相信会有越来越多的车企采用这一技术。
史海拾趣
|
請問可以同時插兩只CSR的Bluetooth dongle么? 現正在學習BCHS Application Demo,通信時需要兩臺PC,各插一只dongle,很不方便。請問可以在同一臺PC上插兩只dongle么。理論上是完全可行的,而且從設備管理器中也可以找到兩個設備(dongle),但不知道如何與應用程序關聯起來,應用程序只能同時打 ...… 查看全部问答> |
|
几个弱智问题 1 FLASH是多少位的是跟据地址线的根数来确定吗?FOR EXAMPLE? 2 所有NAND FLASH的结构都一样么?都是8根I/O口?那它是几位的? 3 CPU的位数根据什么确定的?地址线?PXA270 32位的,是32根地址线吧? 谢谢。。。!! ...… 查看全部问答> |
|
各位朋友,本人有一些Windows平台的C++开发经验,现在想做嵌入式,自己也有一块ARM的板子,搞过linux的bootloader和内核移植,但是却没有项目可以去学习。本来想去参加培训,可是没有时间。不知哪位朋友现在是否在开发什么项目,能否带小弟一起学习 ...… 查看全部问答> |
|
本帖最后由 jameswangsynnex 于 2015-3-3 19:57 编辑 最近本人设计了一款AIR MOUSE+PC遥控器,功能如下: 1. 2.4G无线传输:该产品一发一收,采用2.4G跳频技术以免干扰.传输距离:25米 &n ...… 查看全部问答> |
|
【已解决】【有附件】大家来帮忙看看我的程序哪里错了...弄了好久都 这是小弟的毕业设计,做好了之后,总是在数码管那里出问题,也就是有d,e段不亮,导致2,3,5,6,8,9的显示都看不到...... 弄了好久,刷新频率什么的,数码管的电流什么的都改过也出不了结果,可能是小弟哪里没弄好还是什么,所以上来请 ...… 查看全部问答> |
|
最近发现在uhci控制器(6212)与3G数据卡数据交互大流量时会产生TD stall 错误,之后再插拔设备,uhci(6212)发送IRP请求失败,无法再读取设备信息 请教这可能是什么原因,有方法复位uhci吗? 我用的vxworks usb2.0驱动,在线等 ...… 查看全部问答> |




