历史上的今天
今天是:2025年02月26日(星期三)
2020年02月26日 | MPEG LA-HEVC专利池里的中国公司
2020-02-26 来源:爱集微
在上一期的MPEG LA-HEVC专利池介绍中,我们发现专利权名单中仅有的两位中国专利权人:杭州海康威视数字技术股份有限公司和杭州博云信创科技有限公司,其中海康威视持有5项关于提升视频编解码效率的专利,博云信创则持有6项专利关于该技术的专利,这些专利布局多个国家,估值甚高。此外,笔者根据最新的HEVC专利组合许可说明性交叉参考表,对比发现海康威视所持有的专利技术仅为HEVC标准相关专利,而博云信创所持有的6项专利都为HEVC技术的标准必要专利。
继续挖掘两家公司的这几个入池专利,发现这些专利都具有权利转移历史,也就是说第一申请人并非海康威视或者博云信创,具体转让信息如下:

从上述的专利的转让历史可以看出,博云信创的6件标准必要专利都是从名为李英锦处转让而来,而海康威视的5个标准相关专利则是从名为INTELLECTUAL VALUE的韩国专利运营公司手中购得。
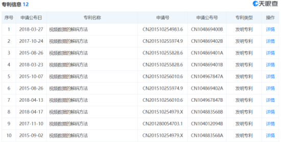
海康威视作为全球安防领域的龙头企业,以视频为核心的智能物联网解决方案和大数据服务提供商,视频编解码技术对其的影响甚大。而手握6项HEVC标准必要专利的博云信创仅为刚刚成立不久的公司,其第一权利人李英锦正是该公司的执行董事和总经理,公司名下的12项知识产权都是名为“视频数据的解码方法”的发明专利,典型的技术创业型公司,看来博运信创是准备在视频编解码技术上大有作为。

以上信息来源:天眼查
无论是海康威视购买HEVC相关专利,还是博运信创的HEVC技术自我创新打入标准必要专利,都证明了HEVC技术在各个产业中的重要性。国内相关企业想要摆脱高昂的专利许可费,除了自主研发创新,其实还有一种便捷高效的做法——专利交易,在短时间之内获得相关技术的重要专利。

深圳市嘉德知识产权服务有限公司由曾在华为等世界500强企业工作多年的知识产权专家、律师、专利代理人组成,熟悉中欧美知识产权法律理论和实务,在全球知识产权申请、布局、诉讼、许可谈判、交易、运营、标准专利协同创造、专利池建设、展会知识产权、跨境电商知识产权、知识产权海关保护等方面拥有丰富的经验。
史海拾趣
|
概述 在微机测控系统中,用作上位机的PC机系统与用作下位机的单片机之间经常要进行信息交换。目前的主流单片机和PC机内部均带有串行口,因而两者之间的通信可通过串行口完成。但是,在实际应用中有时主控PC机和单片机相隔很远,为保证数据能高速及 ...… 查看全部问答> |
|
眼睛看一眼识别器,戒备森严的大门就会自动打开,这些以前只能在好莱坞大片中才能看到的生物识别系统,正在进入大家的日常生活。 生物识别系统,就是利用人体的声音、指纹、人脸、虹膜和掌纹等具有唯一性和稳定性的特征,识别出一个人的身份的系统 ...… 查看全部问答> |
|
国内测控系统开发大多是几个人以小组的形式根据不同的项目组织在一起,由于缺乏一个稳定工作的硬件基础,整个开发工作的重点大都放在调试硬件故障上。首先,所有项目的开发几乎全部使用汇编语言,严重影响了程序的可读性和可移植性,更换不同的处理 ...… 查看全部问答> |
|
以有上面两个东西,现在想通过PC串口来控制步进电机,并写出VC程序。要求VC能控制电机以轴向距离1mm为单位移动 我的想法是通过一个串口转TTL的转接器接上驱动器然后驱动电机,最后用VC来控制串口 不知以上方案可行否? 请高手赐教 ...… 查看全部问答> |
|
使用ULINK 2调试自己的板子,(连接的JTAG信号线有:JTAG_TDI、JTAG_TDO、JTAG_TCK、JTAG_TMS、JTAG_TRST连接的信号),我开始认为是没有连接nreset的问题,把nreset脚与我电路板上的nreset链接以后现象还是一样,就是每次进入DEBUG调试状态 ...… 查看全部问答> |




