历史上的今天
今天是:2025年02月28日(星期五)
2020年02月28日 | 奥迪的PPE平台电池专利解析
2020-02-28 来源:《汽车电子瞭望台》
1月 10 日,奥迪的《机动车辆的牵引电池》专利公布,这个电池系统有点像是 PPE 的电池方案设计,我们从这个专利里面可以解读出 PPE 在之前的 E-tron 和 MEB 平台设计的差异性,还有这个比较矮的,适用于轿车的面向高端化的设计构思。

图 1 专利描述
01
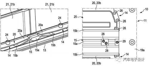
PPE 模组结构
在下图中示意的展示了八个电池模块(模块壳体)和 14 八个可弹性变形的元件。这个 8 个壳体往下细翻,可以看出 PPE 的模组设计方案,是建立在 MEB 的 590 基础上的,这里设计的思路,是使用两个横向分割长度的模组,形成一个一体化结构的长模组设计,长模组之间含有中间隔板,将模组分为前后两个部分。用专利的说法是,电池长模组包含下面的长模组壳体,主要包含两个对置的第一侧板(长边,我们通常成为侧板) 和两个对置的第二端板(窄边),这两个板相拧接。


图 2 PPE 的模组方案
现实来说,这个有点像之前蜂巢展示的一长条的 CTP 方案,如下图所示,这两个在结构上比较相似。为了保证足够的压力,这里中间还是放置了隔板,可以兼容原有的软包和方壳电芯的方案。也就是说,在这里两种不同的电芯放进去以后通过分隔板之后形成一体化,中间可以做电气分割,也可以直接进行串联,然后像下图蜂巢那样做的长模组直接进行连接点的串联以保证电气连接的简洁性。专利的说法:侧壁 21a、21b(软包的排布)和中间壁 30(方壳的排布)尤其用于接收所谓的膨胀力,该膨胀力作为由电池模块的体积变化而导致的力,应对在对电池模块充电和放电时能够形成这样的体积变化。

图 3 蜂巢的 CTP 展示效果
在这个里面,有个很重要的特征,是模块壳体的底板,这个是把冷却板直接集成在这个里面,所以在两个对置的窄边上侧壁伸出冷却剂,这是考虑结构的简洁性,把电池的冷却板集成在底板上。这块板由上下两部分拼接而成,通过两边和中间的接合,构造出了冷却液流道,如下图,由一端进,另一端出。专利的说法备注:相应的模块壳体的底壁具有上板和下板,上板和下板在第一区段上彼此贴靠并且在彼此连接,并且其中所述上板和下板在第二区段上是彼此间隔开的并且形成冷却通道。

图 4 模组的冷却结构
02
从模组的角度看问题
在这个方案里面,我们能看到对于 Pack 的简化,把原来 390&590 的模组进一步强化,奥迪的工程师的想法就是把模组变大,使得它具备通用性而且能够吸收相当的一部分 Pack 的功能,而 Pack 的外围就只有弹性保护、底板、外框和四周的壳体。我可以这么形象的说法,这里 Pack 倒是非常简化,模组做完以后就可以非常简单把保护件搭起来。严格来说,把保护的那部分放在车上,特别是外框集成底盘,这个路也是走得通的。这里比 CTP 有两个大的有点,兼容软包和方壳,也同时把 Pack 简化了,而且能把一部分的东西设计在车里面。

图 5PPE 电池系统的整体结构
小结:相比 MEB,PPE 的电池设计还是费了很多的心思,也是努力在降低成本,尽可能把 Pack 的组装和设计简单化。这个好处模组之间是独立的,能拆,而且长模组前后两部分也可以分断,一定程度上维修性更好一些,我觉得这个东西设计的还是不错的
史海拾趣
|
中断向量表的编写 .ref _bad_trap ; 这个标号外部没有定义,为什么还用.ref,而不是用..global? .ref _c_int0 ; entry point to the code .sect "vectors" ;自定义 ...… 查看全部问答> |
|
许多电子初学者对于谐振电路的品质因素(Q值)理解的不是很透彻,近日在网上发现这篇文章,讲得比较详细. 在研究各种谐振电路时,常常涉及到电路的品质因素Q值的问题,那末什么是Q值呢?下面我们作详细的论述。 图1是一串 ...… 查看全部问答> |
|
大家好, 关于wifi的配置, 下面黑体部分: g_dwOutput & INTF_BSSID == 0????为什么啊?望高人指教! 部分打印信息: In flags used = [0x7fffffff] dwOutput 打印信息 = [0x000fffff] ...… 查看全部问答> |
|
在Lotus代理中的Initialize中这样写道Dim objRTXCApi As RTXClient.RTXAPI 但objRTXApi出错,定义不了objRTXCApi,在VB中只要添加应用就可以了,请问在Lotus该怎样声明objRTXApi?请高人帮忙解决!谢谢… 查看全部问答> |
|
TI的Sitara系列ARM器件提供了丰富多彩的启动模式, 可以说东邪西毒南帝北丐,你能想到的启动方式, 它基本上都有了.那么就让我们拷问一下Sitara, 究竟你是怎么实现这么多的启动的? 手段合不合** 是否损害了最广大的人民群众的根本利益?Sitara:尊敬的各 ...… 查看全部问答> |




