历史上的今天
今天是:2025年04月01日(星期二)
2020年04月01日 | 在电动汽车里面能否抛弃PTC?
2020-04-01 来源:eefocus
引言:今天继续休假在家,送完烟烟上班,有时间仔细查了一下 Model Y 的信息,目前看下来 100 米的线束肯定是到不了了,但是在热泵和 PTC 上的使用上,还是非常有特点的。目前看下来,特斯拉在热管理系统上面,出现了之前驱动系统、充电系统方面相似的协调性,通过调度整车的客舱加热 / 散热需求、电池的加热 / 散热需求和驱动系统的散热需求,充分利用了空调压缩机和电机 / 逆变器的特性,达到了省掉水热式 PTC 和高压电热式 PTC 的效果。
01 热泵系统的限制
目前所有的新能源车空调系统中主要包含制冷功能和加热功能,制冷基本都采用电动压缩制冷方式,制热方案主要包括 PTC(液体 / 空气)和热泵系统。热泵是一种将低位热源的热能转移到高位热源的装置,把蒸发器和冷凝器功能互相对换,改变热量转移方向。热泵系统的类型主要有直接式热泵空调系统、间接式热泵空调系统和补气增焓直接式热泵空调系统等。低温的使用限制一个是室外换热器结霜,另外是 COP 制热能效比是和环境温度强相关的(空调将制冷 / 热循环中产生的制冷 / 热量与制冷 / 热所消耗的功率之比)。行业内的方向是制冷剂的改变和辅助的措施,如下图所示。

图 1 现有电动汽车空调系统的热泵+PTC 的组合
02 特斯拉的做法
特斯拉在 Model Y 的设计中,取消了高压的 PTC(水热的在 Model3 上取消),在 Model Y 上配置了一个低压的 PTC 集成在空调系统鼓风机里面。而车辆热泵系统包括压缩机,机舱冷凝器,机舱蒸发器,机舱鼓风机和冷却器,并且把电池系统、功率电子 PCS+驱动系统和整车的系统回路整合在一起。整个物理结构如下图所示:

图 2 特斯拉 Model Y 的做法
如下图所示,特斯拉把 12V PTC 也作为热泵系统补充的一个拼图,从成本和产热的功率角度,把 PTC 完全作为了绿叶。
图 3 Model Y 的热泵系统
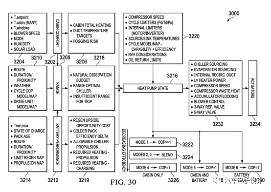
在这套系统里面,很惊讶于特斯拉设置的工作模式,这是根据外部的参数进行设定的,整体是比较复杂的,如下图所示,特斯拉划分了 12 种工作模式:
表 1 整车热管理系统的工作模式

不过核心的划分依据是环境温度和电池的温度,如下图所示:
COP=1:热泵系统不工作的,主要是在环境温度很低的时候(-20℃),这里的做法就采用特殊的做法,按照之前处理办法,把驱动系统的做法堵转方式,把压缩机的控制算法改了,把一个电机作为加热器来使用(The control electronics may control the compressor to operate in a lossy mode in which the compressor generates heat)
COP=1~2:温度范围在 -10℃~10℃之间,会启动混合模式,这时候热量有自 12VPTC,然后一部分自热泵
COP>>1:这是热泵高效区,这时候热泵系统是最主要的加热方式

图 4 热泵 COP 的划分,还有不同的模式设置
实际上这 12 种模式,是车辆进行自己操作的,主要的输入参数包括车主所需要行驶的目的地和路线、环境(温度)、天气(湿度)、车辆的内部参数(包含电池 SOC、Soh、热管理的运行参数)等等,这里面是一个很精致的过程,可能在实验验证环境会有不同工作模式和需求的界定和划分。实际做出来可能不止这么多,或者进行一定程度的简化,这个弄法也只有在上层控制器里面用高算力算完,然后把命令逐个分发下去。

图 5 热泵的工作模式 1

图 6 热泵的工作模式 2
而之前电机余热发热的模式,在以上的具体模式中其实也是存在的,就是把压缩机的用法也同样做了迁移,进入了高损耗模式。我觉得,特斯拉这样打透部件的用法,真的是把零部件上逼到了角落里面,你只要有硬件设计和制造的 know how 就可以了,具体怎么用,你别管,我来。按照基本的质保和寿命条款来走,后续处理根据软件的做法来调节。

图 7 在几种模式下,压缩机变身为加热器
小结:我觉得从好几个方面,特斯拉改变了软件和硬件的关系,改变了车企和供应商的关系,改变了车企内部不同的系统设计的协同的概念,这种新的组织方式还是短期内传统车企很难跟上的。
史海拾趣
|
1.电路板(除去元器件)由什么材料制成? 2.电路板用PROTEL画图的时候,哪些层分别对应着哪些位置?(比如;topoverly,layout...) 3.什么是波峰焊,回流焊?… 查看全部问答> |
|
收购:现需要收购 SmartARM2400 的包装盒若干个,以及装书的那个硬包装盒若干个,谢谢! 发现 SmartARM 2400 的包装盒装东西非常合适,想弄几个, SmartARM套件中的那个装书的硬纸盒也非常不错,用来整理书架是非常不错的选择,非常想多弄几个。 可以和我邮件联系, rampc@sian.com 不要太贵哦,我明天再把我想要的 ...… 查看全部问答> |
|
该晶振的1,4脚与OSC32IN,OSC32OUT 的连接有没规定:哪个脚跟哪个脚相连,找不到相关材料,望知情高手指导下,拜谢 ...… 查看全部问答> |
|
1、PC机串口连接TEST44X学习板的9芯串行接口 J5_232 // 2、对拨动开关P_232、P1、U_USART,只有拨动开关 U_USART 的P2脚和P5脚拨到ON 的位置; 按照上面的设置设置了,我从pc端给开发板发数据,没有回来的数据,没反应,其他几个历程也不行,请问 ...… 查看全部问答> |
|
前仿真出来的状态机时钟正确的, 而后仿真出来的状态机中,有些状态之间就会有很短时间的其他状态,时间不到系统时钟的十分之一。 上图是后仿真时序,状态3后应该是状态4,但是实际却是状态7 和 6 ,而且时间很短,不到一个时钟周期,这导致了后 ...… 查看全部问答> |




