历史上的今天
今天是:2025年04月17日(星期四)
2020年04月17日 | 马自达RX-9混动系统专利:利用电容器驱动轮毂电机
2020-04-17 来源:盖世汽车 余秋云 2020-04-17 09:30:54
最近有报道表示,马自达现在拥有一个后轮驱动汽车平台以及创驰蓝天(Skyactiv-X)直列六缸发动机,为下一代马自达 6轿车车型服务。为了摊销开发成本,新平台还需要为下一代马自达CX-9 SUV等车型提供服务。不过,该平台并不是是马自达唯一的王牌。马自达的目标是推出48V混合动力车以及插电式混合动力车,近日,据外媒报道,最近一份专利申请文件表明,马自达还在考虑推出利用电容器驱动的轮毂电机,而此种高科技的混合动力装置可能专为未来马自达RX-9轿跑车设计。

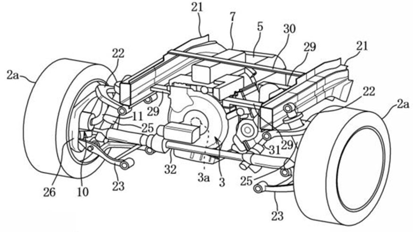
最新所披露的专利似乎是马自达去年早些申请的一项专利的更新版。两份专利申请文件都详细介绍了一款配备前置发动机的后轮驱动汽车,该车在前轴安装了两个轮毂电机,发动机后部安装了第三个电机,还配备了一个电容器以及一个小型锂离子电池。第一份专利文件展示了一款直列四缸发动机,不过当地时间4月9日公布的专利文件则描述了一款未知缸数的V型发动机以及一款汪克尔(Wankel)旋缸发动机。
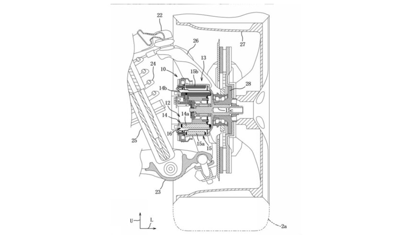
轮毂电机历来都有的问题是会增加非簧载重量,可能给行驶和驾驶员操控带来负面影响。马自达的解决方案是在前轮轮毂配备一个相对较小的发动机,而且该发动机由发动机舱(旋缸发动机的顶部,或V型发动机的气缸之间)的双层电容器驱动。电容器能够迅速释放能量,与电池相比,可更高效地从制动中回收能量。此外,马自达还利用一款速度传感器指明什么时候可以采用前轮轮毂电机。

但是马自达打算如何利用如此小的电机来驱动轮毂呢?与汽车其他部分相比(120V),该轮毂电机和电容器的工作电压更高。电压更高意味着电机能够在电流较低的情况下,与电压较低的电机产生同样的电力,电流较低就意味着可以实现尺寸更小的线组和绕组。据该专利文件所说,这一切都有助于实现一个紧凑、轻量级的电动全轮驱动(e-AWD)解决方案。而且由于杠杆作用,轮毂电机不会拥有与轴端电机一样的扭矩优势。

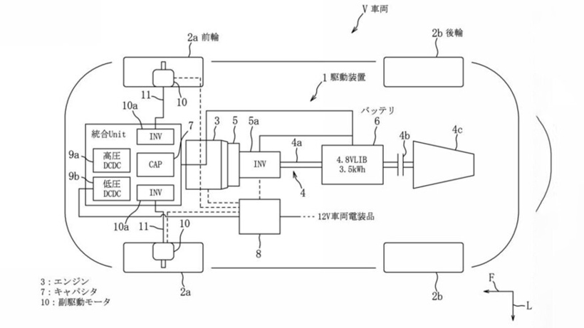
为了适应不同系统的电压,马自达还使用了三个逆变器,其中一个与发动机(没有飞轮)和传动轴之间的主驱动电机连接。该款25千瓦的永磁同步装置由一个48V 3.5千瓦的锂离子电池组(很奇怪,该电池组放置在传动轴通道中,在车辆中心以下)提供动力,可以驱动后轮或者取代内燃机。至关重要的是,此种设计占据了传统变速箱(发动机后部)的空间,因此马自达的设计还需要一个后变速驱动桥。

专利文件指出,后变速驱动桥的优点之一是不会有变速箱突出到汽车地板上,可以让车内前部空间更大,从而可以让马自达在车内中央设计更加对称的座椅位置。此外,后变速驱动桥对于发动机前置的车型而言,能够更好地分配重量,也是在Corvette等高性能车型中常见的装置。
因此,该设计对于一辆发动机前置、全轮驱动、且采用旋缸发动机的混合动力车型而言,非常复杂。虽然该系统很有可能适用于即将上市的后轮驱动马自达6及其直列六缸发动机,不过,另一项马自达专利申请文件表明,该动力系统还会在后面挂上传统的八速变速箱。(文中图片均来自motortrend.com)
史海拾趣
|
子式工具组,工作简单快捷,舒适安全,且一人便可独立完成。工具组主要功用是:①测试制动液的湿沸点,确定是否应该更换。②使用独有的工具进行旧制动液的排放和新制动液的加注。③换液时,工具中采用先进的电子传感显示技术的部件,能准确有效地判 ...… 查看全部问答> |
|
请问tcl语言中如何将内容打印到文件啊,比如下面这句:puts [ format \"%40s%13s%13s%13s\"\"name\" \"num\" \"code\" \"com\"]在modelsim中执行后会在modelsim命令窗口打印相应字符,如果想把这些打印到文件中,该用什么命令呢。刚开始学习tcl,还 ...… 查看全部问答> |
|
我现在找了很久ise foundation 10.1或webpack的开发软件,有谁有的可以给我提供以下吗,我在学校,去xilinx网站下要花很大的流量,下不起,图书馆借了个光盘也不能用,哪位好心人能帮我一下,感激涕零啊!邮箱:ffxsppan@163.com… 查看全部问答> |
|
PC对PLC通过MODBUS协议通讯时 给出的映射表是这样的 H0000 P区域 H1000 M区域 H2000 L区域 H3000 K区域 现在我要对一个M1900(已经 ...… 查看全部问答> |
|
老板红了眼,再没结果我就要牺牲了!PDA上UDP通信问题,请各路高手帮忙看,小弟感激涕零 目前的模块,PDA跟单片机的通信。 1,在EVC4下编的代码,通过PC2003模拟通信没有问题,收发数正常 但是release到PDA上,只能广播或者针对某几个IP能发数,也就是用抓包工具能查到数据 但是,仅仅是能发出数据,对方没有响应,而在模拟器上,没有 ...… 查看全部问答> |
|
基于瑞萨RL78G14的便携心率仪创意进度帖-3、扩展板原理图,附原文件 最近断断续续的看资料,找脚位,主要是各种模块接口的,既要和官方板子兼容,又要保证以后好布线,那个踌躇啊 扩展板主要用到定时器IO,按键触发,Buzzer输出,SPI接口,计划引出一路串口和一路IIC接口,AD口看情况在考虑下 不得不说,瑞萨的IC端 ...… 查看全部问答> |
|
板子供电电压是钮扣电池供电,为3V。TVS用来防静电击穿,选用的是在1A测试的条件下,钳位电压为7V,有人建议用个钳位电压为3.6V或3.9V的TVS,什么原因?为什么?怎样应该去选择TVS的钳位电压,网上很多资料,说的都不清楚。。。… 查看全部问答> |




