历史上的今天
今天是:2025年08月10日(星期日)
2020年08月10日 | 恩智浦的汽车雷达技术如何提高汽车网络系统安全性
2020-08-10 来源:集微网
恩智浦这项专利通过在车辆周身设置多个雷达传感器,并利用全局时钟信号同步整个系统,形成有效互补合作,利用所有雷达获取的图像进行二次扫描分析建模,提高检测障碍物的分辨率,从而提高汽车网络系统的安全性。
近些年来恩智浦公司在汽车电子方面投入大量资金和人力,并开发相关电路器件用于车辆网络系统,受到了消费者的广泛欢迎,迎来了汽车领域的新兴增长点。
在汽车行业中,高级驾驶辅助系统(ADAS)通常使用汽车雷达辅助驾驶员避免障碍物,从而对危险情况做出响应。作为ADAS系统中极其重要的传感器,汽车雷达的性能与扫描的分辨率密切相关。为提高分辨率,车辆通常配备多个雷达传感器,并安置在车辆的不同部位接收其他雷达的反射电磁波实现同步,并协作实现立体扫描。然而雷达传感器电磁信号的同步性能有限,往往难以实现同步过程。
为此,恩智浦公司于2017年6月23日提出一项名为“汽车雷达系统和同步化汽车雷达系统的方法”的发明专利(申请号:201810658825.0),申请人为恩智浦有限公司。

图1 汽车雷达系统车辆示意图
图1展示了在车辆100上安装的汽车雷达系统102,其中第一雷达模块104、第二雷达模块106、第三雷达模块110通过第一光纤108、第二光纤112进行互相耦合,并置于车辆前端安置。在车辆后端,第四光纤120、第五光纤124连接第四、第五、第六雷达模块,同时通过第三、第六光纤与车辆前端雷达耦合,进而构成整体车辆雷达系统。

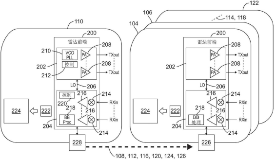
图2 雷达传感器内部细节
雷达传感器的内部结构如图2所示,其中第一、第二、第四、第五和第六雷达模块性能相同,而第三雷达模块110额外具有生成时钟信号的功能,其前端包含发射模块202和接收模块204,均由本地的压控振荡器VCO以及锁相环PLL生成的时钟信号驱动,控制器212可调节振荡频率、相移、功率放大器。与第三雷达模块110的结构不同,其他雷达模块通过对应的电光接口装置226接收ADC时钟信号与出发信号,并从光信号转为电信号,从而利用此信号维持各个雷达之间的同步,并通过其它雷达模块生成的照明信号提供具有改进型分辨率的成像。

图3 同步化雷达系统方法流程图
图3展示了专利提到的同步化雷达系统方法,首先系统上电,同时中央单元130的VCO和PLL 210生成全局的ADC时钟信号和相关联的触发信号,此电信号通过发射电光接口装置228转换成光信号,进而在光纤中传播至所有雷达的接收模块并采集转换为时钟和脉冲电信号,实现完整的同步协作过程。
以上就是恩智浦这项关于汽车雷达系统同步化的全部内容,通过在车辆周身设置多个雷达传感器,并利用全局时钟信号同步整个系统,形成有效互补合作,利用所有雷达获取的图像进行二次扫描分析建模,提高检测障碍物的分辨率,从而提高汽车网络系统的安全性。
史海拾趣
|
近日,天涯社区一名广州的网友“卖身找工作”,自称是仍然失业的应届毕业生,他结合眼下“被就业”“跨省追捕”等时兴话题及自 身的经历,以漫画“小强爬行记”道尽自己大学毕业以来就业路上的种种辛酸经历。他调侃自己为一只“踩不死的小强,就算 ...… 查看全部问答> |
|
我们现在需要建立一个 100个节点的无线网络, 这 100 个节点中有97个是现场的 无线数据模块,通过手机卡实现 无线上网,3个节点 是数据中心,分别接有一台 PC机(此PC机为固定IP), 然后 这97个 无线模块 分别 向一台 PC机发送数据. ...… 查看全部问答> |
|
请问一下 WINCE6 在什么情况下系统出现还原? 我的 WINCE6 有的时候出现系统注册表还原到刚刚烧 NK 时的注册表状态。 不知道什么原因导致系统注册表还原~! … 查看全部问答> |
|
短信猫在物流运输行业的应用 远航物流公司利用短信平台月节省长途电话费2万元 远航物流公司是一家中小型物流企业,在全国拥有40多个分点,可调配车辆70多辆,共有业务员300多名。公司在全国范围内的业务地域跨度大,分部点多,客户量大且分 ...… 查看全部问答> |
|
像rs232通信需要握手吗?需要的话是定义好握手信号后串口自动完成还是需要自己在程序中判断? rs485通信半双工的话是不是必须握手,怎么握手?我理解是发送端先发送一个规定的数据,如果接受端可以接受返回规定的字符通知发送端发送,请问这是握手 ...… 查看全部问答> |




