历史上的今天
今天是:2024年08月31日(星期六)
2020年08月31日 | 宁德时代改进了磷酸铁锂电池助力电动汽车应用
2020-08-31 来源:爱集微
宁德时代在商用车领域逐步进入欧洲市场,为电动汽车提供电池系统解决方案,关键技术之一便是磷酸铁锂电池,可保证电池产品在很宽的工作温度范围内高效可靠运行。
在电化学电池技术领域,由于磷酸铁锂材料具有循环寿命高、安全性好、耐高温等特性,可作为动力电池的正极活性材料。与此同时,结合锂离子二次电池更好的充放电性能特性,可广泛应用于电动汽车以及消费类电子产品中。然而采用磷酸铁锂的锂离子二次电池通常面临低温性能较差的问题,不能满足电池在低温环境中的应用需求。
为此,宁德时代于2019年5月31日申请了一项名为“锂离子二次电池”的发明专利(申请号:201910473216.2),申请人为宁德时代新能源科技股份有限公司。
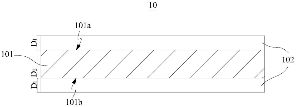
该发明提供了一种锂离子二次电池,可提高采用磷酸铁锂的锂离子二次电池的低温性能。电池包括封装于包装外壳中的电芯和电解液,电芯通过将正极极片、负极极片以及隔离膜一同堆叠或者卷绕而形成,隔离膜是介于正极极片和负极极片之间的绝缘体,能够起到隔离的作用。正极极片包括正极集流体以及设置于正极集流体上的正极活性物质磷酸铁锂,负极极片包括负极集流体以及设置于负极集流体上的负极活性物质石墨,正负极集流体构成复合集流体10,如图1所示。通过锂离子在正极活性物质和负极活性物质之间的往返嵌入和脱出,实现锂离子二次电池的充电和放电。

图1 锂电池复合集流体结构
参考图1,复合集流体10的结构包括层叠设置的有机支撑层101及导电层102,有机支撑层101的厚度方向上具有相对的第一表面101a和第二表面101b,导电层102设置于有机支撑层表面。由于该有机支撑层101采用有机材料,因此较传统的金属集流体而言,复合集流体10的导热系数较小,隔热性能更好,电池在低温环境中工作时,受环境温度影响较小,且电池自身产生的热量不会快速散出,这有利于使低温环境下的锂离子二次电池也能够保持电芯内部适宜的工作温度。
另外,复合集流体10中的有机支撑层101还可以对导电层102形成有效支撑,并保证复合集流体10的整体强度,因此,相较于传统金属集流体,如铝箔、铜箔等,导电层102的厚度能够明显减小且不易断裂,同时有机支撑层101的密度较金属的密度要小,不仅保证了导电层102具有良好的导电和集流性能,还有利于降低电芯及锂离子二次电池的重量,从而使锂离子二次电池的能量密度得到提高。
以上就是宁德时代这项锂离子二次电池专利的主要内容,以磷酸铁锂和石墨分布作为电池的正负极活性物质,同时复合集流体采用有机材料,一方面具有较高的循环性能和安全性能,另一方面还可有效改善磷酸铁锂电池在低温下动力学性能较差的缺点,具有良好的低温电化学性能。
随着宁德时代在电池技术领域不断创新,如CTP技术、液体冷却技术等,相信其在动力电池市场也能够不断打开国门,走向世界。
史海拾趣
|
各位大虾好: 小弟在坛子里发贴寻求帮助解决44B0的网口通信问题,可惜至今没有人来帮我啊 无奈之下,只能在网上down别人的程序,然后用用工具一步一步走,每一个函数都 认真的看,在小弟的不懈努力下,总算是将这个网口用起来了,虽然现在还没有 ...… 查看全部问答> |
|
我用的资料是从这下载的:https://bbs.eeworld.com.cn/thread-73210-1-8.html 板子上元件排布基本上也是参照照片上的,只是想在使用时,实验板的电源就用USB的VCC,所以去掉了J2。 烧固件时,用编程器烧的,USBASP板子连接电脑后,绿灯闪烁了三下 ...… 查看全部问答> |
|
详细说明:CPLD实用设计50例,非常经典的CPLD设计,包含50个实际的典型应用,涉及直流电机PWM驱动,编码等内容,有了这50例,举一反三,就会了很多应用 文件列表: CPLD实用设计50例 ................\\基于DSP+CPLD的 ...… 查看全部问答> |
|
如题 类似WINXP下regedit的功能。 我现在编写程序写注册表好像都对,但是读的时候有时返回错误 GetLastError为1814。 我想找个软件看看我写进去的东西对不对。 另外,我把一个键保存在HKLM下 \\\\Drivers\\\\BuiltIn\\\\XXXX目录下, 那么 ...… 查看全部问答> |
|
现在用STM32做一个语音到站钟的项目,音质要求不高,就是报“一楼到了,上行”,“二楼是酒店”之类的语音,CPU上资源有PWM/DAC/IIS,通过上网查资料,网上解决的方案大体有以下三种: 1 PWM+SPI PWM模拟时钟时序,SPI传输数据,采用PCM编码 ...… 查看全部问答> |
|
在AMR芯片中内存空间是越来越大了,而我们的使用需求也是水涨船高。而不同ARM芯片的内存分配也是截然不同。例如同样是64K的STM32,只要你的数组定义在64K内就可以操作的,而64K的LPC芯片则不能定义64K的数组。这个问题恐怕困扰了不少网友。产生这一 ...… 查看全部问答> |




