历史上的今天
今天是:2024年11月03日(星期日)
2020年11月03日 | 理工雷科给毫米波雷达保驾护航
2020-11-03 来源:爱集微
北京理工雷科电子信息技术有限公司(理工雷科)凭借其在雷达上优异的表现,在18年就正式加入了百度Apollo硬件开发平台。但是为了切合雷达整机的测试,理工雷科也在毫米波射频领域不断深入。
随着雷达技术的发展和进步,毫米波雷达开始应用于汽车电子、无人机、智能交通、人体安全检测等多个民用行业中。而毫米波测试技术则是毫米波雷达产品化、批量化的关键因素,但在测试中,射频天线和信号处理机的测试内容不同,分系统和整机的测试内容也会有较大区别,以上特点导致一套雷达的测试效率过低。雷达一旦开始批量生产,特别是进入到消费电子行业,测试技术的优化成为一个亟待解决的难题。
现有技术中,射频天线的测试设计在微波暗室,然而暗室里紧缩场和近场扫描设备的效率不高但成本极高,不适合批量测试。雷达整机的测试设计在微波暗室的远场条件,不但占用暗室较大空间,而且难以满足待测物姿态的高频次调整的要求。
为此,理工雷科在2018年6月21日申请了一项名为“一种小型化毫米波射频测试平台”的发明专利(申请号:201810645203.4),申请人为北京理工雷科电子信息技术有限公司。

图1 毫米波射频测试平台整体结构示意图
图1是该专利提出的一种小型化毫米波射频测试平台,主要包括桌面暗箱3以及安装在桌面暗箱3内部的近端平台1、远端平台2、待测物4、射频工装5及射频收发模块6。
近端平台1和远端平台2分别安装在桌面暗箱3两端内底面上,射频工装5安装在近端平台1上,待测物4安装在射频工装5上,射频收发模块6安装在远端平台2上,射频收发模块6与待测物4相对,射频收发模块6面向待测物4发射或接收毫米波。通过近端平台1、远端平台2把待测物4和射频收发模块6设置在半空中,形成较好的无反射电磁环境。而桌面暗箱3由绝缘外框7和吸波材料组成,可以形成无反射的电磁环境。

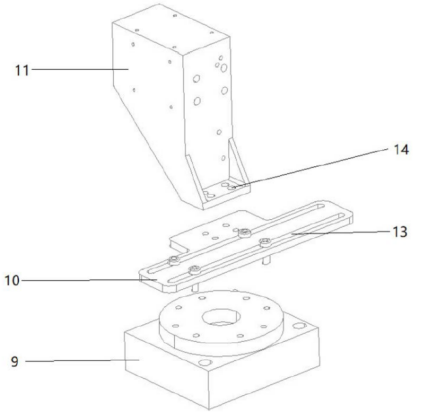
图2 射频工装安装示意图
射频工装安装示意图如图2所示,从整体来看,射频工装5从上到下依次是支架11、横向平移台10、方位转向台9以及近端平台1。
其中,支架11可以为利用自身底板安装的待测物4提供正交安装位,实现利用平板安装的待测物4测试时所需的正交姿态。横向平移台10可以通过横向长圆孔13内的螺钉与方位转向台9固定连接,如此以来,支架11和横向平移台10可以共同沿横向长圆孔13实现横向移动,直至待测物4的辐射口面几何中心与方位转向台9旋转中心重合。而方位转向台9受到电机控制,可以在水平面按照指令任意旋转,保证待测物4与射频收发模块6相对。
因此,射频工装可以实现待测物在固定区域内移动,让待测物不但拆装方便,还使待测物的辐射口面几何中心与旋转中心接近重合。不但减小了射频测试平台的占用空间,实现小型化,而且提高了效率和精度,测试更加灵活。
理工雷科作为一家院士与高校强强联合的企业之一,坚持创新引领、融合发展,不断地为用户提供高质量的产品和服务,同时也为毫米波雷达的发展保驾护航。
史海拾趣
|
贴片元件的MARK找起型号来很麻烦,不知道大家是不是有同感? 想知道大家都是怎么解决的? 借此想通过这里把高手们常用的贴片元件mark对应的型号整理和大家一起分享~~… 查看全部问答> |
|
(完全原创,转载就注明出处) 前几个月,我在网上发了一篇“痛批3G网络监控之三点害处”,引起了很多行业内人士对3G网络热烈讨论,有的朋友认为3G用于监控还不是很成熟,也有朋友对3G用于监控行业还是充满了希望。上次贴子中总结3G网络三个害处分 ...… 查看全部问答> |
|
请问大家一下,S3C2440的定时器如何使用,我想准确定时微妙级的。 我原来用了一个Delay()函数,发现在示波器上看Delay(100)和Delay(10000)没有什么差别,而且每次宽度不一样,请问你们怎么实现的较准确的定时? 请指教 void Delay(int time)// { int i; for(i=0;i… 查看全部问答> |
|
分在另外一个帖子里 wince触摸屏驱动问题 急! 多谢各位 wince: 输入为触摸屏 问题一: 当屏幕背光关闭后 将 第一次点击触摸屏产生的鼠标事件(WM_LBUTTONDOWN/WM_LBUTTONUP) 忽略 &nbs ...… 查看全部问答> |
|
各位哥哥姐姐,我想开发一个基于IBM HDAPS 的驱动,在网上查到已经有人在LINUX下开发出了这种程序,但是始终找不到WINDOWS底下的开发方法。具体的情况在以下网址有具体说明。希望各位哥哥姐姐多多指教 帮帮我 谢谢!!http: ...… 查看全部问答> |




