历史上的今天
今天是:2024年12月08日(星期日)
2020年12月08日 | 中芯国际和大基金II、亦庄国投共同出资,中芯京城成立
2020-12-08 来源:爱集微
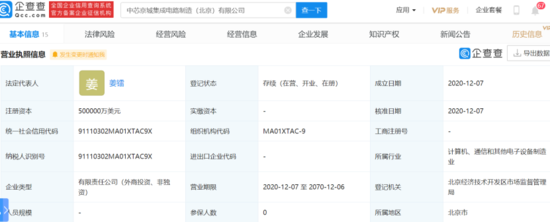
企查查显示,12月7日,中芯京城集成电路制造(北京)有限公司(简称“中芯京城”)成立,法定代表人为姜镭,注册资本为500000万美元,经营范围包含:制造12英寸集成电路圆片、集成电路封装系列;技术检测;与集成电路有关的技术开发、技术服务、设计服务;销售自产产品等。
值得注意的是,中芯京城股东包括:中芯国际控股有限公司、北京亦庄国际投资发展有限公司、国家集成电路产业投资基金二期股份有限公司。

图片来源:企查查

图片来源:企查查
12月4日,中芯国际发布公告称,中芯控股、国家集成电路基金II和亦庄国投订立合资合同以共同成立合资企业。合资企业的注册资本为50亿美元,中芯控股、国家集成电路基金II和亦庄国投各自同意出资25.5亿美元、12.245亿美元和12.255亿美元,分别占合资企业注册资本51%、24.49%和24.51%。
据当时公告披露,该合资企业由中芯国际负责发展和营运,合资企业的总投资额为76亿美元,注册资本为50亿美元。合资企业的业务范围包括生产12英寸集成电路晶圆及集成电路封装系列;技术测试;集成电路相关技术开发、技术服务及设计服务;销售自产产品。
此外,公告还显示,合资企业指中芯京城集成电路制造(北京)有限公司,一家将根据合资合同于中国成立的有限责任公司,作为中芯国际的非全资附属公司。
史海拾趣
|
如何学习嵌入式系统(基于ARM平台) 前言 网上看到众多网友都问了关于嵌入式系统方面的很多问题,很多都可在这里找到答案,希望我的这篇文章能给他们以启发。也请大家不要轻易转载。 一、嵌入式系统的概念 &n ...… 查看全部问答> |
|
Please submit your Resume to China.Recruiting@lsi.com 1) Analog Design Engineer D ...… 查看全部问答> |
|
本帖最后由 jameswangsynnex 于 2015-3-3 20:03 编辑 几年来,我已经从一个技术至上主义者变成技术节制主义者。面对最近轮番炒作的3D电影、3D电视时,我没有任何激动。虽然调研机构DisplaySearch说,2008年3D电视出货70 万台,10年后是这样的:3D ...… 查看全部问答> |
|
hBr = (HBRUSH) GetStockObject (BLACK_BRUSH); // hBr = (HBRUSH) GetStockObject (RGB(255,0,0)); 把BLACK_BRUSH改成RGB(255,0,0)为什么不行呢??? hOldBr = (HBRUSH) SelectObject (hdc, hBr); ...… 查看全部问答> |




