历史上的今天
今天是:2024年12月14日(星期六)
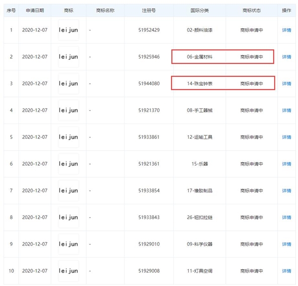
2020年12月14日 | 小米申请雷军拼音商标:涉金属材料、珠宝钟表等
2020-12-14 来源:快科技
12月11日消息,天眼查显示,小米科技有限责任公司新增多条“leijun”商标信息,涉及国际分类包含金属材料、运输工具、乐器、珠宝钟表等。申请日期为2020年12月7日。目前商标状态为“商标申请中”。
雷军作为小米创办人、小米集团董事长兼CEO,不仅仅是小米的一把手,也是小米的代言人。

从创办小米至今,雷军个人的关注度也逐步提高,小米此次申请雷军拼音商标,更多的是出于保护性质。
毕竟雷军已经是一位知名企业家,本人还被《时尚先生》杂志授予2020时尚先生年度企业家称号。
不仅如此,雷军还被时尚男刊《GQ智族》评选为年度企业家,并登上封面人物。
《GQ》指出,今年是雷军创办小米的第十年,十年奋斗,换来十年飞跃,他重塑了国人对“品质国货”的信念。雷军是当下中国兼具韧性和创新精神的企业家。
史海拾趣
|
戏法人人会变,各有巧妙不同--用有限状态机对键盘模块的另类实现 最近阿姨家里的几个表哥都在热烈的讨论着状态机,表弟我心痒,也想来凑凑热闹。要想加入他们的讨论,首先得明白什么是状态机,这是今天的主题之一,不过我会首先给出定义,然后谈谈我的浅薄的理解。另外,前些日子正在学习GOF的《设计模式》,其中 ...… 查看全部问答> |
|
节能灯寿命为2500~5000小时,而半导体LED照明灯正常情况下的寿命是5万-8万小时,但LED灯的耗电量只有普通白炽灯、霓虹灯的1/10。因此,如果我国的照明全部采用LED灯,则一年节约的电费相当于建造了6座三峡电站。有关部门应该采取强制措施推广节能产 ...… 查看全部问答> |
|
1. 要和人配合。以我们做硬件的工程师为例,测试的时候一般都需要软件的配合,一个对硬件来说无比复杂的工作,可能在软件工程师看来就是几行简单的代码。所以要和人配合,多听听别人的意见,这样必然可以产生新的 know-how 从而加快测试和开发的速 ...… 查看全部问答> |
|
谁有MSC51单片机视频教程及课件,最好是北航的!谢谢! 我的QQ号:250193148 它发到我邮箱里或者在线传给我 谢谢了!… 查看全部问答> |
|
秀下我做的调试工具:UsbHub+xlink+USB转串口/485/Nrf24L01/红外 秀下我的调试工具UsbHub+xlink+USB转串口/485/Nrf24L01/红外 看了小马哥的多功能调试工具真是羡慕啊,于是也做了个高速USBhub托了个xlink, 用stm32实现 USB转串口TTL/串口232/串口485(通过跳线来实现)/NRF24L01/红外,同时支持输出一路PWM输出。 ...… 查看全部问答> |
|
我下了光盘,按照HELPER2416_V2 开发板LINUX 用户手册 的说明按装上了。fedora开发环境。 没有什么可注意的地方,有一个地方就是安装fedora那个选项,直接选中解压后的F12目录就行。我不知怎么搞出两个fedora文件,反正也好用: 我现在的 ...… 查看全部问答> |




