历史上的今天
今天是:2024年12月16日(星期一)
2020年12月16日 | 智能电缆井盖:可高效安全的处理隐患
2020-12-16 来源:EEWORLD
“智慧城市”、“智能电网”、“泛在电力物联”......近几年一些新概念相继被提出,这些规划相互交叉影响,在一些试点城市快速建设推进,如高压电缆线已由空架开始转到地下,以青岛为例,主干道、高新区老区改造新区建设都要求电缆下地,每50m-100m覆盖一个智能井盖来保证城市安全,释放城市空间资源。
电力智能井盖产品定义及终端功能
产品定义: 智能井盖监控系统,可以检测井盖是否丢失,智能井盖监控系统利用目前先进的无线通讯技术、电源技术、可以持续采集井盖状态和井下环境信息,包括水位、温度、有害气体等,然后存储和远传。将井盖的开启、井盖巡检纳入到统一的维护管理系统中,并建立相对应的报警处理机制,通过电子地图展示井盖所处位置的状态和报警内容,例如井盖被盗或者破坏,监控人员能够及时到达现场处理,快速地解决安全遗患。
电力井盖监控终端功能:
入侵报警: 实时监控井盖的开启及破坏情况
环境监测:井下O2浓度有毒气体如CO,H2S......
状态管理: 远程控制或密钥开启、关闭井盖
通过通讯协议接口实现与其他系统的互联互通
基于物联网的设备的全生命周期的管理
与ADI合作三十多年的技术型分销商——Excelpoint世健公司的工程师Ethan Li向我们介绍了ADI IC从感知(iSensor MEMS)、采集(Analog to Digital Converter),到数字隔离通讯接口(iCoupler)、电源供电系统(ADI Power by Linear),在一个典型小而智慧的应用“电力智能井盖”中的应用。
产品典型信号链

图1 电力智能井盖典型信号链
系统技术要求
系统供电: 24Vdc(Range16V~36V) 在线式供电系统(同样要求有后备电源系统或者锂电池供电系统)
井盖倾斜检测: 阈值报警,1~2°误差
气体检测精度:~5%
通讯方式:隔离RS-232/485总线通讯,速率<115200bps,2G/4G/NB-IOT无线
静态功耗:<0.02W
报警响应时间:<10S
免维护时间:1年以上
电源供电系统- ADI Power by Linear
电源需启动较大功率机械动作开关,也要保证下井后系统断电的人工安全,所以供电方式上采用在线式24Vdc供电Vin=16~36V,后备电源为6~8节Li-ion(25.2Vfull/29.4Vfull)串联充电。
成功设计使用案例:LTC4020高压buck-boost兼容MPPT太阳能充电功能+LTC4416外部路径管理的高可靠性设计方案。

此外,还有反激式LT8302隔离电源方案,LT860X多路同步整流DC/DC,以及Silent switcher技术的LT8609S、LTC8645S、LTC8650S等全套电源供电可参考方案。
ADI MEMS G-sensor在倾角检测的应用
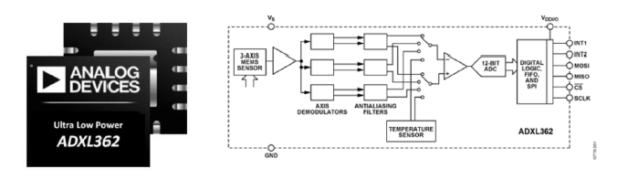
成功设计使用案例:超低功耗3轴MEMS加速度计ADXL362,保证整机的静态功耗。


关于3轴G-SENOR测倾角的设计,可参考ADI官网完整的应用笔记AN1057。
井下气体检测
系统一般会要求有O2、CO、CO2、H2S四种气体加常规辅助量检测,检测误差精度~5%,要求不高,现在客户设计方案还是电化学传感器加放大器,如ADA4528、AD623 TIA信号调理后MCU片内ADC采集的方案。
Ethan Li向我们推荐了2019年ADI发布的一颗基于电化学传感器方案气体检测的平台级产品——ADuCM355。

ADuCM355高集成度、高精度、高安全可靠性、小体积、低功耗等特性,在基于电化学传感器做气体检测中应用中优势显著,有客户已开始导入评测,ADuCM355具体的应用设计本文不展开细说,可参考ADI官网电路笔记CN0425、CN0429了解。
隔离通讯接口
通讯方式:隔离RS-232/485总线通讯,功能性隔离2500Vdc,通讯速率<115200bps,以及2G/4G/NB-IOT无线。
成功设计使用案例:隔离RS-232、 ADM3251E、 隔离RS-485、 低成本ADM2483, 集成isoPower 的ADM2587E。相比于传统的光耦隔离与电容隔离,ADI iCoupler专利的磁隔离技术鲁棒性高,抗干扰能力强。新一代的磁隔离编解码技术在原有解码基础上又升级进一步增加抗干扰性,集成度高、设计简单。

磁耦技术 聚酰亚胺隔离

单端“一脉冲两脉冲”编码架构

差分开关键控架构
Ethan 表示,ADI可提供的iSensor+ Single process+ iCoupler+ ADI power by Linear全套产品方案。此外,Excelpoint 世健公司在山东区域已配合客户设计支持,具有成功设计使用的经验,并且已经量产。随着城市发展和泛电力物联网的大力推进,电力智能井盖产品功能也会不断丰富。相信将来ADI产品与客户方案设计上会有更全面、更深入的合作。
史海拾趣
|
请教如下两个问题: 1. synplify不能综合状态机的“when others”状态:我用的是VHDL,编码风格中要求对case语句的使用要做到取值完全覆盖,即要加一个“when others”的判断(我想Verilog也一样吧,用default?),用c ...… 查看全部问答> |
|
我刚学PROTEL,如果是一个有很多元件的双层板或者是三层板。如何布线呢。 能不能选中一层后,隐藏掉其他层的线啊,密密麻麻的看的眼花啊。 大哥大姐,我新手,没分啊,多谢了… 查看全部问答> |
|
个人补充说明 在其他ARM上实现了1588 PTP协议的软件实现,但是由于芯片不支持1588协议,精度不够,所以改在8962加入硬件时间标记,达到微秒级对时精度要求。… 查看全部问答> |
|
我使用STM32F103VC的芯片跑UCOS。但是执行了如下的代码就是进入不了PendSV_Handler。用软件仿真还是可以的,但是烧到板上就不可以了。执行这段代码的时候BASEPRI = 0,PRIMASK = 0.这应该没有关中断吧。为什么就是进入不了 ...… 查看全部问答> |




