历史上的今天
今天是:2024年12月22日(星期日)
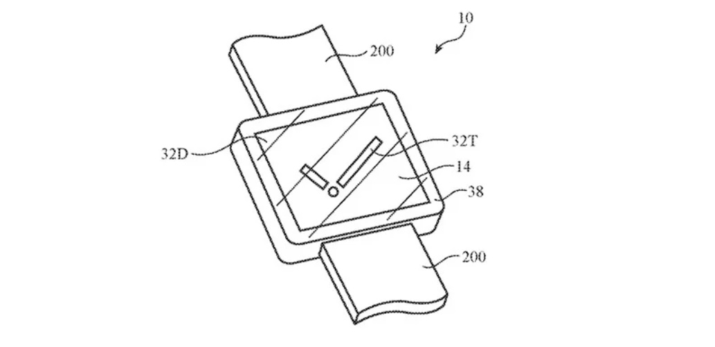
2020年12月22日 | 专利显示未来 Apple Watch 会搭载 Touch ID 与屏下摄像头
2020-12-22 来源:威锋网
根据外媒的消息,近日苹果的一份专利显示,苹果正在探索在 Apple Watch 上加入 Touch ID 模组以及屏下摄像头的可能性。
其中一份专利图显示了 Touch ID 如何融入 Apple Watch 的侧边按键,专利文件还阐述了它的作用:用户辨识,设备解锁,App 认证等。

苹果在 Apple Watch 加入 Touch ID 是很合理的。当前,Apple Watch 的操作非常依赖于密码。通过加入生物识别身份验证,可为 Apple Watch 用户提供更便捷的使用方式,以及更高的安全级别。

这个 Touch ID 的嵌入式设计,很类似于 iPad Air 4 上搭载的 Touch ID 模组,也说明了该技术的成熟度已经得到了苹果的认可。
第二份专利文件则是简单概述了如何对屏幕进行分层,并且在下方容纳摄像头和闪光灯,而后者只会在需要的情况下才能通过肉眼看见。

这项技术理论上同样能在 iPhone 使用,不过专利文件指出,这项技术主要面对的是 Apple Watch 设备。
“当用户需要捕获图像信息时,电子设备内的控制电路可以将快门暂时调整为透明模式,让光线通过玻璃透入传感器。”
虽然专利不代表苹果会将这些技术引入 Apple Watch 内,但它们为正在研究和开发的内容提供了一些有趣的方向。当然了,加入 Touch ID 模组会是未来 Apple Watch 机型的一个巨大升级。
史海拾趣
|
各位大哥,现在我有一个环行变压器,初级和次级砸数比是8:1,然后一个小的震荡磁环初级和次级砸数比是1:1。哪位大哥可以帮我设计一个简单一点的电路可以用来测试这个变压器的同名端… 查看全部问答> |
|
本帖最后由 paulhyde 于 2014-9-15 08:54 编辑 2010年广西大学生电子设计大赛题目 大家觉得那道题目容易点呢? ===http://866.cc … 查看全部问答> |
|
在电路设计中,一般我们很关心信号的质量问题,但有时我们往往局限在信号线上进行研究,而把电源和地当成理想的情况来处理,虽然这样做能使问题简化,但在高速设计中,这种简化已经是行不通的了。尽管电路设计比较直接的结果是从信号完整性上表现 ...… 查看全部问答> |
|
【代码分享】 上传一个在hanker板上实现的USB-串口的代码例程 刚搞好的,上传给大家参考. 由于工程构建的原因,大家下载代码后把它解压到stellarisware\\boards\\文件夹下运行既可以。 开发板的底层驱动库放在QF_M4\\driver目录下, … 查看全部问答> |




