历史上的今天
今天是:2025年01月04日(星期六)
2021年01月04日 | 三星芯片裂纹检测技术是如何做到精准定位的
2021-01-04 来源:集微网
三星发明的芯片裂纹检测方案,借助辐射镜来进行裂痕的检测,相比于传统方案,这种利用反射波确定裂纹的方式可以精确的测定反射波距离,进而检查出裂纹出现的位置。
自从中美贸易战开始后,美国开始用芯片掐住中兴的脖子,再到后来限制华为,芯片产业成为全民关注的焦点,民众对国内的芯片产业寄予厚望,期待能够突破技术封锁,实现国内的产业结构升级。
但是,芯片的生产制造却难于登天,有人将集成芯片列入20世纪以来最伟大的发明之一,其工艺之复杂令人咂舌。除此之外,在半导体芯片和半导体封装件的组装过程期间,在芯片的边缘上可能出现微小裂纹,这种裂纹会随着时间推移而扩展,并且可能引起半导体芯片和半导体封装件的质量问题。
因此,芯片的裂纹检测就得以应用,芯片破裂检测电路需要及时发现裂痕并向系统返回信号,如果未在特定时间内返回信号,则可以判定在芯片的边缘区域中出现缺陷,但是目前发方案仅仅可以知道是否存在裂纹,无法精确地检查出现裂纹的位置。
为此,三星在19年2月26日申请了一项名为“裂纹检测芯片”的发明专利(申请号:201910139939.9),申请人为三星电子株式会社。
根据该专利目前公开的资料,让我们一起来看看这项芯片裂纹检测方案吧。
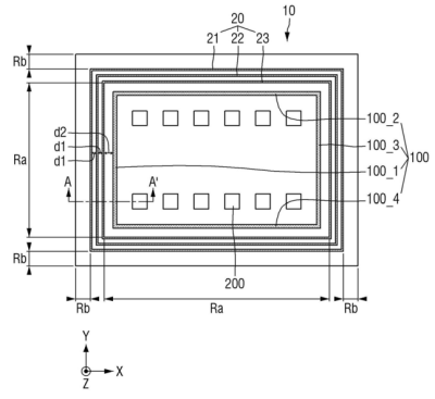
如上图,为该专利中发明的裂纹检测芯片布局图,其中主要包括检测芯片10、保护环20、第一边缘布线100和焊盘200。芯片包括内部区域Ra和外部区域Rb,外部区域也就是芯片的边缘区域,这样的划分将芯片的核心部件聚集在了内部区域内,即使在外部区域中出现了裂纹,芯片的功能也不会受损,进而在一定程度上保障了芯片的功能。
但是当裂纹从外部扩展到内部区域时,就可能会对芯片的可靠性造成严重侵害,因此为了保障芯片的正常使用,应当防止在内部区域中形成裂纹。这里的保护环就是起到这个作用,位于Ra和Rb之间的保护环可以阻止裂纹从外部区域扩展到内部区域,此外,该部件还具有密封的作用,可以防止外部湿气进入芯片的内部损害芯片。

如上图,为裂纹检测芯片的布局示意图,该方案主要利用辐射镜对芯片上的裂纹进行检测。电流输入模块400通过焊盘200连接到第一边缘布线上,由辐射镜对于芯片以及第一边缘布线一起检查,检测的依据就是利用电流输入模块会将发热电流施加到第一边缘布线,如果第一边缘布线中存在裂纹,由于存在裂纹部分的电阻高于没有裂纹的其他部分的电阻,因此可以通过发热电流来产生热量。
辐射镜此时就会检查到被加热的部分,并且会检测第一边缘布线的通过发热电流产生热量的部分,并以图像的形式获取关于发热位置的信息,也就是说,辐射镜可以获取包括发热位置的图像信息,并将图像信息发送到检测单元,检测单元通过电流输入信息和图像信息就可以精确地检测芯片的哪个部分具有裂纹。

最后,我们来看看这种裂纹检测方法的流程图,首先,辐射镜通过焊盘将入射波施加到第一边缘布线,此时如果遇到裂纹会形成反射波。通过检测入射波的施加时间点和反射波的达到时间点就可以计算第一反射波距离,进而依据该距离精确地检查裂纹出现的位置。
以上就是三星发明的芯片裂纹检测方法,在硬件排布上,采用保护环和边缘布线来确保外围的裂缝不会向芯片内部扩散,同时,使用辐射镜来进行裂痕的检测,相比于传统方案,这种利用反射波确定裂纹的方式可以精确的测定反射波距离,进而检查出裂纹出现的位置,该专利的方案,也是给芯片制造产业增设了一道保险杠,以提高芯片合格率。
上一篇:芯片是5G世界的奠基石
下一篇:科普文章—到底什么是多核CPU
史海拾趣
|
数字、英文 1/4比特数 quarter bit number AGC恢复时间 AGC recovery time AGC启动时间 AGC attack time ATM技术 asynchronous transfer technics, 异步转移模式,为多种速率信 息的情况下研究的一种合适的传输与交换方式。 GSM 泛欧数字蜂窝 ...… 查看全部问答> |
|
第一次接触到单片机这块,前几天老师给了我一块带ATMAGE16L的开发板,上面只有一个JTAG接口,一个flash存储块,还有一个8兆的晶振元件(上面标有8.000,我对硬件不熟悉,不知道是不是这么称呼),要求我用8兆的晶振 ...… 查看全部问答> |
|
纯C语言的程序,为什么使用 SHLoadImageFile 函数编译后执行就提示“不是有效的 Windows CE 应用程序”? 我的WinCE程序是纯 C 语言的Win32的程序(源文件的扩展名都是.c的),不使用 SHLoadImageFile 函数,程序能执行。为什么使用 SHLoadImageFile 函数编译后执行就提示“不是有效的 Windows CE 应用程序”?… 查看全部问答> |
|
目的是 用vb通过单片机控制led屏。现在先用串口助手试下。我想用串口助手先发一个数过去,点亮led屏的一个小灯,在依次累加。led屏是用74hc595串起来的。其间也想把单片机接收的数据回显到串口助手来证明接受无误。以前直接烧程序控制屏时点亮第一 ...… 查看全部问答> |
|
evc4开发环境 我自己写了一个类。 CRulers::CRulers() { CRect rect; GetClientRect(rect); m_X = 20; m_DownY =(m_rec ...… 查看全部问答> |
|
CCS编译错误error:symbol referencing errors-`f14.out` not built 如题目。我编译的时候只有这一个错误,请问谁能帮我指点一下到底错在哪里了??… 查看全部问答> |
|
s3c6410_iic.dll 文件可以被加载,也生成了IIC0设备,但是IIC_Init()函数里的打印信息没有输出来: DEBUGMSG(1,(TEXT(\"+IIC_Init\\r\\n\"))); 打开IIC0设备进行操作也没有信号丛SCL与SDA输出。 为什么驱动被加载了,但没有跑IIC_Init()函数 ...… 查看全部问答> |




