历史上的今天
今天是:2025年01月17日(星期五)
2021年01月17日 | 京东方全息显示,带来多彩视觉享受
2021-01-17 来源:爱集微
近日,京东方携手北京联通打造了一场5G全息盛宴——远程授课,该“黑科技”在保证参与者和演讲者跨越空间相“见”的同时,还增强了全息投影效果的真实性。
目前的全息3D成像全部采用投影的方式,把投影图像直接投射到全息膜上。但由于是现场搭建全息膜屏幕,所以需要用支架绷紧全息膜,调试各投影光机的轴距、焦距和投影角,且要调试多台显示驱动的同步,导致制程化程度低,难于标准化,工程施工复杂,花费时间多。另外因为采用了多台投影机,投影所形成的全息图像也难免存在亮度、色彩等方面的轻微差异。
为此,京东方于2019年7月18日申请了一项名为“一种全息显示装置及全息显示方法”的发明专利(申请号: 201910649841.8),申请人为京东方科技集团股份有限公司。

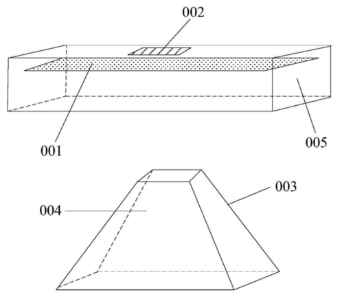
图1 全息显示装置结构示意图
图1为全息显示装置的结构示意图,可以实现360°全息显示。该装置包括:液晶显示面板001、显示控制元件002和支架003。其中,支架003在所需显示的方向上具有与液晶显示面板001的显示区域呈预设角度γ的全息膜004;显示控制元件002可以将待显示的三维图像切割为所需显示方向的二维图像,并根据液晶显示面板001的帧扫描速度对该二维图像进行同步,再发送至液晶显示面板001。
显示控制元件002包括中央处理器(CPU)和图形处理器(GPU)。在实际运行过程中,显示控制元件002抽取3D动画或播放视频的关键帧以及插入帧的时间等信息,之后分割获得待显示三维图像的前、后、左、右四个所需显示方向的二维图像信息,并对其进行缩放使之与液晶显示面板001像素为等比例信息,随后根据液晶显示面板001的帧扫描速度计算四个二维图像的时差,并以此为同步时间,将前、后、左、右四个二维图像按同步要求合成为一副完整的图像,并发送至液晶显示面板001进行显示。
液晶显示面板001可以选择以其中心为基准所形成的正多边形所在区域作为显示区域,并以中心与正多边形的各边所成区域作为相互独立的子显示区域来同步显示接收到的二维图像。装置中支架003具有棱台结构,棱台结构的顶面为与显示区域的形状相同且边长小于显示区域边长的正多边形,底面为与显示区域的形状相同且边长大于显示区域边长的正多边形,每一侧面上均具有与显示区域呈预设角度γ的全息膜,分别接收对应子显示区域投射的二维图像。
简而言之,京东方的全息显示方法,采用了一块液晶显示面板配合显示控制元件来代替多台投影机实现图像的播放显示,有效提高了全息图像亮度以及色彩的一致性。
京东方作为一家老牌科技公司,在显示面板等多个方向都有所建树,并逐渐从原有端口器件事业转向智慧物联领域。同时,京东方也不断加强科技创新,以全新的科技力量点亮人们智慧新生活。
史海拾趣
|
大家好,我是一名大三的学生,学的是嵌入式方向的,但我们现在才学嵌入式操作系统,都TMD还是理论,学了等于没学,就上学期还学了个汇编,现在一学期都快过完了,感觉什么关于嵌入式方面的都没学到,如果靠下学期再来学点东西,以后出去就别想混了 ...… 查看全部问答> |
|
用核心板做一款机器,最后做电源管理才发现PWREN给悬空了,且VDDi,VDDiarm和VDDalive一起供电,休眠省电基本不用想了,现在我想仅靠降低CLOCK时钟降低功耗,比如进入SLOW模式,能将2440电流降低到多少?哪位试验过? 另外在wince系统运行时候转换n ...… 查看全部问答> |
|
请教各位帮忙单步跟踪一下下面这个程序 #include \"stdafx.h\" #include #include using namespace &n ...… 查看全部问答> |
|
本公司(知名国企)正在寻求IPCamera(网络摄像机)的技术合作,包括嵌入式开发+硬件设计、中心 管理平台开发。有特色的产品,可提供整机、主板,或者能提供优秀的硬件方案的亦可。 合作方式多种,可技术转让、兼职或者全职。 &nb ...… 查看全部问答> |
|
程序先前一直没问题,后来改程序又加了几条语句,在编译过程中就有一个错误:Code size limit exceeded(4096 code bytes)for this version of the compiler 4212bytes of CODE memory 10bytes of CONST memory(+4bytes shared) 544bytes of DATA me ...… 查看全部问答> |




