历史上的今天
今天是:2025年01月22日(星期三)
2021年01月22日 | 从隐藏式触控到全息图像,苹果汽车六大秘密武器曝光
2021-01-22 来源:EEWORLD
在过去的几年里,关于苹果造车的传言不断涌现,特别是在该公司申请了与汽车相关的专利之后。例如,2017年,苹果的一项专利首次暗示苹果将制造自动驾驶汽车。不久前,苹果被曝与韩国现代汽车集团正就合作洽谈,希望在美国制造首款苹果汽车的“测试版”。这只是该公司在未来十年做出的几个重大押注之一,并可能面临来自其他电动汽车的激烈竞争。
华尔街分析师表示,苹果造车将拥有几个关键优势,包括其强大的品牌效应。美国投行摩根士丹利(Morgan Stanley)分析师凯蒂·休伯蒂(Katy Huberty)表示,一个悬而未决的大问题是,苹果是否会完全控制这款车的设计。
当公司控制产品的各个方面,如从概念到交付,那么它无疑是成功的。在本月发给客户的一份研究报告中,休伯蒂表示:“这意味着苹果会自主设计组件,设计产品的每个部分,包括消费者对它的感觉、软件以及围绕这些产品的生态系统。”
虽然专利提供了对产品最终功能的洞察力,但不能保证每个专利想法都会成为最终产品。以下专利暗示了苹果汽车可能拥有的六大功能:
挡风玻璃上的全息图像

图1:插图来自美国第10866414 B2号专利文件,名为“全息抬头显示器系统”
根据美国第10866414 B2号专利申请,苹果在名为“全息抬头显示器系统”的文件中称,苹果汽车的挡风玻璃上可能会显示全息图像。
在这项专利中,苹果的设计者描述了一种系统,该系统可以将全息图像映射到挡风玻璃或其他窗户上,然后再反射给司机和乘客。这些图像可能包括有关车辆的信息,比如“速度、方向和位置”,或者关于车内所发生事情的信息,如收音机里正在播放的歌曲。
隐藏式触控

图2:插图来自美国第10656777 B1号专利文件,名为 “隐藏的用户界面”
根据美国第10656777 B1号专利申请,苹果在名为“隐藏的用户界面”文件中称,触摸屏或其他控件可能隐藏在座椅、车门和其他表面中。这项专利描述了乘客可以轻拍、触摸或抓捏周围环境的方法。输入设备将被“隐藏在表面之下”,当被触摸时,它就会给出回应。
晕动病解决方案

图3:插图来自美国第10825255 B2号专利文件,名为 “增强虚拟显示器”
根据美国第10825255 B2号专利文件,苹果在名为“增强虚拟显示器”的文件中称,对于那些患有晕动病的人,苹果可能正在研究一种解决方案。这项专利包括一种虚拟现实(VR)系统,可以为晕动病乘客投射稳定的内容。专利中称:“VR系统可能有助于提高工作效率,因为乘客可以在乘坐汽车时继续工作,而不会晕车。”
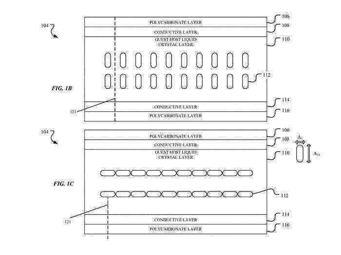
“智能”窗帘着色系统

图4:插图来自美国第10843535 B1号专利,名为“动态隐私和窗口着色系统与方法”
根据美国第10843535 B1号专利申请,在名为“动态隐私和窗口着色系统与方法”的文件中,苹果设计师可能正在研究隐私保护玻璃和有色窗户控制。这项专利描述了一种“智能着色”窗户的方法,利用液晶技术来阻挡阳光和其他人看车内的情况,使司机和乘客更好地保护隐私。
司机提醒功能

图5:插图来自美国第10878699 B2号专利,名为“用于增强态势感知无线车辆系统”
根据美国第10878699 B2号专利申请,在名为“增强态势感知无线车辆系统”的文件中,苹果汽车可能包括向司机发送警报的新方法。
根据这项专利的描述:“系统可以向车辆司机发出警报,并且可以根据附近车辆的位置、车辆类型信息以及关于司机附近交通的其他信息来采取其他适当的行动。”该专利的插图包括可能发送给司机的警报,包括“救护车现在靠边停车”和“警示车辆右转通过”。
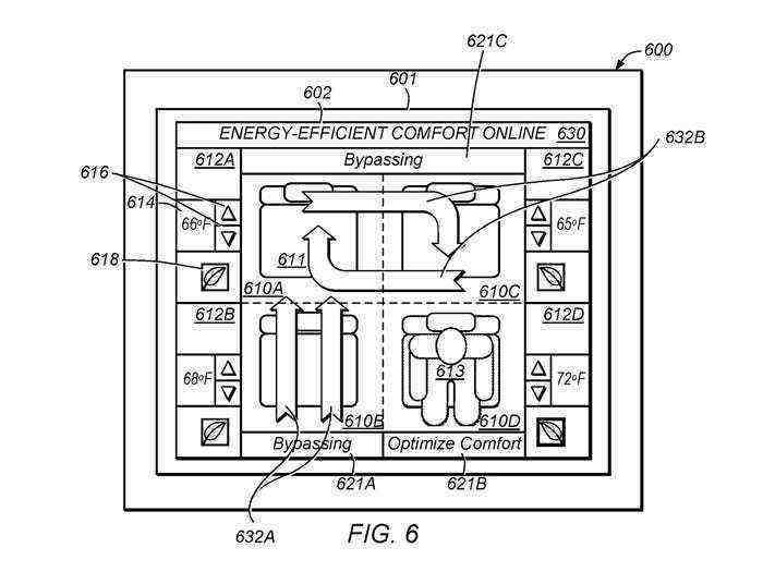
新的空调控制系统

图6:插图来自美国第10875380 B2号专利,名为“空调控制”
根据美国第10875380 B2号专利申请,在名为“空调控制”的文件中,苹果称其汽车可能包括新的空调控制方法。该专利详细介绍了能在多种情况下确定“最佳舒适条件”的方法,将包括各种控制空调的车辆部件,包括车窗组件、天窗组件等,并可以根据司机或乘客身体各部位的感知温度进行调节。
史海拾趣
|
RT! 要求:使用亿道XSBASE255开发板,在eMbedded Visual C++ 4.0、Platform Builder 4.2开发平台上,软件环境在wince下的串口助手的软件开发。有意者请加QQ943486228,JQ好商量。… 查看全部问答> |
|
在LINUX 0.11内核原代码中,如何实现显示字符? __asm__(\"movb _attr,%%ah\\n\\t\" \"movw %%ax,%1\\n\\t\" ::\"a\" (c),\"m\" (*(short *)pos) &nb ...… 查看全部问答> |
|
EVC下的文件操作,文件明明存在,但是打开时提示文件不存在????? 建立文件: void TestWenJian::OnButton2() { // TODO: Add your control notification handler code here CString strtxt; & ...… 查看全部问答> |
|
见许多问这个问题的,总结一下,希望能对大家有点用处,如果有不对的地方,欢迎指出. 芯片外部引脚很多都使用inout类型的,为的是节省管腿。一般信号线用做总线等双向数据传输的时候就要用到。 先送上一个表格吧, ...… 查看全部问答> |
|
香版主,可以用STM32F103VD代替STM32F103VB吗,我的RAM不够用了 只是STM32F103VB的RAM不够用了,别的都不动,也不改程序,可不可以直接用STM32F103VD代替STM32F103VB呢,所有的管教是否向下兼容?我直接换片子就行吗,还有什么要注意的吗?谢谢你一年来回答了我这么多的问题,谢谢了。… 查看全部问答> |
|
本帖最后由 yuanlai2010 于 2014-7-10 19:22 编辑 S3C2416裸机开发环境 参与Helper2416开发板助学计划心得 S3C2416开发环境: 开发平台:CentOS 6.5(在windows下通过SSH远程登入CentOS主机进行操作) 实验室有一台CentO ...… 查看全部问答> |




