历史上的今天
今天是:2025年01月31日(星期五)
2021年01月31日 | 苹果Apple Watch新专利解密:可通过电池震动来提供触觉反馈
2021-01-31 来源:IT之家
据外媒 appleinsider 报道,苹果正在研究如何使 Apple Watch 的电池移动,以便向佩戴者提供触觉反馈。

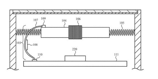
苹果最新公布了一份 “带有移动电池元件的触觉设备的便携式电子设备”专利,专利申请说:
一般来说,电子设备包括一个或多个用于提供输入的按钮或机电开关。某些设备包括用于接收输入的触摸传感器或触摸屏。但是,触摸传感器通常缺乏机械反馈来警告用户输入已经被响应。
本专利针对一种触觉设备,能够移动其电池元件以便沿着设备的外表面产生触觉上可感知的脉冲或振动。

从专利图中可以看出,该专利利用电池在弹簧之间的震动来制造触觉反馈,目前尚不清楚该方法是否能达到 Apple Watch 所要求的触觉反馈级别。
IT之家了解到,目前的 Apple Watch 是采用 Taptic Engine(触觉引擎)来实现触觉反馈,需要占用很大一部分空间,如果能由电池震动来替代,那么将有望增大电池容量,继而提升续航时间。
史海拾趣
|
Fairchild Highlights Energy-Efficient Lighting Solutions Fairchild Highlights Energy-Efficient Lighting Solutions Fairchild Semiconductor highlighted its LED lighting solutions at PCIM Europe. Fairchild will also feature its leading power technologies and application demos that highligh ...… 查看全部问答> |
|
急需可以仿真RTL8019AS的ProteUS软件,要有license,能仿者立马兑现100分。可以测试的样例是ProteUS安装目录的“SAMPLES\\Interactive Simulation\\Ethernet Samples”的PICDEMNET.DSN,我的7.1sp2一点启动仿真按钮就自动退出。… 查看全部问答> |
|
Arm2410 : jump to ram? how to? 好困惑啊!!!!求助大家了 ARM boot loader 的一段代码,如下 jump to ram 是怎么保证的呢? =on_the_ram 是开始的那个‘steppingstone’缓存区 还是 SDRAM 的地址? 请教大家,谢谢 bl copy_myself @ jump to ram&nb ...… 查看全部问答> |
|
#include #include #define LEN sizeof(struct node) typedef void (*FUNC)(); struct node { FUNC address; }; void yemian_1(void) { printf(\"1111\"); } void yemian_2(void) { printf(\"2222\"); } void yemian_3(void) { ...… 查看全部问答> |
|
本帖最后由 paulhyde 于 2014-9-15 09:25 编辑 最近在做信号放大类的题目,发现以前用的电源稳压芯片如7805,7812,7815等这些线性稳压芯片的噪声很大,很容易干扰到信号。请问大家如何制作一个低噪声的电源? … 查看全部问答> |




