历史上的今天
今天是:2025年02月27日(星期四)
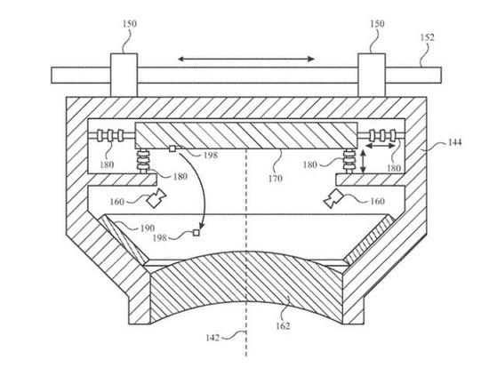
2021年02月27日 | 苹果Apple Glass新专利曝光:可侦测声音方位、自动清洁镜片
2021-02-27 来源:IT之家
苹果的 Apple Glass 智能眼镜此前已经公布了多个消息,苹果公司也申请了众多专利。外媒 appleinsider 消息,苹果最新的专利中展现了 Apple Glass 使用麦克风阵列探测声音方位的方法,另一项专利还曝光了苹果眼镜的自动清洁功能。

根据专利图片,眼镜正面以及头带上均配备大量麦克风,可以侦听不同方位的声音,从而在头戴显示装置上定位声音来源。专利中没有说明这项功能的具体应用,外媒表示或许可以配合 Apple Tag 蓝牙追踪器来寻找物品。

第二项专利为自动清洁 Apple Glass 镜片的装置。根据描述,该设备通过机械振动来清除头戴显示器 / 眼镜镜片表面的灰尘、碎屑等杂物,避免影响显示效果。苹果表示,在高分辨率显示设备上,异物和灰尘对显示效果的影响十分大。此外,残留在镜片表面的灰尘和异物,会磨损以及腐蚀镜片,时间久了之后会更难以清除,或聚集在设备更深处。
IT之家获悉,有产业链消息称苹果 Apple Glass AR 眼镜已经进入研发的第二阶段,将经历 6-9 个月的工程验证期。在这期间,制造商将专注于优化设别重量和电池续航能力。
史海拾趣
|
protues元件库 立元件库元件名称及中英对照 AND 与门 ANTENNA 天线 BATTERY 直流电源 BELL 铃,钟 BVC 同轴电缆接插件 BRIDEG 1 整流桥(二极管) BRIDEG 2 整流桥(集成块) BUFFER 缓冲器 BUZZER 蜂鸣器 CAP 电容 CAP ...… 查看全部问答> |
|
EVC下: typedef struct { TCHAR id1[200]; TCHAR id2[200]; TCHAR id3[200]; TCHAR id4[ ...… 查看全部问答> |
|
我现在想用富士通的视频叠加MB90092芯片子屏显示功能,主屏可以正常显示。 子屏显示的字符为一段乱码,代码如下: void MB90092_DisChar (UCHAR x,UCHAR y,int addr,UCHAR mul,UCHAR bc,UCHAR cc,UCHAR ff) { ...… 查看全部问答> |
|
在电源设计模块中,我参考的是TI的设计电路,两块电源芯片采用的是同样的型号,外围电阻和电容值是用同样的公式计算出来的,为什么一个可以正常输出,另一个几乎没有电压输出呢?哪位大虾知道的话告诉小弟一下,不甚感激。… 查看全部问答> |
|
是不是所有c8051f系列单片机(内部自带温度传感器),ADC在左对齐,单端方式下产生的代码与输入电压的关系都是这个方程式:CODE=Vin*(Gain/Vref)*2^16。还有输出电压与温度的关系式怎么有两个,Vtemp=2.5mV/C*Temp+0.603V和Vtemp=2.86mV/C*Temp+0. ...… 查看全部问答> |
|
【TI原创】基于LM3S8962的网络收音机(五) --- PC端发送程序 为了配合LM3S8962+VS1053的调试,从网上下载并修改了一个发送文件的程序,用来完成: 1. 网络下载存储播放; 2. 网络实时播放 为进一步实现网络收音机的功能打下结实的基础。 代码功能简单,如下所示: # ...… 查看全部问答> |




