历史上的今天
今天是:2025年03月02日(星期日)
2021年03月02日 | 解密厦门天马AMOLED显示装置黑科技
2021-03-02 来源:爱集微
在目前的中小尺寸显示市场,尤其是中高端移动终端消费类显示产品,AMOLED显示逐渐开始展露优势。据了解,厦门天马已经完成了第六代AMOLED生产线项目,其在AMOLED显示领域的竞争力得到进一步增强。
在现有的显示面板体系中,一个较难解决的问题是在屏占比增大的同时避让摄像头和传感器,并通过AMOLED技术提高发光效率。目前的一种异形屏,可以把前置摄像头以及传感器位置的屏幕挖空,或者设置开口,以避让上述部件,如图1所示。然而当显示画面时候,这一开口位置不能显示图像,会导致图像缺失,影响使用效果。

图1 现有技术的显示装置
基于这一背景,厦门天马微电子公司于2019年1月31日申请了一项名为“显示面板、显示装置及显示面板的制作方法”的发明专利(申请号:201910100174.8),申请人为厦门天马微电子有限公司。

图2 本发明提供的显示面板
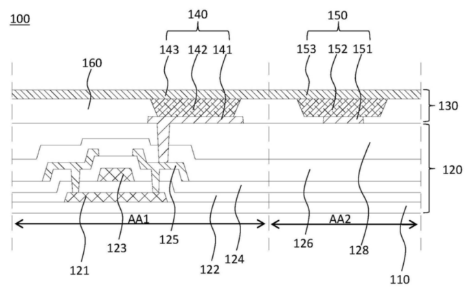
参考图2,本发明提供的显示面板包括显示区AA和非显示区NA,其中显示区AA包括第一显示区AA1和第二显示区AA2。衬底110由诸如玻璃、聚碳酸酯(PC)或玻璃纤维增强塑料(FRP)等聚合物材料形成。基板中通常有缓冲层,多层无机、有机层层叠结构,防止湿气或杂质通过基板扩散,并且在基板的上表面上提供平坦的表面。

图3 显示面板俯视结构图
图3展示了AMOLED显示面板的详细俯视结构图,其中阵列层120位于衬底110上,包含多个薄膜晶体管构成像素电路,控制发光器件。阵列层120中的有源层121、源极区域和漏极区域可用于形成薄膜晶体管,源/漏电125分别通过接触孔电连接(或结合)到源极区域和漏极区域,接触孔则是通过选择性地去除两端绝缘层来形成。
显示面板100还包括位于阵列层120背离衬底110一侧的发光功能层130,包括AMOLED发光单元140和PMOLED发光单元150。其中,AMOLED发光单元140设置在第一显示区AA1,PMOLED发光单元150设置在第二显示区AA2,包括层叠的阳极、有机发光层和阴极,二者共同沿行方向和列方向排布在显示面板100所在平面上,形成发光单元阵列。
此外,发光单元的有效发光面积为发光材料与阳极、阴极交叠的区域,因此PMOLED发光单元发光面积小于AMOLED,而第二显示区AA2为透明显示区,可以通过外界光源补偿由于发光单元的发光面积减小造成的亮度损失的问题。由此进一步保证第二显示区AA2具有足够透光率,这样不仅可以减小对第二显示区AA2中的感光器件的干扰,还可以使第一有机发光层142与第二有机发光层152共用同一个掩膜版形成,在保证第二显示区AA2具有足够透光率的同时简化工艺。
简而言之,厦门天马微电子的AMOLED显示面板发明专利,提供了一种新型的显示装置,通过采用精巧的结构排布AMOLED和PMOLED发光单元,可以在提高屏幕屏占比的同时提升显示效果,从而增强了用户体验。
随着半导体和材料领域不断深入创新,显示面板也迎来了一波波转型的热潮,能够在提高发光效率同时给予用户更佳的使用体验。在终端厂商的各项研发投入竞赛中,厦门天马微电子在新型AMOLED显示市场也不甘落后,相信这一项项实验室中的技术能在不久的将来应用到我们日常生活中。
史海拾趣
|
摘 要: 介绍一种运用 PIC16F84单片机实现与PC机串行通信的方法,并给出其硬件接口电路及通信源程序。 1 前言 美国 Microchip 公司的 PIC16 系列单片机是一种新型的 CMOS 工艺的 8 位单片机。其中, PIC16FXX 单片机的程序存储器为电可擦除闪速存 ...… 查看全部问答> |
|
【求助】请教一个最最简单的关于PIC12C508单片机如何使用的问题…… 由于最近要试着用PIC12C508单片机做点东西,就在mplab上先仿真玩玩。这才发现自己居然连最最基本的“点灯一个led灯”都完成不了…… 还请坛子里的老鸟们指教一下,这对于你们来说可能就是几秒钟的事情,而我却卡在这里大半天了…… &nbs ...… 查看全部问答> |
|
我安装完Quartus 8.0后(已成功破解),利用其自带的IP生成工具生成了一个三速度以太网的IP核,同时生成了仿真文件,当我打开仿真工具Questasim运行生成的仿真脚本文件时,开始正常,当执行到do mac_wave.do时 生成波形文件变得非常慢,而且信号是 ...… 查看全部问答> |
|
本人从事PCB设计三年,现在转做业务,希望能在这里面认识 一些朋友 ,QQ520122524 SKYPE :xcq185388740 MSN:xcq185388740 @live.cn 提供点资料给你们 [ 本帖最后由 xcq185388740 于 2011-7-14 11:17 ...… 查看全部问答> |
|
本人在做关于DSP28035的芯片,在实验配置时钟的时候波形不对。所以下面我想用DSP控制TOPWAY的液晶屏无法成功! DSP+12M的晶振,晶振旁边的电容15pf. 出来波心是这样: ...… 查看全部问答> |
|
我在做booloader加入sb.xcl文件之后出现了Fatal Error[e72]: Segment IEEE_ADDRESS_SPACE must be defined in a segment definition option (-Z, -b or -P) 错误请问这个是什么原因呢? [ 本帖最后由 wateras1 于 2013-2-25 15:10 编辑 ]… 查看全部问答> |
|
本帖最后由 paulhyde 于 2014-9-15 04:04 编辑 南华大学黄智伟 好的系统设计方案是取得好的竞赛成绩的保证 … 查看全部问答> |
|
上周收到了申请的样片MB85RS64,这几天一直在准备芯片的烧写工作,由于我所在的单位是烧写器厂商,所以申请样片一方面是做FRAM烧写的支持工作,另一方面也和常规的SPI接口串行flash芯片做个比较。新产品支持4颗芯片同时烧写,所以申请了4颗样片,下 ...… 查看全部问答> |




