历史上的今天
今天是:2025年03月08日(星期六)
2021年03月08日 | 苹果屏下光学指纹传感器,指纹读取更为可靠
2021-03-08 来源:爱集微
近日,苹果分析师表示,苹果正在考虑为新iPhone增加显示屏内Touch ID功能。在Face ID不是最佳状态的情况下,辅助Touch ID选项将非常有用。苹果正在使用重新设计后的光学传感器进行屏内指纹读取,比超声波解决方案更可靠。
指纹感测和匹配是用于个人识别或验证的可靠且广泛应用的技术。对于便携式通信设备中的验证和/或认证而言,光学指纹传感器可能特别有利。但光学指纹传感器也面临着一些挑战,一方面玻璃空气界面在小面积匹配时不足够稳定, 另一方面,使用互补金属氧化物半导体的大面积传感器不节省成本。不同的反射光线在不同角度的分隔是另一个挑战,因为许多照明图案必须用于分隔反射光线,这会导致图像捕获时间较长。
为此,苹果于2019年8月29日申请了一项名为“具有NFV准直器和TFT/有机成像器件的屏下光学指纹传感器”的发明专利(申请号: 201910812945.6),申请人为苹果公司。

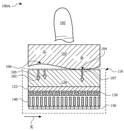
图1 屏下光学指纹传感器示例图
图1为屏下光学指纹传感器示例图。其中示出了屏下光学指纹传感器110的横截面视图以及人手指102。指纹传感器110包括透明层120、光学粘合剂层122、触摸显示层130、准直器层140和图像传感器150。透明层120可为玻璃盖或用于保护触摸显示层130的任何其他透明层,可经由光学粘合剂层122附接到触摸显示层130。触摸显示层130对于从触摸表面到下层的反射光为透明的,可由有机发光二极管(OLED)制成。OLED包括发射电致发光层,该发射电致发光层为响应于电流发射光的有机化合物的膜。而该有机化合物层位于两个电极之间,其中至少一个是透明电极。触摸显示层130可发射光对触摸表面进行照明。准直器层140是指纹传感器110的重要部件,可使触摸透明层120的手指表面的区域与在图像传感器150(基于TFT的有机成像器件)上形成的对应图像的区域之间形成一对一的成像比率。。
手指102可以认为是垂直手指,当触摸指纹传感器110时,该手指将脊区域104和谷区域106呈现到透明层120。在谷区域106中,由触摸显示层130发射的光可作为镜面反射部件103从透明层120的顶部表面处的玻璃空气界面反射,或者进入手指并反射回在手指组织内作为反射部件105的某个点处。在脊区域104中,由触摸显示层130发射的光可从手指102作为反射部件107的触摸表面进行反射。当手指润湿时,透明层120的顶部表面与手指102的谷区域106之间的空间可用汗液填充,从而得到附加的镜面反射部件。另一方面,当手指干燥时,可在脊区域104中产生附加的镜面反射。
简而言之,苹果的屏下光学指纹传感器专利,通过准直器准直反射光,能够使在触摸透明层的手指表面的区域与在像素化图像传感器上形成的对应图像的区域之间实现一对一的成像比率。
苹果是全球IT行业的领导者,追求精益求精。苹果多年来的经验和技术积累,使得苹果具有极强的创新能力,走在科技的前沿,改变人类的生活。未来苹果公司依旧会持续创新,不断带给用户意想不到的惊喜。
史海拾趣
|
本帖最后由 jameswangsynnex 于 2015-3-3 20:01 编辑 AVS标准于2006年3月正式被批准为国家标准。由于具有较高的编码效率和较低的专利费用,因而在国内市场受到部分运营商的青睐。目前,AVS正在被中国网通在其IPTV试验中使用,该公司计划今年在大连 ...… 查看全部问答> |
|
我在资源视图下点右键,插入activex控件,插入的是注册在pc上的空间,在ppc上无法使用。我该如何正确插入注册在ppc下的webbrowser控件? … 查看全部问答> |
|
c51程序。。。哪位高手能帮我找出错误?我自己编的三个灯的定时程序,可是只有2个两个闪烁。。。。。 ORG 0000H ; AJMP START ; ORG 000BH ;定时器0的中断向量地址 AJMP TIME0 ;跳转到真正的定时器程序处 ORG 0030H ; START:MOV P1,#0FFH ;关所有的灯 MOV 30H,#00H ;软件计数器预清0 MOV TMOD,#01H ;定时/计数器0工作于方式1 MOV TH0,#3CH ; ...… 查看全部问答> |
|
C2000晒晒 + LSD_MiniStick+核心板仿真器原理图 利尔达的 LSD_MiniStick,PICCOLO迷你仿真套件某一年的TI MCU DAY上送的分核心板的仿真器两部分XDS100仿真器核心板 28027,手机的相机不是很好,点击查看大图,勉强能看出28027的字样 [ 本帖最后由 juring 于 2011-11-25 22:51 编辑 ]… 查看全部问答> |
|
nr_ti坛友在站内短消息中,跟我讨论关于430仿真器的问题,由于有附件需要上传,所以我在论坛上发帖回复。问题描述:\" 将msp430连接仿真器,需要引出哪些引脚?\"MSP430是通过JTAG来进行调试的,下面的内容就是JTAG的讲解。不算上供电,其实就是5 ...… 查看全部问答> |
|
折腾了 好几周了 现象是: RTC_WaitForLastTask(); RTC_EnterConfigMode(); RTC_ITConfig(RTC_IT_ALR, ENABLE); //RTC报警中断 RTC_ExitConfigMode(); RTC_WaitForLastTask(); void RTC_ITConfig(u16 RT ...… 查看全部问答> |




