历史上的今天
今天是:2025年03月09日(星期日)
2021年03月09日 | 歌尔TWS耳机又创新高
2021-03-09 来源:爱集微
近年来,随着苹果Airpods的带动,整个蓝牙耳机行业向TWS无线耳机转型。TWS蓝牙耳机产业一直处于产能增量的状态,市场需求也是稳步前进。歌尔等企业能否在这一行业突出重围,再创辉煌?
为提高用户的体验感,现有的TWS耳机基本上都会具备出盒检测功能,常见的检测方式有两种,第一种是充电盒和耳机本身有通信功能,盒子开盖通过本身的机械开关或者霍尔sensor进行检测,再通过通信Pin告知耳机,这种设计本身的成本非常高,结构设计也相对复杂,而且当充电盒完全没有电的时候,就无法完成出盒检测;另外一种是在耳机上增加光感sensor,当充电盒被打开时,光感sensor感知外界环境来判定开盖动作,这种方案也是成本高,结构设计较第一种方案更复杂,并且在周围环境光线比较暗时,很容易造成光感sensor无法判定开盖动作。
为此,歌尔于2020年2月28日申请了一项名为“一种TWS耳机及其出盒检测装置、方法及系统”的发明专利(申请号: 202010130091.6),申请人为歌尔股份有限公司。

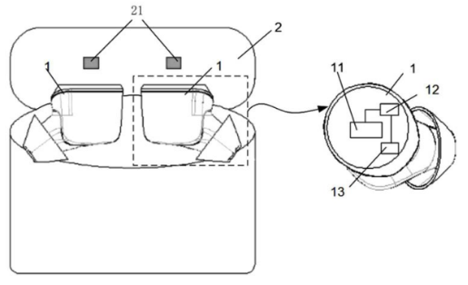
图1 TWS耳机出盒检测装置结构示意图
图1为TWS耳机出盒检测装置的结构示意图。包括耳机壳1内侧的压力传感器11、与压力传感器11连接的检测电路12和与检测电路12连接的处理器13。检测电路12能够检测压力传感器11的阻抗信息,并依据阻抗信息得到检测信号;处理器13能够依据检测信号及预设条件进行TWS耳机出盒检测。还包括充电盒盖2内侧与耳机壳1对应位置处的凸起部21,能够使耳机放置在充电盒内并且在合上充电盒盖后,使凸起部按压在对应耳机壳1的压力传感器11上。
处理器13能够根据检测电路12生成的检测信号及预设条件确定TWS耳机出盒状态,检测电路12及处理器13可以设置在耳机上,具体可以根据耳机内部的实际空间进行设定。具体方法如下,由于在将耳机放置在充电盒内时,充电盒盖2关闭后,凸起部21将按压在压力传感器11上,从而产生一定的阻抗信息,当充电盒盖打开后,凸起部21离开压力传感器11,即压力传感器11将不受凸起部21的按压,此时压力传感器11的阻抗信息将为零,因此,检测电路12能够通过检测到的压力传感器11的阻抗信息得到对应的检测信号,并将该监测信号发送至处理器13,处理器13根据接收到的检测信号及预设条件即可实现对TWS耳机的出盒检测。
其中预设条件包括预设在盒条件和预设出盒条件,当在检测信号满足预设在盒条件时,确定出TWS耳机处于在盒状态,当检测信号满足预设出盒条件时,确定出TWS耳机处于出盒状态。进一步理解为处理器13能够在检测信号处于预设范围内、且持续时长达到预设时长时,确定出TWS耳机处于在盒状态;在当前时刻检测信号为零、且上一时刻TWS耳机处于在盒状态时,充电盒为开盖动作,确定出TWS耳机处于出盒状态。
简而言之,歌尔的TWS耳机出盒检测专利,通过对压力传感器的阻抗信息进行检测,在实现了TWS耳机出盒检测功能的基础上,解决了结构设计复杂、成本较高的问题。
歌尔股份是中国电声行业龙头企业,并且最早涉足于TWS耳机代工,是苹果AirPods的核心代工商,目前在TWS耳机代工业务上已经拥有成熟产线,同时在人力成本、基础设施上有巨大优势,展望未来,歌尔将继续提升技术能力,进一步扩大代工市场。
史海拾趣
|
在快节奏的现代化钢筋水泥的生活中,人们总是需要在生活中添加一些清新、几分自然。在家里种植些花草可以调节人们的精神压力、陶冶情操。可是往往由于工作太过繁忙而忽略了家中的花草,常常将它们冷落在一边。 那么你想过将自己种植的花草随身携 ...… 查看全部问答> |
|
打开开发机电源,出现: 1. Boot CE/PC (local nk.bin with /L:1024x768x32) 2. Boot CE/PC (ether via eboot.bin with /L:1024x768x32) 3. Boot CE/PC (ether via eboot.bin with /L:800x600x32) 4. Boot CE/PC (ether via eboot.bin with ...… 查看全部问答> |
|
我想改行作单片机,不知道行不行?望各位指点还有和我一样想法的进来聊聊 我看了个网站卖试验板 号称30分钟让你学会 我想买不知道真的假的, 198元可拥有单片机编程、实验、开发板,含数据线、光盘(仿真、开发、编译、烧录等软件)http://www.51dz.com/n.asp?id=12552&i=yinkehui … 查看全部问答> |
|
历史:与摩托罗拉的过往 飞思卡尔是摩托罗拉电子部分拆出来的。1999年8月,摩托罗拉的半导体部门中,将分立器件,标准的模拟和数字器件剥离出来,这家公司就是安森美。2003年10月,半导体电子部分剩下的部分整合为飞思 ...… 查看全部问答> |
|
那位大侠教一下G2553如何实现ADC多通道转换。ADC10是不是将转换结果存放在ADC10MEM中?那多路转换时,后面转换得来的数据不是会把前面得来的数据覆盖?这样如何得到多路AD的转换数据呢?求高手指点,最好能有个C程序… 查看全部问答> |
|
在网上找了代码,然后根据硬件电路改了数据地址和指令地址,下载后没有显示,调后了一个星期,问问有没有液晶调试经验的指点或一些思路。… 查看全部问答> |




