历史上的今天
今天是:2025年03月09日(星期日)
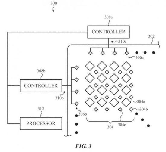
2021年03月09日 | 苹果新专利:能将Touch ID与Face ID整合到屏幕下方
2021-03-09 来源:cnBeta
在苹果最新获批的一项技术专利中,展示了屏幕检测光线的技术细节。该技术专利可能帮助苹果将 Touch ID 指纹传感器和 Face ID 面部识别传感器整合到屏幕下方,从而取消目前 iPhone 机型中的刘海区域。
在技术专利名称为“用于检测电子设备显示屏发光层所受光线的传感系统”,简而言之,苹果计划在显示屏下方嵌入一个光线检测传感器,该传感器可用于 Face ID 以及 Touch ID。

该公司分享了该技术的两种潜在实现细节。在第一种情况下,显示屏背后的光线传感器可以组合出触摸屏幕的物体的图像。这暗示了Touch ID的回归。除此之外,苹果专利中还提到了使用环境光传感器进行操作。第二种实施方式将使用光电二极管或太阳能电池阵列来组装图像的像素。此外,该系统将积累来自光电二极管的电信号,以感知光的强度以及颜色。第二种实现方式指向Face ID,它可能会在未来的 iPhone 迭代中出现。
需要注意的是,苹果公司申请了很多专利,不一定所有的专利都能商用。然而,该专利确实让人看到了该公司的未来前景和该技术的潜在引入。
史海拾趣
|
作者:从11月初回到深圳,就开始着手找工作,拖到05年1月,80天的奔波和忐忑不安的心理终于告一段落。期间面试了好几家公司,有惊喜有失望有抱怨甚至对自己的怀疑,但是我顽固的执着终于有了回报,得到了想要的工作。其中的甘苦与大家分享、共勉, ...… 查看全部问答> |
|
能否让Nk.Nb0的大小自动变化? 现在我的NK.NB0大小都一定会等于config.bib文件中定义的大小。 里边的ROMSIZE等于多大,NK.NB0就一定是多大。 请教… 查看全部问答> |
|
最近写了个应用程序对数据总线上的数据进行操作,关于物理地址和虚拟地址的映射我知道 假设*vi_adress为映射好的虚拟地址 先是写操作 *vi_adress=tmp (tmp是数据) 这个操作是成功的 现在我想读取外面从过来的数据 tmp=*vi_adress& ...… 查看全部问答> |
|
Wince 5.0 如何实现 AlphaBlend? Requirements OS Versions: Microsoft? Windows CE? 5.0 and later. Header: Windows.h. Link Library: Coredll.lib. 加入以上 lib后,编译仍出错。 应如何处理,找了些算法来代替,但速度太慢。 谢谢。… 查看全部问答> |
|
偶菜鸟, 问一个傻子问题,硬件中断如何跳转到软件代码 例如,我有一个键盘,按一下, CPU是如何通过中断服务程序跳转到程序中的代码中? … 查看全部问答> |




