历史上的今天
今天是:2025年03月15日(星期六)
2021年03月15日 | 华为无折痕式折叠结构 增加可折叠设备的使用寿命
2021-03-15 来源:爱集微
时间来到2021年,可折叠智能手机似乎已经成为一种常态化的智能手机配置,人们对此的态度,从可折叠设备刚面世时的惊叹,到现在的习以为常,甚者,也有对可折叠设备因设计缺陷而带来的吐槽。
目前,随着有机发光半导体(OLED)材料的柔性面板逐步商用化,可折叠设备成为各大手机厂商的创新方向,目前常用的设计是将一块柔性面板附在两个通过连接机构连接的支撑模块上,从而实现折叠和展开。
这种设计虽然可以实现折叠,但是频繁的折叠会导致柔性面板相对支撑模块产生滑动,而且柔性面板也由于经常受到拉伸和挤压而导致屏幕功能失效。
为此,华为在2019年1月3日申请了一项名为“一种可折叠的终端设备”的发明专利(申请号:201910010463.9),申请人为华为技术有限公司。
该专利发明了一种新型的可折叠设备的折叠结构,根据该专利目前公开的相关资料,让我们一起来看看这项可折叠设备结构吧。

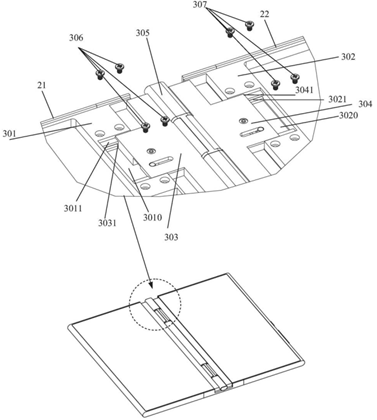
如上图,为该专利中发明的可折叠智能手机的示意图,其结构包括可折叠的柔性面板10、第一支撑构件21、第二支撑构件22和连接结构30。其中,柔性面板分为第一显示区域101、弯折区域102和第二显示区域103,弯折区域位于中间,用于实现智能手机的折叠功能。
第一支撑构件与第一显示区域固定,用于支撑该显示区域,同理,第二支撑构件也支撑着第二显示区域。两个支撑构件通过连接机构相互连接,连接机构具有滑动功能,这也是为了实现手机的折叠功能,提供弹性距离用于手机的折叠。
可以看到,该专利中提供的方案,主要是对于显示区域和弯折区域做了分离,从而避免了可折叠设备因为多次折叠后导致柔性面板发生折痕以及失效的问题。当设备需要折叠或者展开时,支撑构件受外力作用驱动连接机构转动,带动柔性面板随着连接机构的转动而弯折成不同的角度,下面我们再来看看该装置具体的结构。

如上图,展示了连接机构30、第一支撑构件21和第二支撑构件22的连接关系,连接结构包括第一座板301、第二座板302、第一滑块303、第二滑块304和转轴机构305。在智能手机展开的过程中,第一滑块和第二滑块沿着相互远离的方向滑动;而在智能手机收缩的过程中,两个滑块会沿着相互靠近的方向滑动。通过两个滑块的相互配合,从而可以方便的进行折叠或展开,以此来有效的减少对可折叠智能设备的柔性屏幕的拉伸和挤压。
为了便于滑块的滑动,在该装置中还为滑块设置有第一滑道3010和第二滑道3020,分别用于第一、第二滑块在其中进行滑动,滑块的滑动方向与旋转轴大致垂直,其结构示意图如下:

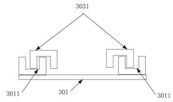
如上图,第一滑轨3031为底板固定于第一滑块303上的第一凹槽结构,滑槽也固定在座板的第二凹槽结构中,第一、第二两个凹槽之间相互嵌合,该结构可以使得滑轨在滑槽上滑动,进而让支撑构件在转轴弯折时可以产生伸缩位移。
以上就是华为发明的无折痕式可折叠设备专利,通过创新地将显示区域和弯折区域进行分离,增加了可调距的支撑构件结构,从而解决了以往折叠设备中因频繁折叠而导致的屏幕功能异常问题,带给用户更加优秀的折叠屏体验。
史海拾趣
|
1 插入损耗和滤波电路的选择 在用户选择滤波器时,最关心插入损耗性能。但是,往往插入损耗相近的滤波器,在实际运用中效果相差甚远。究其主要原因是,相近插入损耗的滤波器可由不同的电路实现。这和理论分析是吻合的,因为插入损耗本身是个多 ...… 查看全部问答> |
|
现在,我们有一款国产单片机,LS2051,和AT89c2051兼容,但是却高于at89c2051,不仅仅因为其速度快,更重要的是在于他内部能同时出来两个通道的程序,故而称之为双核单片机。 现在在我们的光影棒的diy活动中,我们根据要求,设计了一款基于LS2051 ...… 查看全部问答> |
|
【现金1万】求深圳单片机高手解决个小问题 项目很简单。 就是在PC端用软件发命令给单片机控制手机按键。 例如, 1.把手机按键盘的每根线0-9等用飞线的办法连接出来。 2.在pc端点击拨打10086,则传输此任务给单片机, 3.单片机翻译为:接通1号 ...… 查看全部问答> |
|
由于数据总线宽度设置为 16 位。因此应将LPC2200 外部存储器的引脚地址输出线[A1~A20]与 SST39VF160 芯片的[A0~A19]连接,其 物理地址访问范围为:0x80000000—0x801FFFFF。 在资料上看到这句话,还是没搞清为什么寻址16位就要LPC2200的A0不连 ...… 查看全部问答> |
|
WINCE设备通过async与pc机连接,CE端如何知道已经连接上,是否可用RAPI得知? 在PC机端用VC6.0调用RAPI函数,可以通过CeRapiInit()或CeRapiInitEx()函数知道是否与CE设备已经正常连接上,但是我把这段代码该写到EVC上,编译怎么都通不过(已经加了Rapi.h和Rapi.lib文件),后来上网得知RAPI是给PC端用的,不知道是不是这样的, ...… 查看全部问答> |
|
Vmware中搭建VxWorks环境失败, 估计是下载的AMD PC NET网卡驱动有问题? Vmware中搭建VxWorks环境失败, 估计是下载的AMD PC NET网卡驱动有问题: 从AMD网站上下载的驱动vxworks_end.exe,2次解压后得:License.txt ln97xEnd.tar vx.doc, 装好WINDRIVER.TORNADO.V2.2.FOR.PENTIUM.CD1.ISO,WINDRIVER.TORNADO.V2.2.FOR.PENTI ...… 查看全部问答> |




